Lucci decor 269436 Helix 3 Light Floor Lamp

Warranty
- This portable luminaire is covered by a 12-month warranty valid for in-store replacement or refund only.
- The warranty period starts from the date of purchase. Please retain the proof of purchase.
- Warranty will be void if there is any damage due to improper usage or modification to the portable luminaire.
- Failure to comply with the instructions in this manual may increase the risk of damage or injury and will void the warranty.
Installation Requirements
- Select a suitable location for this portable luminaire:
- Ensure it is on a flat and stable surface.
- This portable luminaire is suitable for indoor use only.
- Do not place flammable material near or over the portable luminaire.
- Ensure the portable luminaire is not installed in the direct line of an air vent/system.
- If the portable luminaire is placed in an area prone to moisture, ensure that the area is well ventilated, and an appropriately rated exhaust fan is used if required. Damage or corrosion caused by moisture is not a product fault, and as such is not covered under warranty.
- Do not exceed the maximum wattage rating. This luminaire must be used with LED lamps only.
- Take care not to pull any electrical wires during unpacking as this may damage the connection.
- Lay out all the components on a smooth surface and make sure no components are missing before assembling. If parts are missing, return the complete product to the place of purchase for inspection or replacement.
- Check whether the luminaire has been damaged during transport. Do not operate/install any product which appears damaged in any way. Return the complete product to the place of purchase for inspection, repair or replacement.
- Do not plug into the mains power socket-outlet before or during assembly. Only do so after the portable luminaire is fully assembled with the globe installed and is ready to use for the first time.
Installation Directions
- 1. Remove all packaging material from the portable luminaire. Place the luminaire on a smooth non-scratch surface to help with assembly.
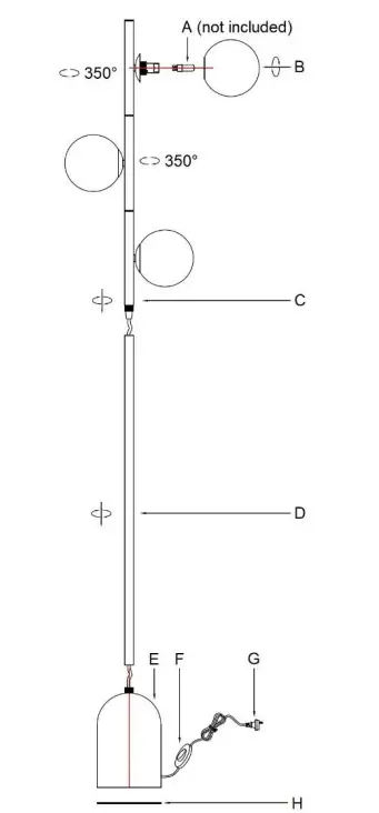
- Attach the top section (C) of the luminaire onto the bottom section (D) of the luminaire. Install the bottom section (D) of the luminaire onto the luminaire base (E).
NOTE: Take care not to cross-thread or twist and damage the cord during assembly. Pull the cord out from the bottom of the luminaire base (E) as you assemble. Check the cord after every three turns when installing the bottom section (D) onto the luminaire base(E). Relieve any twist in the cord by turning it anti-clockwise. - Install the cover (H) onto the luminaire base (E).
- Install LED lamps (A – not included) into the lamp holders. Do not exceed the maximum wattage rating.
NOTE: This luminaire must be used with LED lamps only. - Install the shades (B) onto the lamp holders and ensure they are attached securely.
- Select a suitable location for the portable luminaire. See the installation requirements above.
- Only the top two shades are adjustable. Rotate/twist the shade to your desired angle.
NOTE: Do not rotate/twist the shade more than 350, as this may damage the joint or the internal wiring. - Insert the plug (G) into the mains power socket outlet and ensure it is fully plugged in.
- Turn the power on at the mains power socket outlet.
- Use the cord line foot switch (F) to turn the portable lamp on/of.

Safety Tips
- Always ensure the power is OFF and the portable luminaire has cooled down before performing any maintenance, cleaning, changing the globes or making any adjustment to the portable luminaire.
- The external flexible cable or cord of this luminaire cannot be replaced; if the cable or cord is damaged, the luminaire shall be destroyed.
- Young children should be supervised to ensure that they do not play with the portable luminaire.
- Handle the portable luminaire and shade with care to avoid any damage or breakage.
- Select a suitable location away from liquids and hazards.
- To clean, wipe with a soft damp cloth. Do NOT soak or immerse the product in water or other liquids.
- Ensure that the fitting does not come in contact with corrosive chemicals/solvents or abrasive cleaners etc.
Specifications





















