VICTOR FLOOR LAMP
SKU# 269183
Rated Voltage 220-240V~ 50Hz
Installation Instructions
269183 Victor Floor Lamp
Thank you for purchasing this quality Lucci product. To ensure correct function and safety, please read and follow all instructions carefully before assembly, installation and use of this product. Please keep the instructions for future reference.
Warranty
- This fitting is covered by a 12 month warranty from the date of purchase. Please retain proof of purchase.
- Warranty will be void if there is any damage due to improper usage or modification to the fitting.
- Failure to comply with the instructions in this manual may increase the risk of damage or injury and will void warranty.
Installation requirements
- Select a suitable location for this light fitting:
– Ensure it is on a flat and stable surface.
– This product is suitable for indoor use only.
– Do not place flammable material near or over the fitting.
– Ensure the fitting is not installed in direct line of an air vent/system.
– If the fitting is placed in an area prone to moisture, ensure that the area is well ventilated and an appropriately rated exhaust fan is used if required. Damage or corrosion caused by moisture is not a product fault, and as such is not covered under warranty. - Do not exceed the maximum wattage rating.
- Take care not to pull any electrical wires during unpacking as this may damage the connection.
- Lay out all the components on a smooth surface and make sure there are no components missing before assembling.
If parts are missing, return the complete product to the place of purchase for inspection or replacement. - Check whether the fitting has been damaged during transport. Do not operate/install any product which appears damaged in any way. Return the complete product to the place of purchase for inspection, repair or replacement.
- Do not plug into the mains power socket outlet before or during assembly. Only do so after the portable lamp is fully assembled with the globe installed and is ready to use for the first time.
Installation directions
- Remove all packaging material from the product.
- To help with assembly, lay the fitting on its side on a smooth non scratch surface.
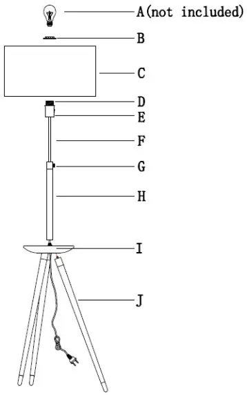
- Install the legs (J) onto the bottom of the base (I). Take care not to cross thread.
- Install the top part of the fitting (H) onto the base (I). Pull the cord out from the cord entry point as you assemble to remove any slack in the cord. Take care not to cross thread or twist and damage the cord.
- Remove the lamp holder ring (B) from the lamp holder (D).
- Install the shade (C) onto the lamp holder (D) and secure with the lamp holder ring (B).
- Adjust the height of the fitting by loosening the locking knob (G) first. While adjusting the height of the fitting, guide the cable in or out of the cord entry point to prevent damaging the cable. Never adjust the height of the fitting without first loosening the locking knob (G).
- After adjusting the fitting to the desired height, re-tighten the locking knob (G).
- Install a globe (A – not included) into the lamp holder (D). Do not exceed the maximum wattage rating.
- Select a suitable location for the light fitting. See the installation requirements above.
- Insert the plug into the mains power socket outlet and ensure it is fully plugged in.
- Turn power on at the mains power socket outlet.
- Use the switch (E) at the lamp holder (D) to turn the lamp on/off

NOTE: Do not place objects heavier than 2kg onto the base (I).
NOTE: The locking knob (G) must be loosened before adjusting the height of the fitting.
Safety tips
- Always ensure the power is OFF and the fitting has cooled down before performing any maintenance, cleaning, changing the globe or making any adjustment to the fitting.
- The external flexible cable or cord of this luminaire cannot be replaced; if the cable or cord is damaged, the luminaire shall be destroyed.
- To avoid injury or damage to the fitting, ensure that power leads and screws are secure before connecting the power.
- Young children should be supervised to ensure that they do not play with the portable lamp.
- Handle the fitting and/or shade with care to avoid any damage or breakage.
- Select a suitable location away from liquids and hazards.
- Ensure that the fitting does not come in contact with corrosive chemicals, etc.
- To clean, wipe with a damp clean cloth. Never soak the fitting with water.
Specifications
| SKU # | 269183 |
| Rated Voltage | 220-240V~ 50Hz |
| Rated Wattage | 60W Max. |
| Lamp Holder | ES / E27 |
| Weight | 3.3kg |
| Dimensions | Dia:450mm H:1330-1500mm (height adjustable) |
v 1 . 0

















