Lucci decor 271025 IRIS 1 Light Floor Lamp Instruction Manual

Installation Instructions
IRIS FLOOR LAMP SKU# 271025, 271026 Rated Voltage 220-240V~ 50Hz
Thank you for purchasing this quality Lucci product. To ensure correct function and safety, please read and follow all instructions carefully before assembly, installation and use of the product. Please keep the instructions for future reference.
Warranty
- This fitting is covered by a 12 month warranty from the date of purchase. Please retain proof of purchase.
- Warranty will be void if there is any damage due to improper usage or modification to the product.
- Failure to comply with the instructions in this manual may increase the risk of damage or injury and will void warranty.
Installation Requirements
- Select a suitable location for this light fitting;
- Ensure it is on a flat and stable surface.
- This product is suitable for indoor use only.
- Do not place flammable material near or over the fitting.
- Ensure the fitting is not installed in direct line of an air vent/system.
- If the fitting is placed in an area prone to moisture, ensure that the area is well ventilated and an appropriately rated exhaust fan is used if required. Damage or corrosion caused by moisture is not a product fault, and as such is not covered under warranty.
- Do not exceed the maximum wattage rating.
- Take care not to pull any electrical wires during unpacking as this may damage the connection.
- Lay out all the components on a smooth surface and make sure there are no components missing before assembling. If parts are missing, return the complete product to the place of purchase for inspection or replacement.
- Check whether the fitting has been damaged during transport. Do not operate/install any product which appears damaged in any way. Return the complete product to the place of purchase for inspection, repair or replacement.
- Do not plug into the mains power socket outlet before or during assembly. Only do so after the portable lamp is fully assembled with the globe installed and is ready to use for the first time.
Installation Directions
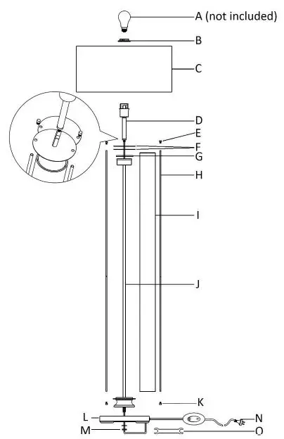
- Remove all packaging material from the product and lamp shade (C).
- To help with assembly, lay the fitting on its side on a smooth non scratch surface.
- Install the body (J) onto the base (L) and tighten the nut (M) with the included spanner (O). Pull the cord out from the base (L) as you assemble to remove any slack in the cord. Take care not to cross thread or twist and damage the cord during assembly.
- Install the glass (I) over the body (J) and place the ring (G) onto the top of the glass (I) followed by the two discs (F).
- Carefully install the lamp holder assembly (D) on top of the body (J) and the two side rods (H). Secure the two side rods (H) with the top and bottom screws (E & K), take care not to overtighten and crack the glass (I).
- Remove the lamp holder ring (B) from the lamp holder.
- Install the lamp shade (C) onto the lamp holder and secure with the lamp holder ring (B).
- Select a suitable location for the light fitting. See the installation requirements above.
- Insert the plug (N) into the mains power socket outlet and ensure it is fully plugged in.
- Turn power on at the mains power socket outlet.
- Use the cord line foot switch to turn the lamp on/off.

Safety Tips
- Always ensure the power is OFF and the fitting has cooled down before performing any maintenance, cleaning, changing the globe or making any adjustment to the fitting.
- The external flexible cable or cord of this luminaire cannot be replaced; if the cable or cord is damaged, the luminaire shall be destroyed.
- To avoid injury or damage to the fitting, ensure that power leads and screws are secure before connecting the power.
- Young children should be supervised to ensure that they do not play with the portable lamp.
- Handle the fitting and/or shade with care to avoid any damage or breakage.
- Select a suitable location away from liquids and hazards.
- Ensure that the fitting does not come in contact with corrosive chemicals, etc.
- To clean, wipe with a damp clean cloth. Never soak the fitting with water.



















