Installation instructions
10SQ050 Solar Panel PV System
Carefully read through these installation instructions before installing, operating or servicing PV system. Failure to follow these instructions may result in bodily injury or damage to property. Keep these instructions!
Working on a PV system (installation, setup, maintenance, repairs) must be carried out by qualified and authorized persons.
Warning
Danger of death from electric shock!
Solar modules generate electricity as soon as they are exposed to light. One module on its own is below the safety extra low volt level, but multiple modules connected in series (summing the voltage) or in parallel (summing the current) represent a danger. The following points must be observed when handling the solar modules to avoid the risk of fire, sparking and fatal electric shock.
- Do not insert electrically conducting parts into the plugs or sockets!
- Do not fit solar modules and wiring with wet plugs and sockets!
- Exercise utmost caution when carrying out work on wiring and safety equipment (use insulated tools, insulated gloves, ect.)!
- Do not use damaged modules! Do not dismantle modules! Do not mark on the rear of the module using sharp objects!
- Exercise utmost caution when working on wiring and the inverter. Be sure carefully to follow manufacturer’s installation instructions!
Danger of death from arcing
Modules generate direct current when light shines on them. An arc may be produced when connections are separated. We therefore recommended covering modules with a lightproof cloth during installation. When breaking a connected string of modules (e.g. when disconnecting the DC line from the inverter under load), a lethally strong arc can occur:
- Never disconnect the solar generator from the inverter while the inverter is connected to the mains grid-remove the fuse from the AC side on the inverter first!
- Ensure cable connections in perfect condition (no splitting, soiling or other contamination).
Unpacking the modules and storage
The utmost care is required when handling the modules, be careful when unpacking, transporting, and storing the modules:
- Transport modules in an upright position.
- Carry modules with both hands. Do not use the connection socket as a handle.
- Ensure modules do not bow under their own weight.
- Do not place modules on top of each other.
- Do not subject to load, do not stand on them.
- Do not mark using sharp implements.
- Keep all electrical contacts clean and dry.
If it is necessary to store the modules temporarily, a dry, ventilated room should be used.
General safety information
Ensure that the module is used only in applications for which it is suitable (see “Installing the modules”). All work on a PV system (installation, setup, maintenance, repairs) must be carried out only by appropriately qualified and authorized persons.
The appropriate DIN standards, construction rules and safety instructions are to be followed for installation.
The values of Isc and Voc marked on this module should be multiplied by a factor 1.25 when determining component voltage ratings, conductor current ratings, fuse sizes and controls connected to the PV output.
Refer to Section 690-8 of the National Electrical Code for an additional multiplying factor of 125 percent (80 percent derating) which may be applicable.
Installing the modules
When installing the modules, please pay attention to:
- Keeping within the maximum permitted load
The maximum load on the module must not exceed 2.4kN/m2. To avoid exceeding the maximum load, site-specific live loads such as wind and snow should be taken into account. - Environmental conditions
The module is intended for use in temperate climatic conditions. The module is “non-explosion-protected equipment”. Hence it must not be installed in the proximity of highly inflammable gases and vapors (e.g filling stations, gas containers, paint equipment).
The module must not be installed near to naked flames or flammable materials.
Do not expose modules to concentrated light sources.
It must not be immersed in water or constantly exposed to water (e.g. from fountains).
If there is exposure to salt (it is recommended that modules are installed at least 500m from the sea) and sulfur (sulfur sources, volcanoes).
There is a risk of corrosion. - Requirements of installation
Make sure the modules’ electrical performances in a system are the same. When connected in series, modules must all have the same amperage. When connected in parallel, the modules must all have the same voltage. Connect the quantity of modules that match the voltage specifications of the devices used in the system. The modules must not be connected together to create a voltage higher than the permitted system voltage.
To minimize risk in the event of an indirect lightning strike avoid forming loops when designing the system. Artificially concentrated sunlight shall not be directed on the module or panel.
Modules must not be fitted as overhead glazing. Ensure that the mounting system can also withstand the anticipated wind and snow loads.
Precipitation can run off through small openings on the back side of the module. Make sure that the openings are not masked after mounting. - Optimum orientation and tilt
To achieve the maximum annual yield figure out what the optimum orientation and tilt of the PV modules is. If sunlight shines vertically onto the PV modules you have the best conditions to generate maximum power. - Avoid overshadowing
Even the slightest partial shading (e.g. from dirt deposits) will cause a reduction in yield. A module is considered “shadow-free” if it is unobscured across its entire surface for the whole year and even on the shortest day of the year unobstructed sunlight can reach the module. - Reliable ventilation
Functioning ventilation prevents the build-up of heat, which would reduce performance. - Earthing
Although the modules are certified to safety class II, we still recommend earthing them. The earth connection must be made by a qualified electrician.
Option 1: Connect module frames to each other using cables with cable lugs. Use the hole (M4mm) that are provided for this purpose. To create the conductive connection (frame is anodized), use a serrated washer or a self-tapping screw (3.5mm). The earth connection should be made by a qualified electrician.
Option 2: Create an electrical connection between the frames and the mounting system, e.g. by using serrated washer, then have the mounting system earthed by a qualified electrician (see “Mounting” example A).
Do not interrupt or influence the conductive connection when making daily maintenance All the crunodes on the conductive connection must be fixed. The fastness does not depend on soldering.
The metal containing iron in the conductive connection should be handled by some way, such as anodization, spray-painting, galvanization.
Stainless steel does not need to. - Maximum number of modules in parallel and in series
When designing the system, we recommend that the maximum number of modules in parallel should be no more than 3 while the maximum number of modules in series no more than 20.
Mounting
Each module must be securely fastened at a minimum of 6 points. The frame has been stress tested for mounting on the long sides. The module must not be secured by its short sides.

Example for mounting the PV modules to the substructure:
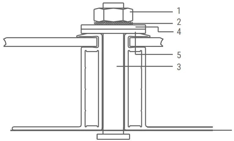
Example A:
Bolting (earthing is provided by use of the serrated washer)

- Stainless steel M8 nut
- Stainless steel serrated washer
- Stainless stell M8 t-head bolt
- Aluminum clamping plate
- EPDM washer 2mm
Example B:
Clamping on (additional earthing required)

We recommend using a torque wrench for installation. In example B, the tightening torque (using stainless steel M8 bolts) should be around 15-20Nm. Use the existing holes for securing the module and do not drill additional holes (doing so would void the warranty). Use appropriate corrosion-proof fastening materials.
Bypass diodes
Partial shading of an individual module can cause a reverse voltage across the shaded module. Current is then forced through the shaded area by the other modules.
When a bypass diode is wired in parallel with the series string. The forced current will flow through the diode and bypass the shaded module, thereby minimizing module heating and array current losses.
MODULES use the 10SQ050 for over-current protection and diode bypassing.
Wiring
For the wiring, pay attention to:
- Correct wiring scheme
When designing the system, avoid forming loops (to minimize risk in the event of an indirect lighting strike). Check that wiring is correct before starting up the generator. If the measured open circuit voltage (Uoc) and short-circuit current (lsc) differ from the specifications, then there is a wiring fault. - Correct connection of multi-contact (MC) plug connectors
The plug connector has its own polarity. Make sure that the connection is safe and tight. The plug connector should not receive outer stress.
Otherwise, it is only used to connect the circuit! - Use of suitable materials
Use cable extensions and plugs that are designed for outdoor applications. Ensure that they are in perfect electrical and mechanical condition. Use only cables having one conductor. Select the appropriate cable diameter to minimize voltage drop (to calculate the minimum cable diameter, the fuse, and to calculate controls, multiply the Isc and Uoc by a factor of 1.25).
Maintenance and cleaning
Do not change the PV components optionally (diode, junction box, plug connectors). Given a sufficient tilt (at least 15), it is not generally necessary to clean the modules (rainfall will have a self-cleaning effect). In case of heavy soiling (which will result in output reductions), we recommend cleaning the modules using plenty of water (from a hose) without cleaning agents and using a gentle cleaning implement (a sponge). Dirt must never be scraped or rubbed away when dry, as this will cause micro-scratched. We recommend that the system be inspected at regular intervals.
Checklists
All fastenings are tight and secure and free of corrosion.
All cable connections are secure, tight, clean and free of corrosion.
Cables are not damaged in any way.
Checking the earthing resistivity of metals.
®Solarland All Rights Reserved



















