SOLARLAND SLP005S High-Efficiency Solar Panel

Installing the modules
When installing the modules, please pay attention to
Keeping within the maximum permitted load
The maximum load on the module must not exceed 2.4kN/m2. To avoid exceeding the maximum load, site-specific live loads such as wind
and snow should be taken into account.
Environmental conditions
- The module is intended for use in temperate climatic conditions. The module is “non-explosion-protected equipment”. Hence it must not be installed in the proximity of highly inflammable gases and vapors (e.g. filling stations, gas containers, and paint equipment).
- The module must not be installed near to naked flames or flammable materials.
- Do not expose modules to concentrated light sources.
- It must not be immersed in water or constantly exposed to water (e.g. from fountains).
- If there is exposure to salt (it is recommended that modules are installed at least 500m from the sea) and sulfur (sulfur sources, volcanoes).
- There is a risk of corrosion.
Requirements of installation
- Make sure the modules’ electrical performances in a system are the same. When connected in series, modules must all have the same
amperage. When connected in parallel, the modules must all have the same voltage. Connect the number of modules that match the voltage - specifications of the devices used in the system. The modules must not be connected together to create a voltage higher than the permitted system voltage.
- To minimize risk in the event of an indirect lightning strike avoid forming loops when designing the system. Artificially concentrated sunlight shall not be directed at the module or panel.
- Modules must not be fitted as overhead glazing. Ensure that the mounting system can also withstand the anticipated wind and snow loads.
- Precipitation can run off through small openings on the back side of the module. Make sure that the openings are not masked after mounting.
Optimum orientation and tilt
To achieve the maximum annual yield figure out what the optimum orientation and tilt of the PV modules is. If sunlight shines vertically onto the PV modules you have the best conditions to generate maximum power.
Avoid overshadowing
Even the slightest partial shading (e.g. from dirt deposits) will cause a reduction in yield. A module is considered “shadow-free” if it is
unobscured across its entire surface for the whole year and even on the shortest day of the year unobstructed sunlight can reach the module.
Reliable ventilation
Functioning ventilation prevents the build-up of heat, which would reduce performance.
Earthing
- Although the modules are certified for safety class II, we still recommend earthing them. The earth connection must be made by a qualified electrician.
- Option 1: Connect module frames to each other using cables with cable lugs. Use the hole (M4mm) that is provided for this purpose.
- To create the conductive connection (frame is anodized), use a serrated washer or a self-tapping screw (3.5mm). The earth connection should be made by a qualified electrician.
- Option 2: Create an electrical connection between the frames and the mounting system, e.g. by using the serrated washer, then have the mounting system earthed by a qualified electrician (see “Mounting” example A).
- Do not interrupt or influence the conductive connection when making daily maintenance All the crunodes on the conductive connection must be fixed. The fastness does not depend on soldering.
- The metal-containing iron in the conductive connection should be handled in some way, such as anodization, spray-painting, or galvanization. Stainless steel does not need to.
Maximum number of modules in parallel and in series
When designing the system, we recommend that the maximum number of modules in parallel should be no more than 3 while the maximum number of modules in series no more than 20.
Mounting
Each module must be securely fastened at a minimum of 6 points. The frame has been stress tested for mounting on the long sides. The module must not be secured by its short sides.

Example for mounting the PV modules to the substructure
Example A:
Bolting (earthing is provided by the use of the serrated washer)

Example B:
Clamping on (additional earthing required)

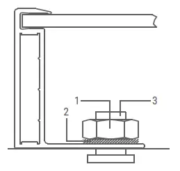
- Stainless steel M8 nut
- Stainless steel serrated washer
- Stainless steel M8 t-head bolt
- Aluminum clamping plate
- EPDM washer 2mm
We recommend using a torque wrench for installation. In example, B, the tightening torque (using stainless steel M8 bolts) should be around 15-20Nm. Use the existing holes for securing the module and do not drill additional holes (doing so would void the warranty). Use appropriate corrosion-proof fastening materials.
Bypass diodes
Partial shading of an individual module can cause a reverse voltage across the shaded module. The current is then forced through the shaded area by the other modules. When a bypass diode is wired in parallel with the series string. The forced current will flow through the diode and bypass the shaded module, thereby minimizing module heating and array current losses. MODULES use the 10SQ050 for over-current protection and diode bypassing.
Wiring
- For the wiring, pay attention to
- Correct wiring scheme
- When designing the system, avoid forming loops (to minimize risk in the event of an indirect lighting strike). Check that wiring is correct before starting up the generator. If the measured open circuit voltage (Uoc) and short-circuit current (lsc) differ from the specifications, then there is a wiring fault.
Correct connection of multi-contact (MC) plug connectors
The plug connector has its own polarity. Make sure that the connection is safe and tight. The plug connector should not receive outer stress. Otherwise, it is only used to connect the circuit!
Use of suitable materials
Use cable extensions and plugs that are designed for outdoor applications. Ensure that they are in perfect electrical and mechanical
condition. Use only cables having one conductor. Select the appropriate cable diameter to minimize voltage drop (to calculate the minimum cable diameter, the fuse, and to calculate controls, multiply the Isc and Uoc by a factor of 1.25).
Maintenance and cleaning
Do not change the PV components optionally (diode, junction box, plug connectors). Given a sufficient tilt (at least 15), it is not generally
necessary to clean the modules (rainfall will have a self-cleaning effect). In case of heavy soiling (which will result in output reductions),
we recommend cleaning the modules using plenty of water (from a hose) without cleaning agents and using a gentle cleaning implement
(a sponge). Dirt must never be scraped or rubbed away when dry, as this will cause micro-scratches. We recommend that the system be
inspected at regular intervals.
Checklists
- All fastenings are tight and secure and free of corrosion.
- All cable connections are secure, tight, clean, and free of corrosion.
- The cables are not damaged in any way.
- Checking the earthing resistivity of metals.
Carefully read through these installation instructions before installing, operating, or servicing the PV system. Failure to follow these
instructions may result in bodily injury or damage to property. Keep these instructions! Working on a PV system (installation, setup, maintenance, repairs) must be carried out by qualified and authorized persons.



















