80139-022-21 Ceiling Lamp
Instruction Manual
www.lampehuset.no
80139-022-21 Ceiling Lamp
Warning:
- Only use bulbs as directed on the label on the lamp.
- Turn off the lamp before replacing the bulb and wait until the bulb has cooled. Take special care to touch the lamp when the lamp is lit. It can be hot.
Pre-Installation
PLANNING THE INSTALLATION
Read all instructions before assembly and installation. Before starting installation of the fixture or removal of a previous fixture, disconnect the power by turning off the circuit breaker or by removing the fuse at the fuse box. To avoid damaging this product, assemble it on a soft, non-abrasive surface such as carpet or cardboard.
TOOLS REQUIRED

Installation
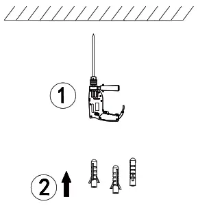
Step 1.
Mounting the wall expansion particles in the ceiling:

Step 2.
Connecting the supply wire to the fixture wire:
Step 3.
Put the terminal box between the ceiling cap and metal bracket:
Step 4.
Mounting the ceiling cap on to the ceiling by three selftapping screws:

Step 5.
Insert the correct light bulb:

Max E27 230V 40W Ball; Recommend LED bulb
Step 6.
Assemble the decoration cap and glass on to the fixture:

Installation (continued)

Operation
- Turn on power at the circuit breaker or fuse box.
- Turn the light switch on to activate the fixture.
Package contents
(parts are not to scale):

| Part | Description | Quantity |
| A | Fixture body | 1 |
| B | Decoration cap | 1 |
| C | Glass | 1 |
| D | Wall expansion particle | 3 |
| E | Self-Tapping screw | 3 |
| F | silicon gasket | 3 |
Light source
230V E27 1 x 40W Ball (not include)
Recommend LED bulb
Care and Cleaning
EXTERIOR MAINTENANCE
- To clean the outside of the fixture, use a dry or slightly dampened clean cloth (use clean water, never a solvent) to wipe the surface of the fixture.
- Do not use any cleaners with chemicals, solvents or harsh abrasives. Use only a dry soft cloth to dust or wipe carefully.

















