EDIFIER Active Speaker R1380T User Manual
Important safety instructions
- Please read the instructions carefully. Keep it in safe place for future reference.
- Use only accessories approved by the manufacturer.
- Install the instrument properly by following the instructions in the device connection section.
- Using the product in a 0-35℃ environment is recommended.
- To reduce the risk of fire and electric shock, do not expose the product to rain or moisture.
- Do not use this product near water. Do not immerge the product into any liquid or have it exposed to dripping or splashing.
- Do not install or use this product near any heat source (e.g. radiator, heater, stove, or other devices that generate heat).
- Do not place any object filled with liquids, such as vases on the product; neither should any open fire, such as lighted candles be placed on the product.
- Do not block any ventilation openings. Do not insert any object into ventilation openings or slots. It may cause fire or electric shock.
- Keep sufficient clearance around the product to maintain good ventilation (minimum 5cm is recommended).
- Do not force a plug into the jack. Before connection, check for blockage in the jack and whether the plug matches the jack and is oriented to the right direction.
- Keep the provided accessories and parts (such as screws) away from children to prevent from being swallowed by mistake.
- Do not open or remove the housing yourself. It may expose you to dangerous voltage or other hazardous risks.
Regardless the cause of damage (such as damaged wire or plug, exposure to liquid splash or foreign object falling in, exposure to rain or moisture, product not working or being dropped, etc.), the repair has to be performed by an authorized service professional immediately. - Before cleaning the product with dry cloth, always turn off the product and disconnect the power plug first.
- Never use strong acid, alkali, gasoline, alcohol, or other chemical solvents to clean the product surface. Use only neutral solvent or clear water for cleaning.
Excessively loud music may lead to hearing loss. Please keep the volume in a safe range.
Correct Disposal of this product. This marking indicates that this product should not be disposed with other household wastes throughout the EU. To prevent possible harm to the environment or human health from uncontrolled waste disposal, recycle it responsibly to promote the sustainable reuse of material resources.
To return your used device, please use the return and collection systems or contact the retailer where the product was purchased. They can take this product for environmental safe recycling.
Use only with the cart, stand, tripod, bracket, or table specified by the manufacturer, or sold with the apparatus. When a cart is used, use caution when moving the cart/apparatus combination to avoid injury from tip-over.
Power warning:
- Place the product near the power outlet for easy use.
- Before use, make sure that the operating voltage is the same as your local power supply. Correct operating voltage vcan be found on the product plate.
- For safety purpose, unplug the product during lightning storms or when unused for extended periods of time.
- Under normal conditions, the power supply may get hot. Please keep good ventilation in the area and exercise caution.
- Safety warning labels on the housing or bottom of the product or power adaptor
This symbol is to alert the user to the presence of un-insulated dangerous voltage within the product’s enclosure that may be of sufficient magnitude to constitute a risk of electric shock to persons.
This symbol is to warn the user not to disassemble the enclosure of the product and there is no user-replaceable part inside. Take the product to an authorized service center for repair
This symbol indicates that the product is for indoor use only.
This symbol indicates that the product is a CLASS II or double insulated electrical device with no earth requirement.
Box contents
- Remote control

- Passive speaker and Active speaker

- Speaker connecting cable

- RCA-RCA audio cable

- 3.5mm-RCA audio cable

- User manual

Note: Images are for illustrative purposes only and may differ from the actual product.
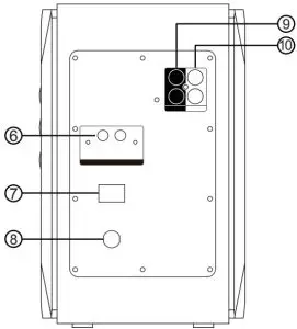
Illustration



- Infrared receiver/input indicator
- Treble dial
- Bass dial
- Master volume control
- Power indicator
- Connect to passive speaker
- Power switch
- Power cable
- Line In 1 input
- Line In 2 input
Remote control

Battery loading
Please refer to the illustration to open the battery compartment, insert the CR2025 battery and close the compartment.
WARNING!
- Don’t swallow the battery; danger of chemical burn.
- The product includes a wafer battery. Swallowing this battery may lead to injury or death.
Do not place the new or old battery in where children can get to it. - Don’t use the product if the battery cover is missing or not closed, and keep the remote inaccessible to children.
- Please go to the hospital immediately if the battery is swallowed.
Note
- Do not place the remote control in places that are hot and humid.
- Do not charge the batteries.
- Remove the batteries when unused for a long period of time.
- The battery should not be exposed to excessive heat such as direct sun, fire or similar.
- Danger of explosion if battery is incorrectly replaced. Replace only with the same or equivalent type.
Connection


- Connect audio source (mobile phone, tablet, etc.) to the “Line In 1” or “Line In 2” input port (note color matching) on the rear panel of the active speaker using audio cable.
- Play music on the connected device and adjust the settings to a desired level.
Specifications
Power output: 21W+21W
Frequency response: 55Hz-20KHz
Audio inputs: Line In 1, Line In 2
Troubleshooting
No sound
- Check if the speaker is ON.
- Try to turn up the volume using the volume control or remote control.
- Ensure the audio cables are firmly connected and the input is set correctly on the speaker.
- Check if there is a signal output from the audio source.
The R1380T does not turn on
- Check if main power is connected, or if the wall outlet is switched on.
Noise coming from speakers
EDIFIER speakers generate little noise, while the background noise of some audio devices are too high. Please unplug audio cables and turn the volume up, if no sound can be heard at 1 meter away from the speaker, then there is no problem with this product.
To learn more about EDIFIER, please visit www.edifier.com
For EDIFIER warranty queries, please visit the relevant country page on www.edifier.com and review the section titled Warranty Terms.
USA and Canada: [email protected]
South America: Please visit www.edifier.com (English) or www.edifierla.com (Spanish/Portuguese) for local contact information.
Model: EDF100034
Edifier International Limited
P.O. Box 6264
General Post Office
Hong Kong
Tel: +852 2522 6989
Fax: +852 2522 1989
www.edifier.com
© 2021 Edifier International Limited. All rights reserved.
Printed in China
@Edifierglobal
@Edifier_Global
@Edifier_Global
NOTICE
For the need of technical improvement and system upgrade, information contained herein may be subject to change from time to time without prior notice.
Products of EDIFIER will be customized for different applications. Pictures and illustrations shown on this manual may be slightly different from actual product. If any difference is found, the actual product prevails.





















