R1280DB Multimedia Speaker User Manual
Important safety instruction
WARNING: To reduce the risk of fire or electric shock, do not expose this apparatus to rain or moisture. Thank you for purchasing this Edifier product. For generations. Edifier tries to provide pattered speaker products to satisfy the need of our end customers, even the most demanding ones. This product can add to your home entertainment. personal computer, and mini home heater great sound performance. Please read this manual carefully to obtain the best of this system
The lightning flash with arrowhead inside thetriangle, is intended to alert the user to the presence of un.insulated dangerous voltage within the product’s enclosure that may be of a sunk lent magnitude to constitute a risk of electric shock to persons.
CAUTION
RISK OF ELECTRIC SHOCK 00 NOT OPEN
To prevent the risk of electric shock, do not remove cover (or back). No user-serviceable Parts inside. Refer servicing to qualified Service personnel only.
The exclamation point inside the triangle is intended to alert the user to the presence of important operating and maintenance (servicing) instructions in the literature accompanying the product.
- Read these instructions.
- Keep your user manual.
- Heed all warnings.
- Follow all Instructions.
- Do not use this apparatus near water.
- Clean only with dry cloth.
- Do not use this apparatus near water and never put this apparatus into liquids or allow liquids to drip or spill onto it.
- Do not place appliance filled with water on this apparatus, such as vase; nor place any form of open fire such as lit candle.
- Do not block any ventilation openings. Please leave enough space around the speakers to ensure good ventilation (the distance should be above 5cm). Install in accordance with the manufacturer’s instructions.
- Do not place near any heat sources such as radiator, heat register, stove, or other apparatus (Including amplifier) that produce heat.
- Do not disregard the safety purpose of the polarized or grounding-type plug. A polanzed plug has two blades with one wider than the other. A grounding type plug has two blades and a third grounding prong. The wide blade or the third prong Is provided for your safety. If the provided plug does not fit into your outlet, consult an electrician for replacement of the outlet.
- Protect the power cord from damage or getting pinched particularly at plugs, receptacles, and the point where they exit from the apparatus.
- Only use attachments/accessories specified by the manufacturer.
- Unplug this apparatus during lightning storms or when unused for long periods of time.
- Refer all servicing to qualified service personnel. Servicing is required when the apparatus is damaged, such as power supply cord or plug, liquid spilled or objects fallen Into the apparatus, the apparatus has been exposed to rain or moisture, does not operate normally, or has been dropped.
- The MAIN plug is used as the disconnecting devices, the disconnecting device shall remain readily operable.
- The Maximum ambient temperature is 45°C 1113°f
- Do not use strong acid, strong alkali and other chemical solvents to clean the product surface. Please use neutral solvent or water to clean the product.
Use only with the cart, stand, tripod, bracket, or table specified by the manufacturer, or sold with the apparatus. When a cart is used, use caution when moving the cart/apparatus combination to avoid injury from tip-over.
Correct Disposal of this product. This marking indicates that this product should not be disposed with other household wastes throughout the EU. To prevent possible harm to the environment or human health from uncontrolled waste disposal, recycle it responsibly to promote the sustainable reuse of material resources. To return your used device, please use the return and collection systems or contact the retailer where the product was purchased. They can take this product for environmental safe recycling.
This equipment is a Class II or double insulated electrical appliance. It has been designed In such a way that It does not require a safety connection to electrical earth.
WARNING DO NOT INGEST BATTERY, CHEMICAL BURN HAZARD This product contains a coin/button cell battery. If the coin/button cell battery is swallowed, it can cause severe internal burns in just 2 hours and can lead to death.
Keep new and used batteries away from children, if the battery compartment does not close securely, stop using the product and keep it away from children. If you think batteries might have been swallowed or placed inside any part of body, seek immediate medical attention. the battery (in remote control) shall not be exposed to excessive heat such as sunshine, fire or the like.
In The Box
Box Contents

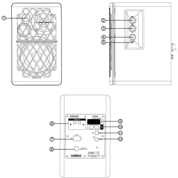
Speaker Controls

- Infrared receiver
- Treble dial
- Bass dial
- Master volume control/ input selection Press in to navigate between audio sources: LINE1- > LINE2->Optical->Coaxial->Bluetooth.
Note: Press and hold the master volume control to enter into standby mode. - Power indicator Red: optical/coaxial inputs Blue: Bluetooth input Green: Line in1/Line in2 inputs
- Speaker output
- Power switch
- Power cord
- Line inl input port
- Line in2 input port
- Optical input port 12.
- Connections
Remote Control

- Power ON/OFF
- Mute
- Volume decrease
- Volume increase
- Line inl input
- Line in2 input
- Optical input
- Coaxial input
- Bluetooth input (Press and hold to disconnect Bluetooth devices)
- Pause/play (for Bluetooth only)
- Previous track (for Bluetooth only)
- Next track (for Bluetooth only)
Battery loading: Please refer to the illustration to open the battery compartment, insert the CR 2025 battery and close the compartment
Note:
- Do not place the remote control in places that are hot and humid.
- Do not charge the batteries.
- Remove the batteries when unused for long period of time.
- The battery should not be exposed to excessive heat such as direct sun, fire or similar.
- Danger of explosion if battery is incorrectly replaced. Replace only with the same or equivalent type.
Connections

- Connect the speakers with the included speaker connecting cable
- Connect to power source, power on the speaker, then the indicator is lit.
LINE IN Input

- Press the master volume control on the active speaker or press the “LINE 1 /LINE2” button on the remote control to select LINE IN input. The indicator turns to green.
- Using audio cable to connect audio source to the speaker.
- Play from your device and adjust the volume accordingly.
Optical and Coaxial Input

- Press the master volume control on the active speaker or press the “OPT/COX” button on the remote control to select the optical/coaxial input. The indicator turns to red.
- Using optical or coaxial cable (optical cable included) to connect audio sources to your speaker.
- Play from your devices and adjust the volume accordingly.
Note:
- In optical and coaxial modes, only PCM signal with 44.1 KHz/48KHz can be decoded.
Bluetooth Input

Pairing
- Turn on speaker and switch to Bluetooth mode by pressing the Bluetooth button on the remote control or press the master volume control on back panel of the active speaker. The indicator turns to blue.
- Go to setup section on your source devices (mobile phones, tablets, etc.) and search for nearby Bluetooth devices, you will find “EDIFIER R1280DB” in the list.
- Pair your device with “EDIFIER R1280DB”.
- Play audio tracks on your device and adjust the volume to a desired level.
- To disconnect Bluetooth, press and hold the master volume control for about 2 seconds.
Note:
- Bluetooth connectivity and compatibility may be different among different source devices, depending on the software versions of source devices.
- To enjoy the full Bluetooth functions of this product, please ensure your mobile device supports A2DP and AVRCP profile.
- PIN code for connection is “0000” if needed.
Specifications
| Power output: | L/R: 21W+21W |
| Signal to noise ratio dB(A): | L/R: 85dB (A) |
| Noise level: | 25dB(A) |
| Input sensitivity: | LINE IN1: R/L:450±50mV LINE IN2: R/L:550±50mV OPT/COA R/L: 500±50mFFS Bluetooth: R/L:700±50mFFS |
| Frequency response: | 55Hz-20KHz |
| Bass unit: | 4 inch (116mm) |
| Tweeter unit: | 013mm silk dome tweeter |
Troubleshooting
| Problem | Solution |
| No sound | •Check if the power indicator light is ON |
| •Try to turn up the volume using either the master volume control or remote control. | |
| •Ensure the audio cables are firmly connected and the input is set correctly on the speakers. | |
| •Check if there is signal output from the audio source. | |
| Cannot connect via Bluetooth | •Make sure the speaker is switched to Bluetooth input, in other audio input mode Bluetooth can not be paired or connected. Disconnect from any Bluetooth device by press and hold the volume dial in Bluetooth mode, then try again. |
| •Effective Bluetooth transmission range is 10 meters, please make sure operation is within the range. | |
| •Try another Bluetooth device for connection. | |
| The R1280DB does not turn on | •Check if mains power is connected. or if the wall outlet is switched on. |
If you want to find out more about EDIFIER, please visit our website at www.edifier.com For Edifier warranty queries, please visit the relevant country page on our www.edifier.com and review the section Warranty Terms.
USA and Canada: [email protected] South America: Please visit www.edifier.com (English) or www.edifierla.com (Spanish/Portuguese) for local contact information.



















