VISSANI VPA06 6000 BTU Portable Air Conditioner 
THANK YOU
We appreciate the trust and confidence you have placed in Vissani through the purchase of this air conditioner. We strive to continually create quality products designed to enhance your home. Visit us online to see our full line of products available for your home improvement needs. Thank you for choosing Vissani!
Safety Information
Your safety and the safety of others are very important. We have provided many important safety messages in this manual and on your appliance. Please always read and obey all safety messages. To reduce the risk of fire, electrical shock or injury when using your air conditioner, please follow these basic precautions:
- Plug into a grounded 3-prong outlet.
- Do not remove ground prong.
- Do not use an electrical adapter.
- Do not use an extension cord.
- Unplug air conditioner before servicing.
- Use two or more people to move and install air conditioner.
- The appliance is not intended for use by young children or impaired persons without supervision. Young children should be supervised to ensure that they do not play with the appliance.
All safety messages will tell you what the potential hazard is and tell you how to reduce the chance of injury.
DANGER: A hazard that If not avoided will result In death or serious injury.
WARNING: A hazard that if not avoided could result In death or serious Injury.
CAUTION: A hazard that if not avoided may result in minor or moderate injury.
STORAGE AND DISPOSING OF THE UNIT
- Please recycle or dispose of the product packaging material in an environmentally responsible manner.
- Never store or ship the air conditioner upside down or sideways to avoid damage to the compressor.
- Dispose of this appliance in accordance with Federal and Local regulations. Refrigerants must be evacuated before disposal.
WARNING: Risk of Fire or Explosion. This unit contains flammable refrigerant. Additional safety precautions must be followed.
- Do not use means to accelerate the defrosting process or to clean, other than those recommended by the manufacturer.
- The appliance shall be stored in a room without continuously operating ignition sources (for example: open flames, an operating gas appliance or an operating electric heater).
- Do not pierce or burn refrigerant tubing. Be aware that refrigerants may not contain an odor.
- Keep ventilation openings clear of obstruction.
- When handling, installing, and operating the appliance, care should be taken to avoid damage to the refrigerant tubing.
- Do not drill holes in the unit.
- Maintenance, cleaning, and service should only be performed by technicians properly trained and qualified in the use of flammable refrigerants.
- Dispose of air conditioner in accordance with Federal and Local Regulations. Flammable refrigerants require special disposal procedures. Contact your local authorities for the environmentally safe disposal of your air conditioner.
Pre-Installation
PLANNING INSTALLATION
Gather the required tools and parts before starting installation. Check that all parts are included in parts package. Read and follow the instructions provided with any tools listed here.
TOOLS REQUIRED 
| Part | Description | Quantity | Part | Description | Quantity | |
| AA | Foam seal (non-adhesive) | 1 | II | Inner slider section-short | 1 | |
| BB | Coupling | 1 | JJ | Inner slider section | 1 | |
| CC | Flexible exhaust hose | 1 | KK | Outer slider section | 1 | |
| DD | Window exhaust adapter | 1 | LL | Foam seal-long (adhesive) | 2 | |
| EE | Rivets | 4 | MM | Foam seal-short (adhesive) | 2 | |
| FF | Screws | 4 | NN | Remote Control | 1 | |
| GG | Window lock bracket | 2 | OO | Standard AAA (1.5 volt) batteries | 2 | |
| HH | Outer slider section with vent | 1 | ||||
NOTE:
- Mercury free super heavy duty R03 UM-4 size AAA 1.5V.
- Best used before date code (month-year) on the bottom.
- Caution for ingestion: the battery may cause suffocation if swallowed by children.
- Do not mix old and new batteries. Do not mix alkaline, standard (carbon – zinc), or rechargeable (nickel – cadmium) batteries.
- Non-rechargeable batteries are not to be recharged.
- Exhausted batteries are to be removed from the product.
PACKAGE CONTENTS
| Part | Description |
| A | Control panel |
| B | Signal receptor |
| C | Cool air outlet |
| D | Remote control |
| E | Transport handle |
| F | Evaporator air intake |
| G | Air outlet hose coupling |
| H | Condenser air intake |
| I | Primary drain port |
| J | Power cord (may differ from the one shown) |
ELECTRICAL REQUIREMENTS
WARNING:
- Plug into a grounded 3-prong outlet.
- Do not remove ground prong.
- Do not use an adapter.
- Do not use an extension cord.
- Failure to follow these instructions can result in death, fire, or electrical shock.
Recommended Grounding Method
This portable air conditioner must be grounded. This portable air conditioner is equipped with a power supply cord with a three-prong grounding plug. The cord must be plugged into a properly grounded three-prong outlet, grounded in accordance with all local codes and ordinances. If a properly grounded outlet is not available, it is the customer’s responsibility to have a properly grounded three-prong outlet installed by a qualified electrician.
Customer’s Responsibility
- To contact a qualified electrician.
- To assure that the electrical installation is adequate and conforms to the national electrical code, ANSI/NFPA 70-last edition, and all local codes and ordinances.
Copies of the standards listed may be obtained from: National Fire Protection Association
1 Batterymarch Park
Quincy, MA 02169-7471
www.nfpa.org
Wiring Requirement
| Power supply | Model | Time-delay fuse (or circuit breaker) |
| 115V 103.5V min. 126.5V max. | 5KBTU | 10A |
| 6KBTU | 13A |
Power Supply Cord
NOTE: Your air conditioner’s device may differ from the one shown. This room air conditioner is equipped with a power supply cord required by UL. This power supply cord contains state-of-the-art electronics that sense leakage current. If the cord is crushed, the electronics detect leakage current and power will be disconnected in a fraction of a second.
To test your power supply cord:
- Plug power supply cord into a grounded 3-prong outlet.
- Press RESET (2) (on some devices, a green light will turn on).
- Press TEST (1) and listen for click. The RESET button will trip, and on some devices, a green light will turn off.
- Press and release RESET (2) and listen for click. The RESET button will latch, and on some devices, a green light will turn on. The power supply cord is ready for operation.

NOTE:
- The RESET button must be pushed in for proper operation.
- The power supply cord must be replaced if it fails to trip when the test button is pressed or fails to reset.
- Do not use the power supply cord as an off/on switch. The power supply cord is designed as a protective device.
- A damaged power supply cord must be replaced with a new power supply cord obtained from the product manufacturer and must not be repaired.
- The power supply cord contains no user serviceable parts. Opening the tamper-resistant case voids all warranty and performance claims.
LOCATION REQUIREMENTS
The flexible exhaust hose allows placement of the air conditioner at least 20 in. from window or door.
Confirm you are using the correct size air conditioner for the space to be cooled, per sizing recommendations, below:
| Area to be cooled | DOE capacity needed (BTUs) | |
| Up to 10 ft x 15 ft room | 150 sq. ft | 5,000 Single Hose |
| Up to 10 ft x 25 ft room | 250 sq.ft | 6,000 Single Hose |
| Up to 15 ft x 20 ft room | 300 sq. ft | 7,000 Single Hose |
| Up to 10 ft x 35 ft room | 350 sq. ft | 8,000 Single Hose |
| Up to 15 ft x 30 ft room | 450 sq. ft. | 10,000 Single Hose |
| Up to 10 ft x 55 ft room | 550 sq. ft | 10,000 Dual Hose |
| Up to 10 ft x 55 ft room | 550 sq. ft | 12,000 Single Hose |
NOTE: Match BTUs to room use and location: shaded room, reduce to next smaller size; sunny room, increase to next larger size; for kitchens, increase to next larger size.
WARNING: The length of the exhaust hose is specially designed according to the specification of the product. Do not replace, extend, or otherwise modify the hose.
NOTE: For best performance, allow at least 20 in. of air space on all sides of the unit for good air circulation.
- Do not block the air outlet.
- Provide easy access to the grounded 3-prong outlet.
- To ensure proper function, DO NOT overextend or bend the hose. Make sure that there is no obstacle around the air outlet of the exhaust hose in order for the exhaust system to work properly. All the illustrations in this manual are for explanation purposes only. Your air conditioner may be slightly different. The actual shape shall prevail.
UNPACK THE AIR CONDITIONER
WARNING: Use two or more people to move and install air conditioner. Failure to do so can result in back or other injury.
Remove Packaging Materials
- Remove and recycle packaging materials.
- Remove tape and glue residue from surfaces before turning on the air conditioner. Rub a small amount of liquid dish soap over the adhesive with your fingers. Wipe with warm water and dry.
- Do not use sharp instruments, rubbing alcohol, flammable fluids, or abrasive cleaners to remove tape or glue. These products can damage the surface of your air conditioner.
- Handle the air conditioner gently.
IMPORTANT: Keep unit upright at least 2 hours prior to use.
CAUTION: Installation accessories are stored in the top of the carton and are required for proper cooling performance. Please remove all accessories from packing materials before use.
WINDOW VENT PANEL AND EXTENSIONS
The window installation kit allows you to install the air conditioner in most vertical-sliding windows 18 in. to 50 in. wide, or horizontal sliding windows from 18 in. to 50 in. tall. Check your window size and choose the fit from the table. lf your window size requires more than two panels, after adjusting the length, please secure the panels with rivets (EE). 
| Panel Length / Window Length | Panel HH (18 in.) | Panel II (19-11/16 in.) | Panel JJ (18 in.) | Panel KK (18 in.) | See Figure… |
| 18 in. | X | A | |||
| 19 in. – 26 in. | X | X | B | ||
| 27 in. – 34 in. | X | X | C | ||
| 35 in. – 50 in. | X | X | X | D |
Figure A
For an 18 in. window opening, use the window vent panel (HH) by itself. 
Figure B
For window openings from 19 in. to 26 in., use the window vent panel (HH) and a extension panel (II). 
Figure C
For window openings from 27 in. to 34 in., use the window vent panel (HH) and a extension panel (JJ). 
Figure D
For window openings from 35 in. to 50 in., use the window vent panel (HH) and two extension panels (KK and JJ).
Installation
Attaching Exhaust Hose and Adapter to Air Conditioner
- Roll the air conditioner to selected location. See “Location Requirements” on page 6.
- Press the flexible exhaust hose (CC) into the coupling (BB) and the window exhaust adapter (DD). Both the coupling and window exhaust adapter have integral clips that snap onto the hose.
- Insert the coupling (BB) into the slot on the back of the air conditioner.
- Slide down to lock the hose into place.
- Confirm the hose is locked in place before operating.

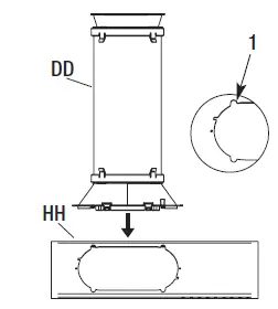
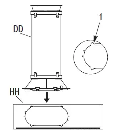
Attaching Exhaust Hose to Window Vent
- Your window installation kit has been designed to fit most standard vertical and horizontal window applications. Roll the air conditioner to selected location. See “Location Requirements” on page 6.
- Attach the window exhaust adapter (DD) to the outer slider section (with vent (HH).
NOTE: Product must be used with included Duct Window Installation kit for effective cooling. 
Installing in Vertical Sliding Window
NOTE: The window installation kit can be used with vertical sliding windows between 18 in. and 50 in. wide. 
- Cut the foam seal (LL) (adhesive type-long) and foam seal
(MM) (adhesive type-shorter) to the proper length, and attach it to the window sash and frame. - Insert the vent panel assembly (HH), including extension panels, if needed, into the window opening.
- Extend the extension panels to the window width.

- Cut the foam seal (AA) (non-adhesive type) to the window width. Stuff the foam seal (AA) between the glass and the window to prevent air and foreign objects from getting into the room.

- Install the window lock bracket (GG) with screw (FF) as shown, if needed.

- Align the tabs on the window exhaust adapter (DD) with the slots (1) in the vent panel (HH). Insert the window exhaust adapter (DD) into the opening in the vent panel (HH).

- Insert the screw (FF) in the hole in the window exhaust adapter (DD) to prevent the window exhaust adapter from sliding out of the vent panel (HH) opening.

2b Installing in Horizontal Sliding Window
- Cut the foam seal (LL) (adhesive type-long) and foam seal (MM) (adhesive type-shorter) to the proper length, and attach it to the window sash and frame.

- Insert the vent panel assembly (HH), including extension panels, if needed, into the window opening.
- Extend the extension panels, if used.

- Cut the foam seal (AA) (non-adhesive type) to the window width.
- Stuff the foam seal (AA) between the glass and the window to prevent air and foreign objects from getting into the room.

- Install the window lock bracket (GG) with screw (FF) as shown.

- Align the tabs on the window exhaust adapter (DD) with the slots (1) in the vent panel (HH). Insert the window exhaust adapter into the opening in the vent panel.

- Insert the screw (FF) in the hole in the window exhaust adapter (DD) to prevent the window exhaust adapter from sliding out of the vent panel (HH) opening.

Operation
Operating your portable air conditioner properly helps you to obtain the best possible results. This section explains proper air conditioner operation.
- Do not stay in direct airflow from the air conditioner for extended periods of time.
- Never use in tightly enclosed spaces. Always ensure there is sufficient airflow of outside air entering the household especially when used in conjunction with combustible devices such as gas stoves, fireplaces, furnaces, hot water heaters etc. Do not place the power cord or air conditioner near a heater, radiator, stoves or other apparatus (including amplifiers) that produce heat.
- This air conditioner is intended for household use as a residential appliance. Do not use it as a precision climate control for commercial use, or for precision equipment, food, pets, plants, artwork, etc.
- The air conditioner display shows the current room temperature.
- When changing modes while the air conditioner is in operation, the compressor will stop for 3 to 5 minutes before restarting. If a button is pressed during this time, the compressor will not restart for another 3 to 5 minutes.
- In Cooling or Dry mode, the compressor and condenser fan will stop when the room temperature reaches the set temperature.
- In Dry mode, the humidity level is automatically set, but is not able to be displayed.
IMPORTANT: Keep upright at least 2 hours before use to prevent damaging the compressor.
NOTE: In the event of a power failure, your air conditioner will operate at the previous settings when the power is restored.
Using the Control Panel
NOTE: The symbols may be different from these models, but the functions are similar. 
- POWER ON OR OFF
- The first time the air conditioner is plugged in and turned on after your purchase, it will be set in Cool Mode.
- When the air conditioner is turned on at all other times, it will run according to the previous setting.
- MODE
- Press and release MODE until you see the symbol for the desired setting. Operating modes are Cool, Dry, or Fan.
- Cool – Cools the room. Press FAN to select High or Low speeds. Press the Plus or Minus button to adjust the temperature.
- Dry – Dries the room. The air conditioner automatically selects the temperature. The fan runs on Low speed only. Dehumidification ranges between 2 to 3 pints per hour by model.
NOTE: Dry mode should not be used to cool the room. - Fan Only mode. Press FAN to select High or Low.
- FAN SPEED
- Press and release FAN to choose the desired fan speed.
- High – for maximum fan speed
- Low – for minimum fan speed
- TEMPERATURE
- Press the PLUS button to raise the temperature. Press the PLUS button once to increase the set temperature by 1 °F (1 °C).
- Press the MINUS button to lower the temperature. Press the MINUS button once to decrease the set temperature by 1 °F (1 °C).
NOTE: In Cooling mode, the temperature can be set between 61 °F and 86 °F (16 °C and 30 °C). In Fan Only mode, the temperature cannot be set.
The unit’s LED shows the target temperature for 5 seconds and then displays the room temperature.
- CHANGE DISPLAY BETWEEN °F AND °C
- To change the temperature display between °F and °C. Press both the Plus and Minus buttons at the same time.
Using the Remote Control
INSERT THE BATTERIES
- Remove the battery cover along the arrowed direction.
- Insert new batteries making sure that the (+) and (-) of battery are matched correctly.
- Reattach the cover by sliding it back into position.

NOTE:
- Use 2 standard AAA (1.5 volt) batteries. Do not use rechargeable batteries.
- Replace batteries with new ones of the same type when the display becomes dim, or after 6 months.
- When replacing batteries, always replace both batteries with new batteries. Do not mix old and new batteries. Do not mix alkaline, standard (carbon-zinc), or rechargeable (NI-Cd, NI-MH, etc.) batteries.
- If the air conditioner will not be used for an extended period of time, remove the batteries from the remote.
CAUTION: Do not use the remote if the batteries have leaked. The chemicals in batteries could cause burns or other health hazards.
HOW TO USE
- To operate the room air conditioner, aim the remote control at the signal receptor (1).
- The remote control will operate the air conditioner at a distance of up to 23 ft. (7 m) when pointing at signal receptor of the air conditioner.

BUTTON FUNCTIONS 
- On/Off
- Mode
- Fan
- Swing
- Up
- Down
- Dimmer / Sleep
- Timer
INDICATION SYMBOLS 
NOTE: Remote control may differ in appearance.
DIMMER
- Press the DIMMER button to turn off the control panel display.
NOTE: When in DIMMER mode, new control inputs will return display to normal.
SLEEP MODE
- Sleep mode can only be set in Cooling or Drying modes. When in sleep mode the unit will utilize lower, quieter fan speeds and automatic temperature adjustments offering 8 hours of optimal sleeping conditions before shutting off.
NOTE: The appliance will stop operation automatically after operating for 8 hours. Fan speed is automatically set at low speed.
In the Cooling mode, if the current room temperature is below 79 °F (26 °C), the temperature will automatically increase 1 °F (1 °C) during the first hour after Sleep control is activated, and continue running at that temperature. If the room temperature is 79 °F (26 °C) or above, set temperature will not change.
In Heating mode, the set temperature will decrease by 6°F(3°C) at most, during 3 hours, and continues running at that temperature until auto shut off.
NOTE: Sleep control cannot be selected in Fan mode.
- Press MODE to select COOL, HEAT or DRY.
- Press the UP or DOWN button to set the temperature.
- Press and hold the DIMMER button on the remote for 5 seconds to switch the DIMMER mode to the Sleep mode.
- After 5 seconds, the lights on the control panel display will dim.
NOTE: The temperature and airflow direction may be adjusted during Sleep control. The fan speed is automatically set to Low speed. After 5 seconds, the lights on the control panel display will dim again. Press and hold the MODE button on the remote for 5 seconds to switch the temperature display from degrees Fahrenheit (°F) to degrees Celsius (°C).
- To turn off Sleep control, press MODE, FAN, Sleep or wait 8 hours for Sleep control to turn off automatically.
NOTE: The air conditioner will return to previous settings after Sleep mode is turned off.
TIMER
- Use the TIMER function to turn the air conditioner ON/OFF automatically.
Setting the Air Conditioner to Turn On:
- Plug in the air conditioner and use the remote to power it ON.
- Use the remote to set the desired mode, temperature, fan speed, etc.
- Use the remote to power OFF the air conditioner.
- Press TIMER on the remote and use the UP /DOWN buttons to set the desired delay time until the air conditioner turns ON. The delay time can be set from O to 24 hours in one-hour increments.
- Press TIMER again to confirm the delay time. The TIMER light on the unit will be on.
Setting the Air Conditioner to Turn Off:
- Plug in the air conditioner and use the remote to power it ON.
- Use the remote to set the desired mode, temperature, fan speed, etc.
- Press TIMER on the remote and use the UP /DOWN buttons to set the desired delay time until the air conditioner turns OFF. The delay time can be set from O to 24 hours in one-hour increments.
- Press TIMER again to confirm the delay time. The TIMER light on the unit will be on.
To Cancel Timer:
Press the TIMER button again. Once a “beep” is heard and the indicator disappears, the TIMER mode has been canceled.
NOTE: The TIMER function can only be set by the remote control.
SWING
- Press SWING once to change the vertical airflow direction.
- Press again to hold the louver in a desired position.
NOTE: Swing function is not available on all models.
Normal Sounds
When your air conditioner is operating normally, you may hear sounds such as:
- Air movement from the fan.
- Clicks from the thermostat cycling.
- Vibration or noise due to poor wall or window construction.
- A high-pitched hum or pulsating noise caused by the high-efficiency compressor cycling on and off.
Care and Cleaning
Draining the Air Conditioner
WARNING: Excessive Weight Hazard
Use two or more people to move and install the air conditioner. Failure to do so can result in back or another injury.
- Unplug the air conditioner or disconnect the power.
- Move the air conditioner to a drain location or outside.
NOTE: To avoid leaking water from the unit, move the air conditioner slowly and keep it level.
- Remove the primary drain cover (1) and plug (2).
- Drain water completely through the drain hole.
NOTE: If the air conditioner will be stored after use, see “Storing After Use”.
- Reinstall the drain plug to the primary drain hole.
- Reinstall the primary drain cover to the drain hole.
- Reposition the air conditioner.
- Plug in the air conditioner or reconnect power.

Cleaning the Outside
- Press ON/OFF to turn off the air conditioner.
- Unplug air conditioner or disconnect the power.
- Remove the air filter and clean it separately. See “Cleaning Air Filter”.
- Wipe the outside of the air conditioner with a soft, damp cloth.
- Plug in the air conditioner or reconnect power.
- Press ON/OFF to start the air conditioner.
Cleaning the Air Filter
- Press ON/OFF to turn off the air conditioner.
- Open the filter panel door (1) on the back of the air conditioner and remove.
- Use a vacuum cleaner to clean the filter. If the filter is very dirty, wash the filter in warm water with a mild detergent.

NOTE: Do not wash the filter in the dishwasher or use any chemical cleaner.
- Air dry the filter completely before replacing to ensure maximum efficiency.
- Reattach the air filter to the filter panel door.
- Reinstall the filter panel door.
- Press ON/OFF to start the air conditioner.
Storing After Use
If the air conditioner will not be used for an extended period of time:
- Drain the water completely. See “Draining the Air Conditioner”.
- Run the air conditioner set to Fan Only for approximately 12 hours to dry the air conditioner.
- Unplug the air conditioner.
- Remove the flexible exhaust hose and store with the air conditioner in a clean, dry area. See “Installation Instructions”.
- Remove the window kit and store with the air conditioner in a clean, dry area. See “Installation Instructions”.
- Remove the filter and clean. See “Cleaning the Air Filter”.
- Clean the outside of the air conditioner. See “Cleaning the Outside”.
- Reinstall the filter.
- Remove the batteries and store the remote control with the air conditioner in a clean, dry area.
CAUTION: Please recycle or dispose of the packaging material for product in an environmentally responsible manner. Never store or ship the air conditioner upside down or sideways to avoid damage to the compressor. Dispose of this appliance in accordance with Federal and Local regulations. Refrigerants must be evacuated before disposal.
Before using the air conditioner again:
- Make sure the filter and drain cap are in place.
- Check the power cord to make sure it is in good condition, with no cracks or damage.
- Place new batteries in the remote.
- Install the air conditioner. See “Installation Instruction”.
Troubleshooting
Before calling for service, please try the suggestions below.
| Problem | Solution |
| Air conditioner will not operate | DANGER: ELECTRICAL SHOCK HAZARD
□ Plug into a grounded 3-prong outlet. □ Do not remove ground prong. □ Do not use an adapter. □ Do not use an extension cord. □ Failure to follow these instructions can result in death, fire, or electrical shock.
□ The power supply cord is unplugged. Plug into a grounded 3-prong outlet. See “Electrical Requirements” on page 5. □ Time-delay fuse or circuit breaker of the wrong capacity is being used. Replace with a time-delay fuse or circuit breaker of the correct capacity. See “Electrical Requirements” on page 5. □ The power supply cord has tripped (Reset button has popped out). Press and release RESET to resume operation. (Listen for click; RESET button will latch and remain in.) □ A household fuse has blown, or a circuit breaker has tripped. Replace the fuse, or rest the circuit breaker. See “Electrical Requirements” on page 5. □ The On/Off button has not been pressed. Press ON/OFF. □ The local power has failed. Wait for power to be restored. |
| Air conditioner blows fuses or trips circuit breakers | □ Too many appliances are being used on the same circuit. Unplug or relocate appliances that share the same circuit. □ You are trying to restart the air conditioner too soon after turn- ing off air conditioner. Wait at least 3 minutes after turning off air conditioner before trying to restart the air conditioner. |
| Air conditioner power supply cord trips (Reset button pops out) | □ Disturbances in your electrical current can trip (RESET button will pop out) the power supply cord. Press and release RESET to resume operation. (Listen for click; RESET button will latch and remain in.) □ Electrical overloading, overheating, cord pinching or aging can trip (RESET button will pop out) the power supply cord. □ After correcting the problem, press and release RESET to resume operation. (Listen for click; RESET button will latch and remain in.) If the power cord fails to rest, contact a service technician. NOTE: A damaged power supply cord must be replaced with a new power supply cord obtained from the product manufacturer and must not be repaired. |
| Problem | Solution |
| Air Conditioner seems to run too much | □ A door or window is open. Keep doors and windows closed. □ The current air conditioner replaced an older model. The use of more efficient components may cause the air conditioner to run longer than an older model, but the total energy consumption will be less. Newer air conditioners do not emit the “blast” of cold air you may be accustomed to from older units, but this is not an indication of lesser cooling capacity or efficiency. Refer to the efficiency rating (EER) and capacity rating (in Btu/h) marked on the air conditioner. □ The air conditioner is in a heavily occupied room, or heat producing appliances are in use in the room. Use exhaust vent fans while cooking or bathing and try not to use heat-producing appliances during the hottest part of the day. Portable air conditioners are designed as supplemental cooling to local areas within a room. A higher capacity air conditioner may be required, depending on the size of the room being cooled. |
| Air conditioner runs for a short time only, but room is not cool | □ Set temperature is close to room temperature. □ Lower set temperature. See “Operation”. |
| Display error code | □ If the unit displays error code E5, the water container is full. □ Drain the water, see “Draining the Air Conditioner” on page 17. After draining, the unit can be operated again. □ If the unit displays error code E1/E2/E3/E4/E6/E7/EA, please contact customer service. |
| Air conditioner runs, but does not cool | □ The filter is dirty or obstructed by debris. Clean the filter. □ Air outlet is blocked. Clear air outlet. □ Set temperature is too high. Lower set temperature. |
| Air conditioner cycles on and off too much | □ The air conditioner is not properly sized for your room. Check the cooling capabilities of your portable air conditioner. Portable air conditioners are designed as supplemental cooling to local areas within a room. □ The filter is dirty or obstructed by debris. Clean the filter. □ There is excessive heat or moisture, open container cooking, showers, etc. in the room. Use a fan to exhaust heat or moisture from the room. Try not to use heat-producing appliances during the hottest part of the day. □ The louvers are blocked. Install the air conditioner in a location where the louvers are free from curtains, blinds, furniture, etc. |
Questions, problems, missing parts? Before returning to the store, call Vissani Customer Service
8 a.m. – 7 p.m., EST, Monday -Friday, 9 a.m. – 6 p.m., EST, Saturday
1-877-527-0313
HOMEDEPOT.COM
Retain this manual for future use.





































