PROFICIENT PAS-HRSIW8-CAB High-Resolution Series In-Wall Subwoofer

IMPORTANT SAFETY INSTRUCTIONS
- Read Instructions.
- Keep these Instructions.
- Heed all Warnings.
- Follow all Instructions.
- Do not use this apparatus near water.
- Clean only with a dry cloth.
- Do not install near any heat sources such as radiators, heat registers, stoves, or other apparatus (including amplifiers) that produce heat.
- Refer all servicing to qualified service personnel. Servicing is required when the apparatus has been damaged in any way, such as a connector is damaged, liquid has been spilled or objects have fallen into the apparatus, the apparatus has been exposed to rain or moisture, does not operate normally, or has been dropped.
- Object and Liquid Entry — Care should be taken so that objects do not fall into and liquids are not spilled into the inside of the apparatus.
WARNING: THIS LOUDSPEAKER IS CAPABLE OF PRODUCING VERY HIGH SOUND PRESSURE LEVELS. YOU MUST TAKE EVERY PRECAUTION TO PROTECT YOUR HEARING FROM PERMANENT DAMAGE.
DIMENSIONS
INTRODUCTION
Thank you for purchasing this Proficient High Resolution Series HRSIW8 in-wall subwoofer. We hope you enjoy it and the music it makes as much as we have enjoyed creating it for you.
The companion Sunfire HRSIW8AMP or Proficient M3 amplifier is designed to supply speaker-level power to the HRSIW8 in-wall subwoofer, to produce stunning low frequency effects for your home theater.
This guide gives an overview of the features of your subwoofer. Further details of the system are supplied in the manual provided with the Sunfire HRSIW8AMP or Proficient M3 amplifier.
UNPACKING
Your Proficient subwoofer should reach you in perfect condition. If you do notice any shipping damage, please contact your Proficient Dealer immediately.
Gently lift out the unit and remove all the packing material. It is important to save all the packing materials and the box in case your subwoofer ever needs to be moved or shipped for repair.
Make sure that you keep your sales receipt. It is the only way to establish the duration of your Limited Warranty and it may come in useful for insurance purposes.
For more information on this and other Proficient products, please visit our website: www.proficientaudio.com
FEATURES
- Sealed cabinet
- High pressure design
- Dual 8 inch woofers
- Fiberglass cones
- StillBass™ anti-shake technology
- Gold plated spring terminals
- Rear channel for securing the speaker wires
- Designed for in-wall mounting with six wall clamps
- Wall cut-out template supplied
- Removable grill attaches with magnets and is easily removable for painting
- Designed to be powered exclusively by the Sunfire HRSIW8AMP amplifier or Proficient M3 amplifier.
CARE
To maintain the subwoofer’s finish, first turn off the amplifier and then use a soft dry cloth to clean the grille surface. The grille can be removed to clean it, if required.
If your Proficient subwoofer ever needs servicing, please contact your nearest authorized Proficient Dealer.
REAR PANEL FEATURES
- Binding Posts
The subwoofer has one pair of binding posts for connection with speaker wire to the output posts of the Sunfire HRSIW8AMP or Proficient M3 amplifier.
Always use high quality connections and speaker wires, and make sure there are no loose fittings or stray wire strands. The spring connections accept bare wire or pins.
Connect the positive speaker-level output of the amplifier to the positive (red) input of the subwoofer. Connect the negative speaker-level output of the amplifier to the negative (black) input of the subwoofer.
Make sure that the positive and negative connections do not touch, or this may damage your power amplifier. - Speaker Wire Channel
To ease installation, the speaker wiring are passed through these channels to the binding posts. This is recommended as the channel will support the weight of the speaker cable, so it does not pull on the binding posts. - Clamps
Once the subwoofer is pressed into an opening in the sheetrock, screws on the front panel are turned to pull the clamps out and down to press against the sheetrock, and secure the subwoofer in place.
FRONT PANEL FEATURES
- Woofers
The HRSIW8 uses two identical 8 inch custom drivers. - Clamp Screws
These six screws are used to clamp the loudspeaker in place once it has been pressed into the sheetrock opening of your wall. - Grille Magnets
The grille is attached to the main body with small magnets around the edge of the subwoofer baffle. - Grille
To remove the grille, gently pry it away from the corners and release it from the magnets holding it in place. The grill can be painted to match the room decor. - Cutout Guide
This guide allows you to easily mark the required cutout onto your wall.
LOCATION
The suggestions below will typically result in outstanding performance. However, although low frequencies are non-directional, factors such as room reflections standing waves, resonance and absorption will strongly affect your subwoofer’s performance.
Since your Proficient subwoofer is designed to be professionally installed into your wall, engineering services from your authorized Proficient dealer and/or outside acoustical resources should be considered to ensure optimum performance.
Preliminary
Before cutting a hole in your wall, it is always best to test the subwoofer in that location first. Place it on the floor near to the “possible” location, and connect it to the amplifier. Play some typical bass passages through the subwoofer. This will help you identify any problems in the sound due to the location, and you may be able to find a location that sounds better.
Corner installation
Installing the subwoofer on the front wall, towards the corner will reinforce the low frequencies. This is best suited for:
- Rooms larger than 200 square feet where a single subwoofer will be used
- For dedicated home theaters
- For listeners who enjoy “heavy” bass.

Center Location
Installing the subwoofer closer to the center of the front wall will still provide adequate bass, but will tend to be less “heavy” and somewhat tighter. This is ideally suited for:
- For rooms smaller than 200 square feet
- Dedicated music listening rooms.

Using Two Subwoofers
If you wish to use two subwoofers, the sound output will double. Each subwoofer will need its own dedicated amplifier.
Locating the subwoofers on the front wall, with one towards each corner will provide more flexibility in crossover points, without causing localization that can happen with subwoofers located on side and rear walls. If your preamplifier has a single sub/LFE output, use a Y cable to split it into two outputs, one for each amplifier.
SYSTEM CONFIGURATION
Connecting to your HRSIW8AMP
Connecting to your M3 Amplifier
SUBWOOFER INSTALLATION
Read the details on page 8 to help determine the best position for your subwoofer in the room.
The subwoofer can be wall mounted vertically, centered between vertical wall studs. This is the recommended (and easiest) orientation to install.
Horizontal mounting into existing construction will most likely mean cutting a vertical stud. This installation should be done by an experienced and qualified carpenter, to prevent weakening the wall structure. When the extra framing is done, the installation and wiring is the same as described below.
Tools required
- Phillips screwdriver
- Pencil or another suitable wall marker
- Sheetrock hand saw
- Safety glasses
- Level
- Masking tape
- Flashlight
- Small mirror
- Electronic stud finder if needed
- You may need an assistant.
Preliminary Steps
- If the TV display is in place nearby, it should be removed from the wall, or at least turned off and covered.
- Clear the area where you are going to work, so it will be safe. Remove any fragile objects, small children or pets, and cover anything that might be affected by dust from cutting sheetrock.
- Put on your safety glasses.
Marking and cutting the opening
- Choose the best location for your subwoofer, preferably centered between vertical wall studs. Use a stud finder to find where the studs are. Do not position the subwoofer closer than one inch from the cabinet sides to a stud. This allows for the clamps to swing out.
- Tape the supplied cutout template onto the wall surface, and use a level to make sure it is vertical.
- Mark the sheetrock with a pencil around the inside of the template, and remove the template.
- IMPORTANT: Turn off the electricity to the room, just in case you accidentally cut a live AC mains wire.

- Drill a small pilot hole, and using a flashlight and small mirror, look for any obstructions such as water pipes, gas lines, or electrical wires that may interfere with the subwoofer installation.
- If all is clear, carefully cut out the sheetrock around the marked lines, and remove any debris from the hole.
Wiring
- Install the speaker wires following all local codes for low voltage electrical wiring installation. Use class 2 wiring, and 12 gauge is recommended, 16 gauge is the minimum.
- Follow common low voltage practices like avoiding high voltage electrical wiring, or if this is not possible, try crossing them perpendicularly. This will reduce the chance of picking up hum or other interference.
- If required, pass the wiring through the speaker wiring channels in the back of the subwoofer.
- Do an electrical continuity test to make sure the connections are good from the amplifier end of the speaker wire to the ends of the wires at the subwoofer.

- Secure the wiring to the loudspeaker’s spring-loaded binding posts, observing the correct polarity. Gently pull on them to make sure they are secure.
- It is a good idea to secure the wiring from vibration as much as possible. Do not have the weight of the cables hanging on the terminals. Try using heavy duty electrical staples to hold the speaker cable securely to the studs.
Installing the Subwoofer
- Press the subwoofer into the sheetrock opening making sure that the speaker wires do not get pinched or cut.

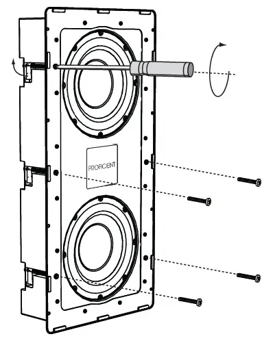
- Screw in the six clamp screws. As the screw turns clockwise, a clamp rotates out and presses onto the back of the sheetrock to hold the subwoofer firmly in place. Tighten the clamps so they are snug, but do not over tighten as they could damage the sheetrock.
Tighening the clamps (sheetrock not shown, for clarity)
Final steps
- Add the grille to cover and protect the woofers.
- The grill can be painted if desired, and this best done when it is not attached to the subwoofer.
- Enjoy your new subwoofer.
SPECIFICATIONS
TROUBLESHOOTING
The HRSIW8 subwoofer is designed and built to provide years of trouble free performance. Most problems that occur can usually be solved by checking your setup, or by making sure all components are fully operational.
The following information will help you deal with common problems you may experience. If a problem persists, please contact your Dealer for assistance.
Poor or no sound
- Check all the connections from the subwoofer to the amplifier.
- Check that the amplifier is not driven too hard.
- Many processor/preamps can send test tones through all the loudspeakers in your system. Use this to adjust the volume of each channel until they are all playing at the same level. Make sure that any bass management options are set correctly.
- If the system bass is weak only when playing surround sources, check that your processor is correctly set to decode the surround modes, such as Dolby Digital or DTS.
LIMITED 5-YEAR WARRANTY
Nortek Security & Control, LLC (“Nortek Security & Control”) warrants to the original retail purchaser only that this product will be free of manufacturing defects in material and workmanship for the following periods and subject to the limitations and exclusions set forth below:
5-Year Warranty
This warranty is not transferable to subsequent purchasers of the product. To obtain warranty service, contact the authorized dealer where you purchased your product or take the unit to the nearest authorized dealer (with proof
of purchase – claims made without proof of purchase will be denied) who will test the product and if necessary, forward it to Nortek Security & Control for service. If there are no authorized Dealers in your area, please contact Nortek Security & Control to receive a factory Return Authorization Number. DO NOT RETURN ANY UNIT WITHOUT FIRST RECEIVING WRITTEN AUTHORIZATION AND SHIPPING INSTRUCTIONS FROM Nortek Security & Control.
Upon examination, Nortek Security & Control will, at its sole option and expense, repair or replace any product found to be defective. Nortek Security & Control will return the repaired or replaced unit to you via its usual shipping method from the factory or repair center to your address in the United States of America or Canada only. Any shipping costs for addresses outside of the United States or Canada shall be the responsibility of the purchaser. In the event that this model is no longer available and cannot be repaired effectively, Nortek Security & Control, at its sole option, may replace it with a different model of equal or greater value, or refund the original purchase price paid.
THE FOREGOING ARE YOUR EXCLUSIVE REMEDIES FOR BREACH OF WARRANTY.
This Warranty does not include service or parts to repair damage caused by improper use or handling, including but not limited to damage caused by accident, mishandling, improper installation, commercial use, abuse, negligence, or any defect caused by repair to the product by anyone other than Core Brands. This warranty does not cover reimbursement for your costs of removing and transporting the product for warranty service evaluation, or installation of any replacement product provided under this warranty.
This Warranty will be void if:
- The Serial Number on the product has been removed, tampered with or defaced.
- The product was not purchased from an authorized dealer or reseller.
THE FOREGOING WARRANTIES ARE EXCLUSIVE AND IN LIEU OF ALL OTHER EXPRESSED AND IMPLIED WARRANTIES. NORTEK SECURITY & CONTROL EXPRESSLY DISCLAIMS ALL SUCH OTHER WARRANTIES, INCLUDING BUT NOT LIMITED TO IMPLIED WARRANTIES OF MERCHANTABILITY, FITNESS FOR A PARTICULAR PURPOSE AND NON-INFRINGEMENT, WITH RESPECT TO THE PRODUCT. TO THE MAXIMUM EXTENT PERMITTED BY LAW, NORTEK SECURITY & CONTROL SHALL NOT BE RESPONSIBLE FOR ANY INCIDENTAL OR CONSEQUENTIAL DAMAGES EXCEPT TO THE EXTENT PROVIDED (OR PROHIBITED) BY APPLICABLE LAW, EVEN IF NORTEK SECURITY & CONTROL HAS BEEN ADVISED OF THE POSSIBILITY OF SUCH DAMAGES.
Notwithstanding the above, if you qualify as a “consumer” under the Magnuson-Moss Warranty Act, or applicable state laws, then you may be entitled to any implied warranties allowed by law for the Warranty Period. Further, some states do not allow limitations on how long an implied warranty lasts or allow the exclusion or limitation of consequential damages, so such limitations may not apply to you. This warranty gives you specific legal rights, and you may also have other rights which vary from state to state.
For the name of your nearest authorized dealer, contact: Nortek Security & Control, 5919 Sea Otter Place, Suite 100 Carlsbad, CA 92010, or call (800) 472-5555 or (707) 778-5733.
With regard to sales over the Internet, please be advised that Nortek Security & Control only sells products through a select group of authorized Internet Resellers. Products offered on the Internet through unauthorized Internet dealers are not covered by Nortek Security & Control.
- Goods acquired on a secondary or gray market
- Counterfeit or stolen goods
- Damaged, or defective goods
Please fill in your product information and retain for your records.
Model ________________________________________
Serial # _______________________________________
Purchase Date __________________________________
©2020 Nortek Security & Control LLC. All Right www.proficientaudio.com



























