tessa TSA5050 Robot vacuum cleaner

Thank you for purchasing TEESA appliance. Please read this operation instruction carefully before use, an d keep it for future use. Distributor does not take responsibility for damages caused by inappropriate handling and use of the product.
SAFETY INSTRUCTIONS
In order to reduce the injuries or damages, follow basic safety precautions applied when using any electrical device, including the following:
- Read this instruction manual carefully, even if you are familiar with the appliance. Keep the manual for future reference.
- Before connecting the appliance to power supply socket, make sure the voltage indicated on the appliance corresponds to the voltage in the power supply socket.
- Product intended for household use only.
- Clean and store this appliance in accordance to instructions listed in “Cleaning and storage” section.
- ALWAYS turn off the appliance and disconnect it from the mains supply:
• if it’s not operating correctly,
• if there’s an uncommon voice when using,before disassembling the device,
• before cleaning,
• when not in use. - When you disconnect the power cord of the appliance, grasp and pull the plug, not the cord/cable.
- This appliance may be used by children who are above 8 years old and by persons with reduced physical, sensory or mental capabilities, or lack of experience and knowledge, if they are supervised and guided by a person who is responsible for their safety in a cautious manner, and all the safety precautions are understood and followed. Children should not play with this device. Children should not perform cleaning and servicing of the device unsupervised.
- Keep the appliance out of the reach of children.
- Use only the included AC adapter to charge the device.
- Keep the appliance and its cord/cable away from heat, water, moisture, sharp edges and any other factor which may damage the appliance or its cord.
- Make sure the power cord does not touch any hot or sharp elements.
- Do not use the product for purposes different from displayed in this operating manual.
- Do not place the appliance in water or any liquid; nor handle/use it with wet or moist hands.
- DO NOT use this appliance if the cord or the plug is damaged, or the appliance is broken.
- Do not attempt to repair this appliance yourself. Only authorized and qualified personnel may repair this appliance. Never disassemble this appliance.
- Do not use unauthorized accessories
IMPORTANT
|
*** Environmental conditions such as exposure to sunlight may influence cliff sensor operation. Therefore it is important to ensure safe operation for the robot vacuum cleaner. If in the room to be cleaned there are stairs, balcony or any other places where the appliance is exposed to a fall, use a physical barrier so that in case of cliff sensor malfunction, the appliance will not get damaged.
PRODUCT DESCRIPTION
TEESA SMART VAC 2
Top view

- Bumper
- IR sensor
- ON/OFF button/ LED indicator
- Upper cover
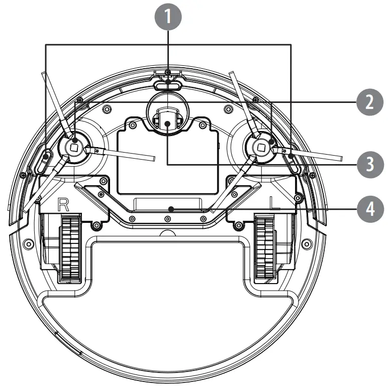
Bottom view

- Cliff sensors
- Side brushes
- Front wheel
- Suction intake

- Dustbin
5a. Premilinary filter
5b. HEPA 11 filter
5c. HEPA 11 filter seal - Power switch
- Charging socket
CHARGING DOCK



- LED indicator
- Signal emission area
- Charging pins
- Bottom cover
- Wire slots
- Power socket
REMOTE CONTROL
- Start/stop automatic cleaning
- Auto docking and charging: the appliance will automatically return to the charging dock and start recharging
- Start operation, press again to stop and enter standby mode
- Direction buttons: manually navigate the appliance (in operation and standby mode)
- Activate spot cleaning mode
- Activate random cleaning mode
- Activate edge cleaning mode
- Suction power adjustment (two levels available)
- Locate the appliance. When you press this button, the appliance will issue a voice prompt which can help you locate it

REMOTE CONTROL BATTERY INSTALLATION
- Remove the battery cover at the back of the remote control.
- Insert 2x AAA battery with correct polarization.
- Reattach the battery cover.
Notes:
- Always point the IR sensor of the remote control towards the IR sensor on the front of the appliance.
- Use only specified batteries.
- Do not mix different types of batteries.
- Replace all batteries at the same time.
- Please remove the batteries if the remote control is not going to be used for a long time.
INSTALLATION
Charging dock
- Remove the cover at the bottom of the charging dock.
- Connect the plug of the AC adapter to the power socket and put the excess cable inside the compartment. Afterwards, reattach the cover.
If the excess cable will not be put into the slot, the appliance may stuck during charging or cleaning. Make sure charging dock is ALWAYS plugged in. Otherwise, the appliance will not return to the dock automatically - Place the charging dock against the wall on a floor and connect the AC adapter to the power outlet.
Notes:
• Ensure a space of above 0,5 m on both sides of the charging dock and a space of above 1,5 m in the front. Make sure that space will be easily accessible for the appliance.
• Make sure the cable of the AC adapter is not lying flat on the floor as it may be dragged by the more than 0,5 m appliance and consequently the charging dock may be powered off.
• LED indicator on the charging dock is on when the more than 1,5 m more than 0,5 m charging dock is plugged in.
- Please do not move the charging dock arbitrarily and keep it out of direct sunlight.
Notes:
• If the charging dock is relocated, the appliance may fail to locate it.
• Direct sunlight will interfere with recharging signal and consequently the appliance may be unableto return to the charging dock.
Clean the charging pins of the charging dock regularly to avoid malfunction.
Side brushes
- Make the left side brush (L) and the right side brush (R) correspond to L and R on the bottom casing.
- Press the L and R side brushes into corresponding slots until they lock in place. If you hear a clicking sound that means that the brushes have been installed correctly.

CHARGING
You can charge the appliance in two ways:
- By directly connecting the appliance to power supply
Connect one plug of the AC adapter to the power socket of the appliance; connect the other plug to the wall outlet.
- Using charging dock (automatic charging)
Make sure the charging dock is correctly installed and connected to the power supply (LED is on).
- When the appliance is operating, and the battery level gets low, the appliance will automatically return to the charging dock.
- Press the button on the remote control and the appliance will return to the charging dock for recharge.
- You can also manually put the appliance on the charging dock. Make sure that the charging pins on the bottom of the appliance align with the charging pins on the charging dock.
LED indicator

| Color | Battery status |
| Flashing red | Charging in progress |
| Solid blue | Charging finished, battery fully charged |
Notes:
- When the battery is low, there will be a voice notification and red LED will flash for a few times. The appliance will not start working in that state.
- When charging for the first time, make sure that it is charged for at least 6 hours.
- Make sure to fully charge the appliance before first use.
- If the appliance is not used, charge the appliance every 5 weeks to protect the battery.
OPERATION
Power on: First set the power switch to I position.
Start cleaning: Press the ON/OFF button on the
appliance or the start
stop / AUTO button on the remote control. The appliance starts automatic cleaning. Blue LED on the appliance flashes. When the battery level gets low, the appliance will automatically return to the charging dock for recharge. Stop cleaning: When the appliance is operating, press the ON/OFF button on the appliance or the
/ AUTO button on the remote control to stop operation. The appliance enters standby mode.
Power off: Set the power switch to 0 position.
Suction power control: Press the
button on the remote control to select between two the available levels.
Navigating the appliance manually (in standby mode): Use direction buttons on the remote control to manually control the appliance.
- Keep the ▲button pressed, so that the appliance will move forward.
- Use the ◀▶ buttons to turn left/right.
- Press the▼ to move backwards.
Note: You can also use the direction buttons during automatic cleaning (◀▼ ▶ ) to adjust the appliance’s path.
Cleaning modes
The appliance has been equipped with three cleaning modes. Use the remote control to choose one of them.
| Button on the remote control | Mode name | Mode description |
![]() | SPOT CLEANING MODE | If you want to clean the specific area, put the appliance in that place and activate spot cleaning mode. The appliance will issue a voice notification and start cleaning by spiraling outward and then spiraling inward to where it started. Then it will switch to random cleaning mode and operate until low battery. |
![]() | EDGE CLEANING MODE | If you want to clean for example along the walls or furniture, activate the edge cleaning mode. The appliance will issue a voice notification and start operation.When it detects a wall or an obstacle it will start cleaning alongside for 20 minutes; afterwards, the appliance will switch to random cleaning mode. |
![]() | RANDOM CLEANING MODE | After pressing the button, the appliance will issue a voice notification and start operation. It will go straight until meeting first obstacle, bounce back, change direction and move on. It will operate in that mode, until low battery, then it will return to the charging dock for recharge. |
CLEANING
Prior to cleaning make sure the appliance is turned off (the power switch is in 0 position).
Side brushes
- Turn over the appliance and pull out the side brushes upwards.
- Clean them from any hair, debris or threads which have been entangled around the shaft. The side brushes can be rinsed under running water. In such case, always make sure to dry them completely.
- When the side brushes are clean and dry, push them onto the shaft until you hear a click (always match the symbol L and R on the brush to correspond to the position of L and R at the bottom of the appliance respectively).
- If the side brushes are worn and as a consequence cleaning performance deteriorates, replace them with new ones*.
* One extra pair of side brushes is included in the set. Side brushes are available to be purchased online at www.teesa.pl lub | www.rebelelectro.com
Dustbin and filters
Empty the dustbin after each use!
- Push the upper cover in the designated

- Grasp the dustbin handle and take out place- it will open automatically. the dustbin.

- Unlock the clip at the side of the dustbin and open its cover.
- Take out the preliminary filter. Rinse it under running water. Let it dry completely in the shade.

- Remove the HEPA filter and the seal. Rinse them under running water. Let them dry completely in the shade.

• It is recommended to clean the filters every 3 weeks.
• HEPA filter can be washed under running water up to 50 times.
• The maximum lifespan of the HEPA filter is 12 months. Thereafter, replace it with a new one.
• Replace it also when you notice significant deterioration in cleaning performance.
• HEPA filter is available to be purchased online at www.teesa.pl lub www.rebelelectro.com - Empty the dustbin and rinse it under running water. Wipe it well with a soft cloth or let it dry completely in the shade.

- When all parts are clean and completely dry**, put the filters back into place and close the dustbin lid (make sure you hear a click). Put the dustbin back into the appliance.

- Close the upper cover (make sure it clicks and locks in place).
** DO NOT INSERT WET OR SLIGHTLY MOIST PARTS INTO THE APPLIANCE AS THIS BRINGS THE RISK OF ELECTRIC SHOCK AND CAN DAMAGE THE APPLIANCE.
Air inlet
Check regularly for any dust and debris in the suction intake. Make sure the suction intake is not blocked by any foreign body.
Sensors
There are three sensors at the bottom of the appliance (see the exact location shown below). Gently wipe the sensors with a dry, soft cloth.
It is crucial for proper operation of the appliance to keep the sensors clean all the time. Otherwise, the appliance may malfunction
Wheels
Clean the wheels with a cleaning brush or with a soft, dry cloth. If wheels are blocked by a foreign body, use a rod or tweezers and carefully remove it.
Charging dock
Wipe the signal emission area as well as the charging pins (including those on the bottom of the appliance) with a soft, dry cloth.
SPECIFICATION
Main features
- For multiple hard floor types and low pile carpets
- Washable HEPA filter
- 3 cleaning modes
- Two side brushes
- Cliff sensor
- Charging indicator
- Voice notifications
- Auto docking and charging
- Overcoming obstacles up to 1,2 cm
- Low profile design (7,7 cm)
- Rubber bumper
- Navigating with remote control (2x AAA battery, not included)
Technical data
| Suction power | 1000 Pa (2 levels) |
| Filter | HEPA 11 |
| Dustbin capacity | 200 ml |
| Cleaning area | 90 m2 |
| Operation time | 70 – 90 min |
| Charging time | approx. 4 – 6 h |
| Noise level | 52 dB |
| In set | remote control, 2 pairs of side brushes, cleaning brush, charging dock, AC adapter |
| Weight | 1,6 kg |
| Dimensions | ø28 x 7,7 cm |
Power supply
| Power | 15 W |
| Battery | 9,6 V; 2000 mAh |
| AC adapter: | |
| Input | 00 – 240 V~; 50/60 Hz |
| Output | 12 V / 580 mA |
Correct Disposal of This Product
(Waste Electrical & Electronic Equipment)
(Applicable in the European Union and other European countries with separate collection systems) This marking shown on the product or Its literature, indicates that It should not be disposed with other household wastes at the end of its working life. To prevent possible harm lo the environment or human health from uncontrolled waste disposal, please separate this from other types of wastes and recycle it responsibly to promote the sustainable reuse of material resources. Household users should contact either the retailer where they purchased this product, or their local government office, for details of where and how they can take this item for environmentally safe recycling. Business users should contact their supplier and check the terms and conditions of the purchase contract This product should not be mixed with other commercial wastes for disposal.
Made in China for Lechpol Electronics Leszek Sp.k., ul. Garwoliska 1, 08-400 Mitne.



References
Rebel Electro - Co weekend SuperOkazje
Teesa - małe AGD dla Ciebie, dla domu
Ηλεκτρονικά DM PROELECTRONICS – Μικροσυσκευές TEESA, κάμερες ασφαλείας, κεραίες, εικόνα & ήχος
Rebel Electro - Co weekend SuperOkazje
Teesa Ηλεκτρικές Συσκευές – Μικροσυσκευές για Σένα & το Σπίτι
Vitajte | VELKO - veľkoobchod so spotrebnou elektronikou
































