17.6 CU. FT. Refrigerator
Model: RA-2176
User Manual
IMPORTANT SAFETY INSTRUCTIONS
PLEASE SAVE THESE INSTRUCTIONS. YOU MAY NEED THEM IN THE FUTURE.
- This refrigerator must be properly installed and located in accordance with the installation instructions in this guide before it is used.
- Do not allow children to climb, stand or hang on the shelves in the refrigerator. They could damage the refrigerator and seriously injure themselves.
- Do not store or use gasoline or other flammable vapors and liquids in the vicinity of this or any other appliance.
- Keep fingers out of the space between the doors and cabinet. Be careful closing doors when children are in the area.
- Unplug the refrigerator before cleaning and making repairs.
- We strongly recommend that any servicing be performed by a qualified individual.
- Do not leave the refrigerator in extremely cold or warm temperatures.
- Do not place the refrigerator near heat sources or open flames.
- Clean the refrigerator with a soft, damp cloth. Remove stains with a mild soap. Do not clean the unit with industrial-grade solvents, or abrasive chemicals.
- Do not place heavy items on top of the refrigerator.
- Never install the refrigerator where there is a lot of moisture or in areas where water can splash.
- Do not allow children to hang on the doors; the refrigerator may be tip over and hurt children.
- Never eat food that may have spoiled because it was stored too long in the refrigerator or was stored in an out-of-order refrigerator.
- Do not use sharp tools inside the refrigerator (such as an ice pick to remove ice) as damage may occur.
- When not using it for a long period of time, remove all food from the refrigerator and unplug the unit.
- Before connecting the unit to the power source, let it stand upright for approximately 24 hours. This will reduce the possibility of a malfunction in the cooling system due to any handling during shipment.
BEFORE DISCARDING YOUR OLD REFRIGERATOR
Your old refrigerator may have a cooling system that used CFCs (chlorofluorocarbons) or HCFCs (hydrochlorofluorocarbons).
CFCs and HCFCs are believed to harm stratospheric ozone if released into the atmosphere. If you are going to throw away your old refrigerator, make sure the refrigerant is removed for proper disposal by a qualified technician. Check with your retailer to find out if they’ll take away and responsibly dispose of or recycle your old refrigerator.
For more information on Responsible Appliance Disposal see: https://www.epa.gov/rad
CHILD ENTRAPMENT WARNING
Risk of child entrapment. Before you throw away your old refrigerator or freezer:
- Take off the doors.
- Leave the shelves in place, so that children cannot easily climb inside.
DO NOT USE AN EXTENSION CORD WITH THIS APPLIANCE
FOR HOUSEHOLD USE ONLY ——- SAVE THESE INSTRUCTIONS
GETTING STARTED
Thank you for purchasing this Impecca 17.5 Cubic Foot Refrigerator. Please follow these operating instructions carefully. Keep these instructions in a safe place and consult them as needed.
Note: All images in this instruction manual are for illustration only; the physical appearance and options on your model may vary.
SERIAL AND MODEL NUMBER
Please record your model number and serial number below.
You can find the number plate in the upper-left wall inside the refrigerator.
Model Number: RA-2176________
Serial Number: ________________
Date of Purchase: ______________
SAFETY NOTICES
This appliance is intended to be used in household and similar applications such as:
- Staff kitchen areas in shops, offices and other working environments
- Individual use in hotel rooms and other residential type environments
INSTALLING YOUR APPLIANCE
LOCATION When selecting a position for your unit, ensure the floor is a flat, level surface and the room is well ventilated. Avoid locating your unit near a heat source, such as an oven, stove-top, boiler, or radiator. Avoid direct sunlight, as it may increase the unit’s electrical consumption.
Extremely cold ambient temperatures may also prevent the unit from operating effectively. This unit is not designed for use in a garage or outdoor installation. Do not place any covering (such as a drape or sheet) on the unit.
When installing the unit, ensure that a minimum of 2 inches of free space is left at both sides and in the rear, and 1 inch at the top of the unit. This will allow cold air to circulate around the refrigerator and improve the efficiency of the cooling process.
The refrigerating system in this refrigerator is a “Frost Free” system. This type of system requires no user inter- vention (i.e. defrosting) other than selecting required cooling temperatures and the usual care and maintenance.
This unit is a FREE-STANDING INSTALLATION ONLY, and is NOT intended to be built-in. In the final installation location, the unit’s door must be able to open fully and without posing any safety risk.
W = Ap. 30 inches D = App. 58 inches (includes open door)
LEVELING THE UNIT
It is very important to keep the unit level so that the door will close properly and prevent problems that will cause effective cooling to fail. To level the unit, turn the adjustable legs clockwise or counterclockwise to raise or lower the corner.
Note:
If the unit is not level, the door and magnetic seal alignments will not be covered properly.
Install this appliance in an area where the ambient tem- perature is between 55°F (13°C) and 110°F (43°C). If the temperature around the appliance is too low or high, cooling ability may be affected.
CLEANING BEFORE USE
Wipe the inside of the unit with a weak solution of baking soda (bicarbonate). Then rinse with warm water using a damp sponge or cloth. Wash the shelves and bins in warm soapy water and dry completely before putting back in the unit. Clean the exterior of the unit with a damp cloth.
GROUNDING INSTRUCTIONS
This appliance must be grounded. The refrigerator must be plugged into its own dedicated 115 Volt electrical outlet. Performance may be affected if the voltage varies by 10% or more. Operating the refrigerator with insufficient power can damage the compressor. Such damage is not covered under your warranty. The power cord of the appliance is equipped with a three-prong grounding plug for your protection against electrical shock hazards. It must be plugged directly into a properly grounded three- prong receptacle. The receptacle must be installed in accordance with local codes and ordinances. Do not use an extension cord or adapter plug. You must make sure all three prongs are in a 3-pronged outlet (see figure).
WARNING: Improper use of the grounding plug can result in a risk of electric shock. Consult a qualified electrician or service person if the grounding instructions are not completely understood, or if doubt exists as to whether the 3-pronged appliance is properly grounded. 
PRODUCT UNIT DIAGRAM

| 1. Freezer Section 2. Freezer Shelf 3. Freezer Temp Control 4. Refrigerator Section 5. Fridge Temp Control | 6. Fridge Shelves 7. Veggie Crispers w/ Glass Cover 8. Leveling legs 9. Freezer Door and bins 10. Fridge Door and Bins |
Note: The above picture is for reference only.
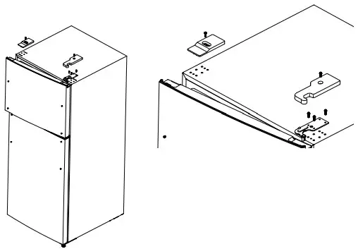
DOOR HANDLE INSTALLATION
Before attaching the handle, please determine which way you would like the door to open (see the next section).
The refrigerator must be disconnected before attempting the installation of the door handles. You will need a Phil lips screwdriver for this.
- Remove the handle pieces from the bag.
There are two handle bases and two handle covers.
- Unscrew the two screws on the upper (freezer) door (according to the swing direction).

- Combine the handle base with the screws.
Then, tighten the screws properly.
- Lock the handle cover in place on the base.
- Perform the same steps for the lower (refrigerator) door.

DOOR SWING REVERSAL (OPTIONAL)
Prior to installing and turning on your refrigerator, make sure you determine if you’d like to reverse the way the door opens. You will need a Phillips screwdriver to do this. Note: These instructions are for changing the hinges from the right side to the left side. If you wish to change the hinges back to the right side, follow these same instructions and reverse all references to left and right.
CAUTION! TO AVOID INJURY TO YOURSELF AND/OR PROPERTY, WE RECOMMEND SOMEONE ASSIST YOU DURING THE DOOR REVERSAL PROCESS. MAKE SURE THE APPLIANCE IS UNPLUGGED.
Note: If you lay your refrigerator on its back or side for any length of time, wait for six hours after you stand it up again before you plug it in. Otherwise, you may damage internal components.
- Ensure the appliance is unplugged and empty.
- Adjust the two leveling feet to their highest position.
- Have something solid against which to rest the appliance. This will be necessary when it comes to taking off the door.
- Avoid laying the refrigerator completely flat on its back as this may damage the cooling system.
STEP 1: REMOVE THE FREEZER DOOR FIRST
Using a flathead screwdriver, gently pry and lift the right top hinge cover and the left cover plate. Use a Phillips screwdriver to unscrew the screws of the right top hinge.
Remove the upper hinge and lift the freezer door upward to detach it.
STEP 2: REMOVE THE REFRIGERATOR DOOR
Unscrew the three screws holding the center hinge with a Phillip’s screwdriver. Remove the hinge and save the screws and hinge. Raise the refrigerator door upward, as shown.
STEP 3: REPLACING THE BOTTOM HINGE
a. Unscrew the two screws holding the bottom hinge and remove the bottom hinge from the bottom right side of the refrigerator.
b. Unscrew the hinge pin from the right side of the bottom hinge and move it to the left side of the refrigerator.
c. Secure the bottom hinge to the bottom left side of the refrigerator, using the screws you removed previously.
STEP 4: REFITTING THE DOOR HARDWARE
a. Remove the plastic bushing from the top right side of both the freezer and fridge doors. 
b. Remove the hole plug from the top left of the refrigerator door and insert it in the top right side of the refrigerator door.
c. Remove the aid-closer from the bottom-right of the two doors and install the aid-closer on the bottom-left.
STEP 5: REINSTALLING THE REFRIGERATOR DOOR
Attach the refrigerator door on the bottom hinge andthen attach the left-center hinge to the left side of therefrigerator.
STEP 6: REINSTALLING THE FREEZER DOOR
Put the freezer door onto the left center hinge and then attach the top left hinge to the top of the refrigerator. Cover the hinge with the top left hinge cover and cover the screw holes on the upper-right side with the cover plate (removed previously).
STEP 7: REFITTING HOLE PLUGS AND HANDLE CAPS
Replace all handle hole plugs into the remaining holes on the left side. Refit the handle caps onto the ends of handles to cover screw holes.
OPERATION
REFRIGERATOR TEMPERATURE CONTROL
There are two temperature controls, the first one is for the refrigerator, located on the top of the refrigerator compartment.
Press the SET button to cycle through temperature settings. Press and hold the SET button for 3 seconds at a time to shut the fridge off, or to turn it back on.
There is also a control knob in the freezer (see left) to balance the cold air distribution between the two compartments. The temperature control in the refrigerator compartment will control the actual cooling cycle. The freezer’s control knob will adjust the distribution of the cold air between the freezer and the refrigerator compartments. The first time you turn the unit on, adjust the FREEZER temperature control knob to “COLDEST” and also set the refrigerator compartment to “COLDEST” and run it for at least 4 hours before placing foods inside. This will ensure the freezer cabinet is thoroughly chilled and the refrigerator compartment is stabilized before food is placed inside. Then, be sure to set both of them to “Recommended”. This will distribute the cold air equally between both compartments which should be appropriate for home or office refrigerator use. You can adjust it later if necessary.
NOTE
- If the refrigerator has been placed in a horizontal or tilted position for any period of time, wait 24 hours with the unit standing upright before plugging it in again.
- The appliance may not operate at the correct temperature if it is in a particularly hot environment, or if the door is opened too frequently.
- If the unit is unplugged, you must wait 3 to 5 minutes before restarting the unit (plugging the unit back in). Else, the refrigerator may not start.
- If the power goes out, the unit should restart itself when the power comes back on.
- Large amounts of food will lower the cooling efficiency of the appliance.
- Do not arrange food so that it blocks an air vent. Leave adequate space between food items for air flow in the cabinet.
THE FREEZER COMPARTMENT
- This compartment is designed for the long-term storage of frozen food. The storage time period is up to three months.
- Place frozen food into the freezer as quickly as possible after purchase. If there are instructions on the package, carefully follow these instructions regarding storage times.
CARE AND MAINTENANCE
COOLING SYSTEM
This refrigerator has a FROST FREE type cooling system, which means you never have to defrost the freezer com- partment. The defrost water is routed into a defrost pan located near the compressor, where it then evaporates.
CLEANING
Before cleaning the refrigerator or freezer, always disconnect the refrigerator from the power supply. To clean the inside, use a soft cloth with a baking soda solution (one tablespoon baking soda to 4 cups of water). A mild soap suds solution or mild detergent is also ok. Wash the ice cube tray, drip tray, and glide out shelves in a mild detergent solution, then wipe dry with a soft cloth. Clean the outside with a damp soft cloth and some mild detergent or appliance cleaner.
VACATION TIME
For short vacation periods (a couple of weeks or less), leave the control knob at the usual settings but remove food that might spoil.
During longer absences:
- Remove all food
- Disconnect the unit from its electrical outlet
- Leave the doors ajar to avoid possible formations of condensation, mold, or odors. Ensure there will be no children playing with the refrigerator.
POWER FAILURE
Most power failures are corrected within an hour or two, and will not affect your refrigerator temperatures. However, you should minimize the number of times you open the door while the power is off. During power failures of longer duration, take steps to protect your food.
IF YOU NEED TO MOVE THE UNIT
- Unplug the unit and remove all food
- Securely fasten down and loose items inside the refrigerator
- Tape the door shut
- To avoid damaging the leveling legs, turn them all the way into the base.
- Ensure the unit remains upright during transport.
BEST PRACTICES IN USING THE REFRIGERATOR
- Never place hot foods in the refrigerator
- Beverages should be stored in sealed containers
- Foods to be stored for a long time should be wrapped in cellophane or polyethylene, or kept in glass containers.
- Never place spoiled food in the refrigerator.
- Don’t overload the refrigerator.
- Don’t open the door unless necessary.
- Should the refrigerator be stored without use for long periods, it is suggested (after careful cleaning) to leave the door ajar to allow the air to circulate inside the unit in order to avoid the possible formations of condensa- tion, mold, or odors.
FOOD STORAGE SUGGESTIONS
- Never cover food compartment shelves with aluminum foil or any other shelf covering material which may prevent air circulation.
- Always remove the porous store wrapping paper from meats, poultry, and fish. Meats should be wrapped individually and placed in a dish for storage. Wrap fish and poultry in foil or heavy waxed paper. Most fish should be used the same day of purchase. Packaged meats such as ham, bacon, dried beef, or frankfurter, store best in their original packages.
- Allow warm foods to cool to room temperature before placing them in the refrigerator.
- Always cover open dishes of food, especially leftovers. Use leftovers within 2 or 3 days.
VEGETABLE CRISPER
The tray at the bottom of the refrigerator is covered to re- tain moisture. The crisper compartment will enable you to store vegetables and fruits which would otherwise dry out rapidly. You can set the humidity on the crisper as follows:
- For low humidity: move the slider to the left
- For high humidity: move the slider to the right
LED LIGHTING REPLACEMENTS
Do not change the LED light by yourself, please contact an authorized service personnel.
TROUBLESHOOTING
The following simple issues can be handled by the user. Please contact customer support if the issues are not resolved.
| PROBLEM | POSSIBLE CAUSE | SOLUTION |
| Unit does not work. | • No power to unit. • Power cord is unplugged. • Wrong voltage is being used. • Unit is turned off | • Check connection of power cord at power source. • Plug in unit. • Use propervoltage. • If the unit was turned off, press and hold the SET button on the refrigerator thermostat. |
| Refrigerator is running too frequently. | • Temperature control too cold. • Door not closed. • Hot food inserted. • Doors open too long/often. • Close proximity to heat source or direct sunlight. | • Check/adjust settings as needed. • Close the door securely. • Cool food before inserting. • Minimize door openings/duration. • DO NOT place unit near heat sources or in direct sunlight. |
| Internal temperature is too cold. | • Temperature set too cold. | • Check/adjust settings as needed. |
| Internal temperature is not cold enough. | • No power to unit. •Power cord is unplugged. • Wrong voltage is being used. • Temperature control too warm. • Hot food inserted. • Doors open too long/often. • Air flow obstruction. • Close proximity to heat source or direct sunlight. | • Check connection of power cord at power source. • Plug in unit. • Use propervoltage. • Check/adjust settings as needed. • Cool food before inserting. • Minimize door openings/duration. • Allow room for air to circulate around the unit. • DO NOT place unit near heat sources or in direct sunlight. |
| Freezer not cold enough. | • Temperature control too warm. • Door not closed. • A large quantity of warm food was inserted in the past 24 hours • The appliance is placed near a heat source. • Doors open too long/often. • Wrong voltage is being used. | • Check/adjust settings as needed. • Close door securely. • Cool food before inserting. • Minimize door openings/ duration. • Use propervoltage. |
| Loud noises | • Some amount of noise is normal, but if the noise is excessive, the unit may not be level • It may also be touching the wal I or in contact with something else in the area. | • Adjust the leveling legs slightly • Unplug the appliance and carefully move it away from the wall or object it is in contact with. |
| The door will not close properly | • The unit is not level • Door was reversed and not properly re-installed • Baskets are out of position • The gasket is dirty | • Adjust the leveling legs • Verify proper door installation • Check basket position • Make sure gasket is clean and secure |
| Light will not work. | • No power to unit. • Power cord is unplugged. • Bulb is loose/needs replacing. • Door switch is stuck. | • Check connection of power cord to power source. • Plug in unit. • Tighten or replace bulb. • Check the switch, clean if necessary. |
Additional notes:
- Condensation may be detected on the exterior surface and door seals of the freezer when the ambient humidity is high. This is a normal phenomenon, and the condensation can be wiped away with a dry towel.
- A slight buzzing noise will be generated by the compressor, especially when starting up or shutting down.
SPECIFICATIONS
| Total Capacity | 17.6 cu. ft. |
| Refrigerator Capacity | 13.3 cu.ft. |
| Freezer Capacity | 4.3 cu.ft. |
| Dimensions (WxDxH) | 27.7’’ / 30.8’’ / 66.9’’ |
| Weight Level | 154 lbs. |
| Power / Voltage /Amperage | 154 lbs. |
| Refrigerant | R600a |
CUSTOMER SUPPORT
Before contacting customer support, please see the troubleshooting guide above.
Visit our website to contact us, find answers to Frequently Asked Questions, and for other resources which may include an updated version of this user’s manual.
WWW.IMPECCA.COM
If you wish to contact us by phone, please be sure to have your model number and serial number ready and call us between 9:00am and 6:00pm ET, at +1 866-954-4440.
Keep tabs on Impecca’s newest innovations & enter contests via our social network feeds:
www.facebook.com/Impecca/
www.instagram.com/impecca/
@impeccausa
ONE-YEAR LIMITED APPLIANCE WARRANTY (US)
SIX MONTH LIMITED WARRANTY {36590}
Impecca® warrants this product against defects in material and workmanship to the original purchaser as specified below. Please register your product online within fourteen (14) days of purchase.
PARTS – if the product is determined to have a manufacturing defect, within a period of six (6) months from the date of the original purchase, Impecca® will repair or replace the product parts at no charge (for parts) to consumers in the U.S.A. and Canada.
LABOR – if the product is determined to have a manufacturing defect, within a period of thirty (30) Days from the date of the original purchase, Impecca® will repair or replace the product at no charge to consumers in the U.S.A. and Canada. After thirty (30) Days, it will be the responsibility of the consumer.
Shipping costs to and from our warranty service center are the sole responsibility of the consumer.
To obtain warranty service by an authorized Impecca® service center, please email us at: [email protected] to obtain a Repair and Maintenance Authorization (RMA) number and to locate the Warranty Service Center nearest you. Once authorized, you must mail the product to the authorized Impecca® service center in its original product packaging materials or equivalent, to prevent damage while in transit.
Further, should Impecca® determine that the product is outside of the Warranty terms, Impecca® will return the product to sender at sender’s expense without being repaired or replaced, unless authorized by the consumer to service the out-of-warranty product at consumer’s expense. All handling or restocking charges for returns and/or replacements shall be nonrefundable.
Impecca® specifically excludes from this warranty any non-electric/mechanical attachments, accessories, and disposable parts including, but not limited to, outside case, connecting cables, batteries, and AC adapters. Impecca® reserves the right to repair or replace defective products with the same, equivalent, or newer models.
We reserve the right to either repair or replace product at our discretion. Replacement may be either new or refurbished and while every endeavor will be made to ensure it is the same model, if same model is not available, it will be replaced with a model of equal or higher specification.
Normal “Wear and Tear” is not covered by this, or any other, warranty. Further, Impecca® hereby reserves the right to determine “Wear and Tear” on any and all products. Tampering or opening the product casing or shell will void this warranty in its entirety.
In addition, this warranty does not apply if the product has been damaged by accident, abuse, misuse, or misapplication; has been altered or modified without the written permission of Impecca®; has been serviced by a nonauthorized repair center of Impecca® ; has not been properly maintained or operated according to the operation manual; has been used for commercial, non-household purposes; has been cosmetically damaged; was not imported by Impecca®; was not manufactured according to specification of the United States market; was damaged due to improper installation or neglect by the consumer; was damaged due to improper packaging in shipment to the Warranty Service Center; was damaged due to natural disasters; or if the serial number for the product has been removed or defaced.
ALL IMPLIED WARRANTIES, INCLUDING IMPLIED WARRANTIES OF MERCHANTABILITY AND FITNESS FOR A PARTICULAR PURPOSE ARE LIMITED IN DURATION TO SIX (6) MONTHS PARTS AND THIRTY (30) DAYS LABOR FROM THE DATE OF THE ORIGINAL RETAIL PURCHASE OF THIS PRODUCT.
THESE WARRANTIES AND REMEDIES ARE THE SOLE AND EXCLUSIVE WARRANTIES AND REMEDIES IN CONNECTION WITH THE SALE AND USE OF THE PRODUCT. NO OTHER WARRANTIES, ORAL OR WRITTEN, EXPRESSED OR IMPLIED, ARE GIVEN.
IMPECCA® IS NOT RESPONSIBLE OR LIABLE FOR ANY DAMAGE, WHETHER SPECIAL, INCIDENTAL, CONSEQUENTIAL, DIRECT OR OTHERWISE, OR WHETHER KNOWN OR SHOULD HAVE BEEN KNOWN TO IMPECCA®, INCLUDING LOST PROFITS, GOODWILL, AND PROPERTY AND PERSONAL INJURY RESULTING FROM ANY BREACH OF WARRANTY, THE INABILITY TO USE THE PRODUCT OR UNDER ANY LEGAL THEORY IN CONTRACT OR TORT. IMPECCA LIABILITY IS LIMITED TO THE ACTUAL PURCHASE PRICE PAID TO THE RETAIL SELLER OF THE DEFECTIVE PRODUCT.
No Impecca® dealer, agent, or employee is authorized to make any modification, extension, change or amendment to this warranty without the written consent and authorization from Impecca®.
Some states do not allow the exclusion or limitation of implied warranties or liability for incidental or consequential damages, or do not allow a limitation on how long an implied warranty lasts, so the above limitations or exclusions may not apply to you. This warranty gives you specific legal rights, and you may have other rights, which vary from state to state.
Important: Be Sure to Register Your Product at WWW.IMPECCA.COM within 14 Days
Note: Our Warranty Service Center ships only within Continental U.S.A., excluding Alaska and Hawaii.
Impecca® USA • PA 18711 • www.impecca.com • [email protected]
*Do not send any returns to this address, as they may be lost and this will delay your repair and service process.






















