VISSANI HVUF11SL 10.8 Cu Ft Refrigerator

Safety Information
FOR YOUR PERSONAL SAFETY, PLEASE FOLLOW THE INSTRUCTIONS BELOW:
- The circuitry for refrigerator must be isolated. The area of cross section of wire must be larger than 0.75mm². The power plug should have its own socket, and the socket must be grounded as adapter may cause the socket to overheat.
- The voltage and frequency of this product should be 120V/60Hz. Contact the local maintenance station or retailer if the wire is damaged.
- Disconnect power only by pulling the power plug out of the socket directly but not by the wire
- Do not damage the refrigerant circuit.
- This appliance is not intended for use by persons (including children) with reduced physical, sensory or mental capabilities, or lack of experience and knowledge, unless they have been given supervision or instruction concerning use of the appliance by a person responsible for their safety.
- Children should be supervised to ensure that they do not play with the appliance.
- Keeping ventilation opening, in the appliance enclosure or in the built in structure, clear of obstruction.
- Before you throw away your old refrigerator or freezer:
- Take off the doors;
- Leave the shelves in place so that children may not easily climb inside.
- Do not store explosive substances such as aerosol cans with a flammable propellant in this appliance. This appliance is intended to be used in household and similar applications such as:
- staff kitchen areas in shops, offices and other working environments;
- farm houses and by clients in hotels, motels and other residential type environments
- bed and breakfast type environments;
- catering and similar non-retail applications.
- Do not use electrical appliance inside the food storage compartments of the appliance, unless they are of the type recommended by the manufacturer.
- This appliance can be used by children aged from 8 years and above and persons with reduced physical, sensory or mental capabilities or lack of experience and knowledge if they have been given supervision or instruction concerning use of the appliance in a safe way and understand the hazards involved. Children shall not play with the appliance. Cleaning and user maintenance shall not be made by children without supervision.
- Do not store inflammable materials such as ether, benzene, LP gas and glue, etc., in the refrigerator.
- Do not place bottled beverage in the freezer, so as to prevent breaking.
- It is recommended not to place object on the top of appliance which is magnetic, heavy, or be filled with water. Electronic components may not work steadily if water gets inside. Do not store object which is costly or impressible to temperature and, e.g. serum, bacterin and so on.
- The refrigerant of this product is R600a, which is inflammable. So, be cautious not to damage the
cooling system during the transportation and installation. - DISPOSAL: Do not dispose this product as un- sorted municipal waste. Collection of such waste separately for special treatment is necessary.
- WARNING: When gas leaks from its container, do not pull the plug, out or in, for it may arouse sparks and fire calamities.
- WARNING: Do not splash water on the rear of the appliance, for it may cause malfunction or electric shock.
Warranty
WHAT IS COVERED
MC Appliance Corporation warrants this refrigerator to be free from defects in material and workmanship, and agrees to remedy any
such defect or to furnish a new part(s), at the company’s option, for any part(s) of the unit that have failed during the warranty period. Parts and labor expenses are covered on this unit for a period of one year from the date of purchase. A copy of the dated sales receipt or invoice is required to receive warranty service by an authorized service agent.
WHAT IS NOT COVERED
Product repair accordance with the terms herein, is your sole and exclusive remedy under this limited warranty. Any and all implied warranties including merchantability and fitness for a particular purpose are hereby limited to one year or the shortest period allowed by law. MC Appliance Corporation is not liable for incidental or consequential damages and no representative or person is authorized to assume for us any other liability in connection with the sale of this product. Under no circumstances is the consumer permitted to return this unit to the factory without the prior written consent of MC Appliance Corporation. Some states prohibit the exclusion or limitation of incidental or consequential damages, or limitations on implied warranties. This warranty gives you specific legal rights, and you may also have other rights which vary from state to state.
- Damages due to shipping or improper installation.
- Damages due to misuse or abuse.
- Content losses due to failure of the unit.
- Repairs performed by unauthorized service agents.
- Service calls that do not involve defects in material and workmanship such as instructions on proper use of the product or improper installation.
- Replacement or resetting of house fuses or circuit breakers.
- Failure of this product if used for other purposes than its intended purpose.
- Disposal costs for any failed unit not returned to our factory.
- Any delivery/installation costs incurred as the result of a unit that fails to perform as specified.
- Expenses for travel and transportation for product service if your appliance is located in a remote area where service by an authorized service technician is not available.
- The removal and reinstallation of your appliance if it is installed in an inaccessible location or is not installed in accordance with published installation instructions.
- Refunds for non repairable products are limited to the price paid for the unit per the sales receipt.
Pre-installation
PLANNING INSTALLATION
- The refrigerator should be located on a completely flat surface.
- Leave about 2 to 4 inches (5-10 cm) between each side of the appliance and the wall.
- Leave 12 inches (30 cm) between the top of the appliance and the ceiling.
- Choose a location which is not exposed to sunlight, high temperature or humid, as humidity may cause stain.
- The appliance can be adjusted by turning its two legs in the front of the bottom panel when it is unstable. Turning them in the clockwise direction can raise the refrigerator.
- The location should be firm and flat. An unsecure position may cause noise and vibration. The noise may be increased if the floor is not firm. Put a sheet under the appliance to solve the heat emission if you need to locate it onto a carpet.
- Make sure the adjustable legs are firm on the floor, and set the appliance slope backward slightly to keep the doors closed tightly.
- Make note of the position of the contents and retain packaging for future packing and moving.
- Do not lift by the door handle when moving the appliance.
- Do not tilt the appliance more than 45 degrees.
- Avoid strong vibration and collision.
TOOLS REQUIRED

Pre-installation
PRODUCT OVERVIEW

| Part | Description | Quantity |
| A | Control Display | 1 |
| B | Glass Shelves | 3 |
| C | Crisper glass cover | 1 |
| D | Crisper | 1 |
| E | Switch | 1 |
| F | Door Bins | 4 |
| G | Handle | 1 |
| H | Manual with accessories | 1 |
Reversing the Door
- Removing the protective covers
Remove the protective covers with a Flat-head screwdriver through the back side, and save the protective covers.
- Removing the door
- Remove the 4 self-tapping screws, and save them.
- Push the top hinge forward, remove the door and set it aside.

- Switching the hole covers
Pry off and remove the covers over the screw holes on the left side of refrigerator housing. Attach covers on the right side. Covers are force-fitted.
- Switching the bottom hinge
- Push the refrigerator slightly backward against the wall.
- Disassemble the 2 fixed stands.
- Disassemble the bottom hinge.
- Assemble the bottom hinge on the other side of the refrigerator.
- Assemble the stands.
- Exchange the 2 bolts and attach them on the other side.
- Exchange the stopper to other side.

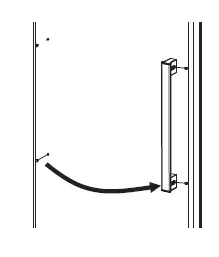
- Removing the handle
- Use an Allen wrench to loosen the fix screw and take off the handle.
- Twist out connection screw.
- Remove screw hole plug.

- Installing the handle.
- Install the handle on the right side using the screws.
- Insert screw hole plug into the left screw hole.

Operating Instructions
- Leave some space between items inside for air circulation.
- Food should be kept in sealed packages to prevent drying or odor.
- Hot food should be cooled down before placing into the appliance. Otherwise, interior temperature and electric consumption will increase.
- Reducing the frequency of door opening can lower the electric consumption.
- When the door is opened, LED display will be lit. Press “ ” for 3 seconds, the light of “ ” will be out, and the child lock unlocks. After the child lock is unlocked, the temperature can be adjusted and the mode can be switched. Wait 10 seconds, “ ” light will be turned on, the child lock will be activated again.
- After the child lock is unlocked, press “ ”for 3 seconds, temperature display unit can be switched to Celsius or Fahrenheit, light of “ ” will be turned on according to the choice made.
- After the child lock is unlocked, the temperature can be adjusted by pressing “ ”. In the freezer mode, temperature adjusted ranges are from -22°C to -15°C(-8°F to 5°F); In the fridge mode, temperature adjusted ranges are from 1°C to 7°C (33°F to 45°F).
- After the child lock is unlocked, the fridge mode or freezer mode can be switched by pressing “ ”. When the FRIDGE indicator light is on, fridge mode is selected. When FREEZER light is on, freezer mode is selected.
- After the child lock is unlocked, the quick cooling function is applied when “ ” is pressed. The Quick Cooling function indicator light “ ” will be on. Press “ ” again to exit Quick Cooling mode.
- The Quick Cooling function can only be selected in freezer mode; it not be selected in the fridge mode.
- In the Quick Cooling mode, the inner temperature can reach as low as -30°C (-22°F). Quick Cooling mode will be exited automatically when it is on for 24 hours continually.
Maintenance
- The appliance should be maintained and cleaned frequently. For your safety, unplug the refrigerator before cleaning.
- Interior maintenance: Clean the interior of the appliance with clean water or neutral abluent. Scour it with clean water and wipe it with a piece of dry cloth.

- Maintenance of door gasket: It is easy to get damaged if the door gaskets are soiled by oil, sauce, etc. so clean it with care.
- Outer maintenance: Wipe the dust with a piece of dry cloth, and clean it with neutral abluent if necessary.

- Lighting and its replacement: When the refrigerating chamber door opens, the LED light turns on. When the light is damaged, please remove the lampshade first and then replace the LED light. The specific operations are shown in the following diagram:
- Please move the lampshade and the thermostat out 3-5mm in the direction of the arrow.
- Take out the lampshade and thermostat downwards.

- Pull the connection terminal, use the screwdriver to remove the LED light board and replace it.
- Interior maintenance: Clean the interior of the appliance with clean water or neutral abluent. Scour it with clean water and wipe it with a piece of dry cloth.
Defrosting
Defrosting of refrigerator will be executed automatically while the product is operating, so manual defrosting is not required. The defrost water flows into the vaporization plate and will be vaporized by the heat of compressor.
DANGER:
Do not use mechanical devices or other means to accelerate the defrosting process.
Disconnecting the Appliance
- After power failure, do not put additional food in the appliance and reduce the frequency of door opening. Make several ices in a container if know the power failure beforehand, and put it in the top of the fridge.
- Discontinuation during vacation
- Please remove easily spoiled food from the fridge before short vacation.
- If the refrigerator is not going to be used for a long time, please remove all food, unplug from the outlet and clean up the appliance. The door should be kept open in order to prevent unpleasant smell caused by food leavings.
IMPORTANT: In a general condition, do not stop the appliance in case of affecting its life. After unplugging the power, please leave at least 5 minutes before resumption.
User Notifications
- Do not splash water on the refrigerator, as it will cause oxidation and malfunction. Electronic components such as on/off button should be wiped dryly.
- Cleansers such as soap powder, abrasive cleaning powder, alkali cleansers, chemical cloth, thinner, alcohol, acid petroleum product and hot water should not be used to clean the refrigerator as they may damage the painted cover and plastics.
- Smudge can damage the interior plastic component, so wipe it as soon as possible
- Please check the points below after maintenance:
- Is there any damage or loss of the electronic wire?
- Can the plug be put in the socket reliably and smoothly?
- Is the plug heating unconventionally?
IMPORTANT: Please get rid of the gasket of the door before the disposal. The disposed apparatus should be handled by professional staff, as it may be harmful to the environment.
TROUBLESHOOTING
| Problem | Solution |
| The refrigerator does not work. | It may not be connected to the power supply (plug, power cut or fuse). Voltage is too low. |
| The refrigerator does not work as expected. | It may be caused by heavy frost, or by warm temperature setting, or by frequently opening the door. |
| It makes unusual noise. | It may be caused by an imbalance, or by resonation between the appliance and other ambient objects. |
| The compressor keeps working for a long period. | The environment temperature may be too high. The doors may be opened frequently or even they are left open. The compressor running time may be extended if the temperature is set too low. |
| Unpleasant odor is present. | Food with strong odor should be packed tightly before being put inside the appliance. Please check whether there is any deteriorated item or whether the liners are left dirty for a long time. |
| Water leaks from the bottom of the refrigerator. | The drain tube is jammed. Please use a proper tool to solve it. |
| Heavy frost occurs on the rear of the appliance. | Putting humid or hot food into the appliance may cause this problem. Or it may be caused by the heavy environment moisture. |
| In the freezer mode, low air pressure may occur in the cabinet for a short time when the door is opened frequently, which makes the door more difficult to be opened in a second try. | Do not worry, since this is a normal phenomenon. Please wait from 20 to 30 seconds, then the door can be opened easily again! |


























