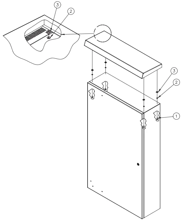
nVent HOFFMAN COMLINE Solar Shield Instructions
Instruction






nVent HOFFMAN COMLINE Solar Shield Instructions







Download manual
Here you can download full pdf version of manual, it may contain additional safety instructions, warranty information, FCC rules, etc.