Honeywell Home RCHT8610WF T5 Smart Thermostat

T5 Smart Thermostat
The T5 Smart Thermostat is a programmable thermostat that offers multiple programming options to fit your lifestyle. It comes with Smart Alerts and Smart Response features that remind you of filter changes and learn your heating and cooling system to deliver the optimal temperature at the right time. It also has an Auto Change From Heat to Cool feature that automatically determines if your home needs heating or cooling to provide maximum comfort.
Product Usage Instructions
- Tools you will need:
- Phillips screwdriver
- Small flat head screwdriver
- Pencil
- Smartphone to install your thermostat and photograph existing
wiring - Level
- Wire stripper
- Needle-nose pliers
- Drill and drill bit (7/32 in (5.6 mm))
- Disconnect power before beginning installation. Turn off the power at the breaker box or switch that controls your heating/cooling system.
- Check that your system is off by changing the temperature on your old thermostat. If you don’t hear the system turn on within 5 minutes, the power is off. Note: If you have a digital thermostat that has a blank display, skip this step.
- Remove your old thermostat from the wall plate. On most thermostats, you can take off the thermostat by grasping and gently pulling. Some thermostats may have screws, buttons, or clasps. Do not remove any wires from your thermostat at this time!
- Make sure there are no 120/240V wires. If you have thick black wires with wire nuts or your thermostat is 120V or higher, you have a line voltage system and the thermostat will not work. If you are unsure, visit honeywellhome.com
- Take a picture of how your wiring is connected before removing any wires from your old thermostat.
- Follow the installation guide provided in the box to connect your T5 Smart Thermostat.
- Download the Honeywell Home app to configure your system and connect it to your smartphone. You will need your home Wi-Fi password to do this.
For more information on the T5 Smart Thermostat, visit honeywellhome.com or contact Honeywell Home customer service at 1-800-633-3991. You can also connect with them on Twitter (@Honeywell_Home) or Facebook (Honeywell Home).
Included in your box:

Get the most from T5 Smart Thermostat
Multiple programming options that fit your lifestyle:
- Location-Based scheduling – The thermostat uses your smartphone’s location to know when you’re away, and saves you energy. Through geofence technology, it senses your return and helps make you comfort-able upon arrival. You can always manually change your preset Home and Away temperature either on the thermostat or on the Honeywell Home app.
- Smart scheduling – Use a combination of geofencing and time scheduling to fit your busy, active lifestyle.
- Time-Based scheduling – Program your thermostat for one week; each day (each day is a different schedule); Mon-Fri, Sat, Sun; or Mon-Fri, Sat-Sun. All days with four adjustable periods per day.
- No scheduling – Control your comfort manually by adjusting temperature set points only.
Smart Alerts. Push notifications remind you of filter changes and warn you of extreme indoor temperatures.
Smart Response. Learns your heating and cooling system to deliver the opti-mal temperature at the right time.
Auto Change From Heat to Cool. Automatically determine if your home needs heating or cooling to provide maximum comfort.
Tools you will need:
You may need:
- CAUTION: ELECTRICAL HAZARD
Can cause electrical shock or equipment damage. Disconnect power before beginning installation. - CAUTION: EQUIPMENT DAMAGE HAZARD
Compressor protection is bypassed during testing. To prevent equipment damage, avoid cycling the compressor quickly. - CAUTION: MERCURY NOTICE
If this product is replacing a control that contains mercury in a sealed tube, do not place the old control in the trash. Contact your local waste management authority for instructions regarding recycling and proper disposal.
REQUIRED: 24 VAC POWER (“C” WIRE) - CAUTION: ELECTRONIC WASTE NOTICE
The product should not be disposed of with other household waste. Check for the nearest authorized collection centers or authorized recyclers. The correct disposal of end-of-life equipment will help prevent potential negative consequences for the environment and human health.
Compatibility
- Compatible with most heating, cooling, and heat pump systems
- Required: 24 VAC power (“C” wire)
- Does not work with electric baseboard heat (120-240V)
- Does not work with millivolt systems
- Does not support input (S terminals) for indoor and outdoor sensors
- Does not support relay (U terminals) for ventilation
- Android or iOS smartphone, tablet, or device
For help, contact:
WEB honeywellhome.com
PHONE 1-800-633-3991
SOCIAL Twitter: @Honeywell_Home,
Facebook: Honeywell Home
Removing your old thermostat
- Turn power OFF
To protect yourself and your equipment, Turn off the power at the breaker box or switch that controls your heating/cooling system.
- Check that your system is off
Change the temperature on your old thermostat. If you don’t hear the system turn on within 5 minutes, the power is off.
Note: If you have a digital thermostat that has a blank display, skip this step.
- Remove your old thermostat from the wall plate
On most thermostats, you can take off the thermostat by grasping and gently pulling. Some thermostats may have screws, buttons, or clasps.
Do not remove any wires from your thermostat at this time! - Make sure there are no 120/240V wires
Do you have thick black wires with wire nuts?
Is your thermostat 120V or higher? If you answered yes to either of these questions, you have a line voltage system and the thermostat will not work.
If you are unsure visit: honeywellhome.com
- Take a picture of how your wiring looks right now
Be sure to include the letters next
to the terminals where the wires
are inserted. This will be a helpful reference when wiring your thermostat.
Tip: If the color of your wires has faded or if 2 terminals have the same wire color, use the wire labels provided in the package to label each wire.
- Remove any jumpers
A jumper connects one terminal to another terminal. It may look like a small staple or even a colored wire and must be removed before continuing. Use a screwdriver to release wires from terminals.
The thermostat does not need jumpers.
- Record if you have wires in the following terminals
Do not include jumpers as a part of your count. The thermostat does not need jumpers.
- Write down the color of the wires
Check mark the wires that are connected to terminals. Next to the check mark, write down the color of the wire. Do not include jumpers as a part of your count.
Check all that apply (Not all will apply):
S and U terminals are not supported with this thermostat.
If there are wires in terminals that are not listed, you will need additional wiring support. Visit honeywellhome.com to find out if the thermostat will work for you. - Disconnect the wires and remove the old wall plate
Use a screwdriver to release wires from terminals.
Tip: To prevent wires from falling back into the wall, wrap the wires around a pencil.
Installing your T5 Smart Thermostat

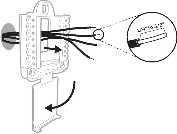
- Bundle and insert wires through the UWP
Pull open the UWP and insert the bundle of wires through the back of the UWP.
Make sure at least 1/4-inch (6.4 mm) of each wire is exposed for easy insertion into the wire terminals.
- Insert the wall anchors
It is recommended that you use the wall anchors included in the box to mount your thermostat.
You can use the UWP to mark where you want to place the wall anchors.
- Level the wall plate.
- Mark the location of the wall anchors using a pencil.
- Drill the holes.
- Insert wall anchors.
- Make sure anchors are flush with wall.
Tip: Use a 7/32 (5.6 mm) drill bit.
- Set R-switch position and insert R-wire or wires
Set the R-switch up or down based on your wiring notes in Step 7.
Insert wires into the inner holes of the terminals on the UWP. The tabs will stay down once the wire is inserted.- If you have 1 R-wire (R, Rh, or Rc)
- Set R-switch to the up position.

- Insert your R-wire (R, Rh or Rc) into R-terminal.

- Set R-switch to the up position.
- If you have 2 R-wires (R or Rh, and Rc)
- Set R-switch to the down position.

- Insert your Rc wire into Rc-terminal.
- Insert your R or Rh wire into R-Terminal.

- Set R-switch to the down position.
- If you have 1 R-wire (R, Rh, or Rc)
- Connect remaining wires from Step 8
Tip: Do not mount the UWP to the wall prior to connecting the wires.
Depress the tabs to put the wires into the inner holes of their corresponding terminals on the UWP (one wire per terminal) until it is firmly in place.
Gently tug on the wires to verify they are secure.
Tip: If you need to release the wires again, push down the terminal tabs on the sides of the UWP.
This wiring is just an example, actual wiring may vary.
- Mount the UWP and close the door
Mount the UWP using the provided screws. Install all three screws for a secure fit on your wall. Close the door after you’re finished.
- Attach your thermostat
Align the thermostat onto the UWP and firmly snap it into place.
- Turn your power ON
Turn on the power at the breaker box or switch that controls the heating/ cooling system.
- Return to the thermostat
Return to the thermostat. Confirm the screen shows START SETUP. If it does, continue to “Setup with Honeywell Home App” on page 15.
If your thermostat does not show START SETUP, please contact Resideo support.
Setup with Honeywell Home App
- Start Setup with the app
Touch START SETUP on thermostat.
- Select to setup with the app
Touch Yes on the USE APP screen.
- Your thermostat is now ready to be configured using the Honeywell Home app
- Download the “Honeywell Home” app from the App store or Google play.

- Open the Honeywell Home app. Your thermostat should appear under Thermostat Found. Tap SET UP NOW as shown below to continue. If your thermostat doesn’t appear, create an account (if necessary), or sign in to your Honeywell Home account. Then select the T5 Smart Thermostat to install.

- The Honeywell Home app will walk you through the rest of setup.

- Download the “Honeywell Home” app from the App store or Google play.
How to use your Honeywell Home App
Interested in more Resideo products? Visit honeywellhome.com to learn about all available products connected by the Honeywell Home App.
App is regularly enhanced and may change.
How to use your T5 Smart Thermostat
The screen will wake up by touching the center area of displayed temperature.
Manual Setup
If your Wi-Fi network is not working, you can alternatively setup your thermostat manually and connect your phone later.
- Start manual setup
Touch START SETUP to begin.
- Select manual setup
On the USE APP screen, touch No.
- Navigate and edit setup options
Use or to navigate through all the setup options. To see a list of all setup options, go to pages 20-21.
To edit an option value, touch Edit or touch text area.
The value is now blinking. Use or to select the correct value.
Touch Done or touch text area once the correct value is selected.
- Finish Setup
Touch until you see Finish Setup. Touch Select or touch text area.
- Setup Wi-Fi
At the end of setup process you will be prompted to SETUP WIFI. If your Wi-Fi is still not working, you have to manually set the time and date. Select No on the SETUP WIFI screen.
- Set time and date
Set daylight saving time if you are in an area that follows daylight saving time. Set date, clock format and time on the next screens.
- Your thermostat is now setup
Refer to page 17 for more information about basic operation.
Equipment Setup Options
| Option # | Option Name | Option Value (factory default in bold) |
| 120 | Schedule Type | No Schedule MO-SU = Every day the same MO-FR SA SU = 5-1-1 schedule MO-FR SA-SU = 5-2 schedule Each Day = Every day different Note: You can change default MO-FR, SA-SU schedule here. To edit periods during days, temperature setpoints, or to turn Schedule On/ Off, touch MENU from the Home screen and go to SCHEDULE. |
| 200 | System Type | Conventional Forced Air, Heat Pump, Boiler, Cool Only Note: This option selects the basic system type your thermostat will control. |
| 205 | Equipment Type | Conventional Forced Air Heat: Standard Gas, High Efficiency Gas, Oil, Electric, Fan Coil Heat Pump: Air to Air, Geothermal Boiler: Hot Water, Steam Note: This option selects the equipment type your thermostat will control. Note: This feature is NOT displayed if feature 200 is set to Cool Only. |
| 218 | Reversing Valve | O/B on Cool, 0/B on Heat Note: This option is only displayed if the Heat Pump configured. Select whether reversing valve O/B should energize in cool or in heat. |
| Option # | Option Name | Option Value (factory default in bold) |
| 220 | Cool Stages/ Compressor Stages (#200=Conv./ #200=HP) | 0, 1, 2 Note: Select how many Cool or Compressor stages of your equipment the thermostat will control. Maximum of 2 Cool/Compressor Stages. |
| 221 | Heat Stages/ Aux/E Stages (#200=Conv./ #200=HP) | Heat Stages: 0, 1, 2 Aux/E stages: 0, 1 Note: Select how many Heat or Aux/E stages of your equipment the thermostat will control. Maximum of 2 Heat Stages for conventional systems. Maximum of 1 Aux/E stage for systems with more than 1 heating equipment type. |
Frequently Asked Questions
Will the T5 Smart thermostat still work if Wi-Fi connection is lost?
Yes, the temperature can be adjusted directly at the thermostat. However, some features, including geofencing, are managed only through the Honeywell Home app and will not function while the connection is down. The thermostat will automatically reconnect to Wi-Fi once the network is restored.
The T5 Smart thermostat is not finding the in home Wi-Fi network.
thermostat operates in the 2.4 GHz range. That may be why the thermostat does not see the network but the smartphone, which operates in both the 2.4 and 5.0 GHz range, sees the network. Most routers will broadcast two networks, one SSID on the 5.0 GHz radio and one SSID on the 2.4 GHz radio.
A change was made on the Honeywell Home app but it has not shown up on the T5 Smart thermostat.
There may be a short delay after making temperature and setting changes in the Honeywell Home app.
Can there be multiple users for geofencing?
Yes, there can be multiple users. Geofencing will trigger based on the last person to leave and the first person to return. To properly use geofencing with multiple users:
- Each user needs to create their own account.
- Each user should use their login ID and password across his or her devices, including smartphones and tablets.
- No two users should share the same account.
How are multiple users set up with thermostat?
Access can be given to any or all thermostat locations through the Honeywell Home app. Start by touching the three-line menu icon in the upper left-hand corner of the home screen. Select Manage Users and touch Add User located at the bottom of the screen. Type in the email address of the person to be invited. If they have a account set up, the location will be automatically added to their account. If they don’t have an account, they will receive an email invitation prompting them to download the Honeywell Home app and create their own account.
Note: All individuals with access to a thermostat share the same user privileges. Users added will be able to change the thermostat’s settings, as well as add or delete other users.
Is there a way to extend the signal strength?
The range or distance of the Wi-Fi signal is determined by the router. Check the router’s manual for additional information.
There is an alert that says Wi-Fi Signal Lost. What does that mean?
The Wi-Fi signal to the thermostat has been lost. Wait for the thermostat to reconnect or select a new network within the Honeywell Home app configuration menu. If the thermostat is unable to reconnect, you will need to troubleshoot the router to determine the cause.
Why is the thermostat showing up as offline (strike-through Wi-Fi icon) on top of right corner of thermostat display?
If the thermostat displays a strike-through Wi-Fi icon on its screen or shows up as offline on the Honeywell Home app, it has lost connection to the network. Make sure the router is powered and broadcasting. The home’s Wi-Fi network may need to be reset by power cycling the router. Consult the router’s instruction manual for directions on power cycling. When the network has been restored, the thermostat will automatically reconnect.
An activation email hasn’t been received.
An email will be sent from [email protected]. An activation email is needed to complete the account setup. If an activation email is not received after five minutes, check the Spam folder of the email account.
If you do not find it in the Spam folder, click on the Resend button and the activation email will be resent. If you still do not receive your activation email, please contact the Technical Support team at 1-800-633-3991 for help.
Regulatory information
FCC REGULATIONS
47 CFR § 15.19 (a)(3)
This device complies with part 15 of the FCC Rules. Operation is subject to the following two conditions:
- This device may not cause harmful interference, and
- This device must accept any interference received, including interference that may cause undesired operation.
47 CFR § 15.21 (USA only)
Changes or modifications not expressly approved by the party responsible for compliance could void the user’s authority to operate the equipment.
47 CFR § 15.105 (b)
See https://customer.resideo.com/en-US/support/residential/codes-and-standards/FCC15105/Pages/default.aspx for additional FCC information for this product.
IC REGULATIONS
RSS-GEN
This device contains license-exempt transmitter(s)/receiver(s) that comply with Innovation, Science and Economic Development Canada’s license-exempt RSS(s). Operation is subject to the following two conditions:
- This device may not cause interference.
- This device must accept any interference, including interference that may cause undesired operation of the device.
Apple® Home Kit™ Setup Code
The T5 Smart supports Apple Home Kit. When prompted by the Honeywell Home app, scan the code on the last page (back cover) of this guide.
2-Year Limited Warranty
For Warranty information go to honeywellhome.com
Use of the Works with Apple badge means that an accessory has been designed to work specifically with the technology identified in the badge and has been certified by the developer to meet Apple performance standards. Apple is not responsible for the operation of this device or its compliance with safety and regulatory standards.
Air Play, iPad, iPad Air, iPad Pro, iPhone and iPod touch are trademarks of Apple Inc., registered in the U.S. and other countries. HomePod is a trademark of Apple Inc.
www.resideo.com
© 2022 Resideo Technologies, Inc. All rights reserved.
The Honeywell Home trademark is used under license from Honeywell International, Inc. This product is manufactured by Resideo Technologies, Inc. and its affiliates.
Resideo Technologies, Inc.
1985 Douglas Drive North, Golden Valley, MN 55422 honeywellhome.com
33-00363ES—07 M.S. Rev. 01-22 | Printed in United States



Do not remove any wires from your thermostat at this time!



S and U terminals are not supported with this thermostat.










































