metabo HC 260 C Planer Thicknesser

Components and Parts

- Outfeed table
- Chip chute
- Anti-kickback lock
- Lock lever for outfeed table
- Guide
- Cover plate
- Clamping lever for pitch adjust-ment of the fence
- Clamping lever for lateral shift-ing of the fence
- Fence carrier
- Infeed table
- Height adjustment for infeed table
- Dust extraction hood
- Push stick
- Legs
- Thicknesser bed
- Cutterblock
- Transport wheels
- ON/OFF Switch
- Screw for storing the push stick when not in use
- Thicknesser bed height adjust-ment
- Cutterblock guard extrusion
- Lateral shifting of the cutter-block guard extrusion
- Clamping lever
- Height adjustment of cutter-block guard extrusion
Standard accessories:
- Spanner 10 mm
- Allen key 3 mm
- Planer knife setting gauge
Read first!
These operating instructions have been presented in a way that will allow you to work quickly and safely with your machine. Here are a few tips to help you read these operating instructions:
- Read all of these operating instruc-tions prior to commissioning the machine. Pay particular attention to the safety instructions.
- These operating instructions are intended for people with basic tech-nical knowledge in handling machines such as the one described here. If you have had no experience with machines of this kind, you should initially work under the super-vision of people with previous expe-rience.
- Keep safe all documents supplied with this machine so that you can refer to them if required. Keep proof of purchase for possible warranty cases.
- Should you ever lend or sell the machine, make sure that any machine documents are passed on with it.
- The manufacturer bears no liability for damage caused by non-compli-ance with these operating instruc-tions.
Information in these operating instruc-tions is designated as shown below:
Danger!
- Risk of personal injury or environmental damage.
- Risk of electric shock! Risk of personal injury from electric shock.
- Drawing-in/trapping haz-ard!
- Risk of personal injury by body parts or clothing being drawn into the rotating saw blade.
Caution!
Risk of material damage.
Note:
Additional information.
- Numbers in illustrations (1, 2, 3, …)
- indicate component parts;
- are consecutively numbered; and
- correspond with the number(s) in brackets (1), (2), (3) … in the neighbouring text.
- Numbered steps must be carried out in sequence.
- Instructions which can be carried out in any order are indicated by bullet points (•).
- List items are indicated by dashes (– ).
Safety
Specified Use
This machine is intended for surface planing and thickness planing of solid woods. The permissible work piece dimensions must be observed (see “Technical Specifications”). The following tasks may not be carried out with this tool:
- Insertion work (i.e. any work that does not extend the full length of the work piece),
- Planing of cavities, pins or cut-outs,
- Planing of heavily curved wood with which there is insufficient contact with the holding and intermediate table. Any other use does not comply with the intended purpose. Unspecified use, modification of the device or use of parts that have not been tested and approved by the manufacturer can cause unfore-seeable damage!
Ge eral Safety Instructions
A thicknessing machine is a dangerous tool that can, due to operator carelessness, cause serious injury.
Caution!
When using power tools, the following basic safety measures must be taken to protect against electric shock, other injury or fire.
- When using this pump observe the following safety instructions to exclude the risk of personal injury or material damage.
- Please also observe the special safety instructions in the respective chapters.
- Where applicable, follow the legal directives or regulations for the prevention of accidents pertaining to the use of thicknessing machines.
General hazards!
- Keep your work area tidy – a messy work area invites accidents.
- Be alert. Know what you are doing. Set out to work with reason. Do not operate tool while under the influ-ence of drugs, alcohol or medication.
- Do not operate the machine while under the influence of alcohol, drugs or medication.
- Consider environmental conditions: Keep work area well-lighted.
- Prevent adverse body positions. Ensure firm footing and keep your balance at all times.
- Use suitable work piece supports to support the work piece when cutting long stock. Set the workpiece rests to an appropriate height.
- Do not operate the machine near inflammable liquids or gases.
- This thicknessing machine shall only be started and operated by persons familiar with thicknessing machines and the dangers associated with the operation of thicknessing machines. Persons under 18 years of age shall use this tool only in the course of their vocational training, under the supervision of an instructor.
- Keep bystanders, particularly chil-dren, out of the danger zone. Do not permit other persons to touch the tool or power cable while it is running.
- Do not overload tool – use it only within the performance range it was designed for (see “Technical Specifications”).
- Do not plane deeper than 1/8” (3 mm).
- Turn power off if the tool is not used.
Danger! Risk of electric shock!
- Do not expose tool to rain.
- Do not operate tool in damp or wet environment.
- Prevent body contact with earthed or grounded objects such as radiators, pipes, cooking stoves, refrigerators when operating this tool.
- Do not use the power cable for pur-poses it is not intended for.
- Regularly check the power cable on the device and have it replaced by an approved expert if damaged.
- Regularly check extension cables and replace if damaged.
- When working out of doors, only use extension cables that are also approved for outdoors.
- Ensure the tool is disconnected from power before servicing.
Cutting hazard when touching the rotating cutter block!
- Always keep your hands well clear of the cutter block.
- Use suitable feeding aids, if necessary.
- Keep the sufficient distance to drive components when operating the power tool.
- When in operation, do not reach into the dust collector or the cut-terblock cover.
- To prevent accidental starting, always turn the machine OFF:
- after a power failure,
- before unplugging or plugging in.
- Do not operate the tool without installed guards.
- Wait until the cutterblock has come to a complete stop, before removing jammed parts or small cutoffs, chips, etc. from the work area.
Cutting hazard, even with the cutterblock at standstill!
- Wear gloves when changing planer knives.
- Store the planer knives in a safe place and in such a manner that nobody can get hurt.
Drawing-in/trapping hazard!
- Be careful that no part of your body or your clothing can be caught by and drawn into the machine. Do not wear neckties, gloves, garments with loose-fitting sleeves. Contain long hair with a hairnet.
- Never attempt to plane any work pieces which contain
- ropes,
- strings,
- cords,
- cables or
- wires, or to which any of the above are attached.
Risk of injury by work piece kickback (work piece is caught by the rotating cutterblock and thrown back against the operator)!
- Operate machine only with a fully functional anti-kickback lock.
- Always use sharp planer knives. Blunt planer knives may get caught in the surface of the work piece.
- Do not jam work pieces.
- If in doubt, check work piece for inclusion of foreign matter (e.g. nails or screws).
- Never plane several work pieces at the same time. Risk of personal injury if individual pieces are uncon-trolled caught by the cutterblock.
- Remove small cutoffs, scrap, etc. from the work area – when doing so, the cutter block must be at standstill and the power cable unplugged.
- Ensure that when switching on (e.g. after servicing) no tools or loose parts are left on or in the tool.
Hazard generated by insufficient personal protection gear!
- Wear hearing protection.
- Wear protective goggles.
- Wear dust mask.
- Wear suitable work clothes.
- When working outdoors wearing of non-slip shoes is recommended.
Risk of injury by inhaled wood dust!
- Dust of certain timber species (e.g. beech, oak, ash) can cause cancer when inhaled. Use a dust collector whenever possible. The dust collec-tor must comply with the data stated in the technical specifications.
- Ensure that as little as possible wood dust will get into the environment:
- remove wood dust deposit in the work area (do not blow away!);
- fix any leakages on the dust collector;
- ensure good ventilation.
Hazard generated by modification of the machine or use of parts not tested and approved by the manufacturer!
- Assemble tool in strict accordance with these instructions.
- Use only parts approved by the equipment manufacturer. This applies especially to all safety devices (see spare parts list for stock numbers).
- Do not change any parts.
Hazard generated by tool defects!
- Keep tool and accessories in good repair. Observe the maintenance instructions.
- Prior to each use check the tool for any eventual damage:
Before continuing to use the tool, safety devices, protective devices or lightly damaged parts must be care-fully inspected for correct and proper operation. Check to see that all mov-ing parts work properly and do not jam. All parts must be correctly installed and meet all conditions necessary for the proper operation of the tool. - Do not operate tool while under the influence of drugs, alcohol or medi-cation. There is the risk of electrical shock. Ask a qualified electrician immediately to replace a damaged mains cable.
- Damaged protection devices or parts must be repaired or replaced by a qualified specialist. Have dam-aged switches replaced by a service centre. Do not operate tool if the switch cannot be turned ON or OFF.
- Keep handles free of oil and grease.
Danger from blocking work pieces or work piece parts!
If blockage occurs:
- Switch machine off.
- Disconnect the mains plug.
- wear gloves.
- clear the blockage using a suitable tool.
Symbols on the machine
Failure to observe the following warnings can result in serious injury or damage to property.
- Read the operating instructions.
- Always keep your hands well clear of the cutter block. Keep the sufficient distance to driven components when operating the power tool.
Height setting of thicknesser bed - Please see section 7.4
- “Cleaning and care of the machine”!
Information on the nameplate

- Manufacturer
- Serial number
- Machine designation
- Motor specifications (see also “Technical Specifications”)
- CE mark – This machine conforms to the EC directives as per Declaration of Conformity
- Year of manufacture
- Waste disposal symbol – the machine can be disposed of through the manufacturer.
- permitted work piece dimensions
Safety devices
Anti-kickback lock

The anti-kickback lock (33) prevents the work piece from being thrown back against the operator by the rotating cutter block.
- All fingers of the anti-kickback lock must end in a point on the underside.
- All anti-kickback fingers must automatically return to their rest position (downwards).
Cutterblock guard extrusion

The cutter block guard extrusion (36) prevents the rotating cutter block from being touched from the top when surface planing.
- After loosening the lock lever (35) the cutterblock guard extrusion is adjusted to the workpiece width.
- With the height adjustment screw (34) the cutter block guard extrusion is adjusted to the workpiece height. The height of the cutterblock cover extrusion can be adjusted from 0 to 85 mm for surface planing.
For effective protection, the cutter block guard extrusion must always be set against the workpiece. When guiding the work piece the hands slide over the cutterblock guard extrusion.
Chip chute

When thickness planing the chip chute (37) serves as cutterblock guard. For this purpose the chip chute (37) is folded upwards and the adjustment screw (38) is turned anti-clockwise to the end position (chip chute is secured).
Operating Controls
ON/OFF Switch
- Switching on = press green switch.
- Switching off = press red switch.
Undervoltage relay
An Undervoltage relay trips in the event of a voltage failure. This prevents the automatic restarting of the machine when power is restored. To restart the machine after a power failure, the green ON switch button must be pressed again.
Overload protection
The planer/thicknesser has integrated overload protection. It shuts the machine down if the motor heats up too much. To restart the machine:
- let the motor cool down (approx. 10 minutes);
- press the green switch button .
Infeed table height setting (when operated in surface planer mode)
With the height setting for the thicknesser bed the planing thickness (= thickness of the workpiece after plan-ing) is set when the machine is used for thickness planing.
- One full turn of the crank changes the height position of the thicknesser bed by 3 mm.
- er pass a maximum of 3 mm mate-rial can be removed.
- ork pieces of max. 160 mm thickness can be thickness planed.
Infeed table height setting (when operated in surface planer mode)
With the height setting (39) for the infeed table the depth of cut is set when the machine is used for surface planing.
- One graduation mark on the scale at the side of the infeed table (40) corresponds to 1 mm chip removal.
- Per pass a maximum of 3 mm of material can be removed.

Fence profile
The fence profile (41) provides lateral support for the work piece when surface planing.
- After loosing the clamping lever (43) the fence profile can be adjusted to the width of the work piece.
- Loosen the lock lever (42) to tilt the fence extrusion to a maximum of 45°.

Assembly
Modification of the machine or use of parts not tested and approved by the manufacturer can cause unforeseen damage.
- Assemble machine exactly as per these instructions.
- Use only th eparts supplied with the machine as standard equip-ment.
- Do not change any parts.
Required tools
- Spanner 10 mm
- Spanner 13 mm
- Philips screwdriver
- Angle for 45° and 90°
- Allen key (different sizes)
Removal of shipping protection
- Remove foil protection from the thicknesser bed.
Removal of shipping protection
- Remove foil protection from the thicknesser bed.

- Fasten the four legs (44) to the inside of all corners of the machine:
- Fit hexagon head screws (48) into holes from the outside;
- place washers (47) and
- hexagon nuts (46) on screws and tighten.
- Slide rubber feet (45) on legs.

- Mount both transport wheels (49) to the legs on the side of the outfeed table with hexagon head screws, washers and hexagon nuts.
Mounting the infeed table

Mounting the thicknesser bed height adjuster
Chip chute installation

- Attach chip chute (50) with four selftapping screws (51) to the mounting profile (52).
- Attach adjusting screw holder (54) with two self-tapping screws (53) to the mounting profile (52).
Fence profile installation
- Remove fence carrier support bracket (60) from fence carrier (57). Take care not to loose the two guide pins (61) in the fence carrier support bracket.
- Fasten fence carrier support bracket (60) with two hexagon head screws (59) to infeed table.

- Attach fence carrier to fence carrier support bracket again.
- Slide two carriage bolts (62) into the fence extrusion (63) and attach to fence carrier with two self-locking hexagon nuts (58).
- Fit extrusion end caps (64) to both ends of the fence extrusion.
- Screw the cover plates (55) together and fasten to fence carrier using two crosshead screws (56).
- Adjust the two set screws so that the positive stops of the jointer fence are set exactly to 45° and 90° (use try and mitre squares).
Power-supply connection
Danger!
High voltage
Operate in dry environment only. Operate machine only on a power source matching the following requirements (see also “Technical Specications”):
- fuse protection by a residual current operated device (RCD) of 30 mA sensitivity;
- outlets properly installed, earthed or grounded, and tested;
- 5-wire three-phase outlets with neutral lead.
- When a dust collector is used it must also be properly earthed.
Position the power supply cable so it does not interfere with the work and is not damaged. Protect power supply cable from heat, aggressive liquids and sharp edges.Use only extension cables with a sufficient lead cross section. Do not pull on the power supply cable to unplug it.check the direction of rotation! (machines with 3-phase motor only): Depending onthe phase sequence the cutterblock may turn in the wrong direction. This can cause damage to the machine and workpiece. It is therefore necessary to check the direction of rotation after initial commissioning and every time the machine is connected to a different outlet. If the direction of rotation is incorrect the phases must be changed on the supply line or mains connection by an electrician.
Operation
The planer/thicknesser HC 260 can either be operated as surface planer or thickness planer:
Surface planer mode

Note:
Surface planing is used to level an uneven surface (= jointing), for example the edges of a plank.
- The work piece rests on top of the infeed table.
- The work piece is cut on the underside.
- The feed direction for the work piece is exactly opposite than that for thickness planing.
Work piece dimensions
| length | width | height |
| use push block (feeding aid) if less than 250 mm | max. 260 mm | 5 mm min. |
| use extra work piece supports or helper if over 1500 mm |
Preparation
Danger!
Always unplug before servicing!
- Turn setting screw (65) clockwise to the end position.

- Swing chip chute down.
- Turn both left and right lock lever outwards.
- Place outfeed table (66) on machine
- both pins on the machine housing must engage in the lower slots of the outfeed table guide.
Note:The pins must trigger the end switch. Only then the machine can be switched on.
- both pins on the machine housing must engage in the lower slots of the outfeed table guide.
- Secure outfeed table (66) with both lock levers (67).
- Set the infeed table to 2.0 to 2.5 mm by turning the height adjustment.
- Crank thicknesser bed up to 120 mm height. 8. Place dust collector connector (this is not the chip chute mentioned in step 1!) below the infeed table into the machine. Observe correct position of the dust collector connector:
- suction port points outwards;
- slide dust collector connector in until the point of intersection of shaft and axis below the infeed table (arrow) is exactly above the matching seat of the dust collector connector.

- Crank the thicknesser bed carefully up to secure the dust collector connector in position.
- Connect a suitable dust collector to the suction port of the dust collector connector.
- Cover the cutterblock with the cutterblock guard extrusion.
Note:
The dust extractor hood must be mounted. The dust extractor hood covers the knife shaft from below and must activate the limit switch to enable the machine to be switched on.
Danger!
Some types of wood dust (e.g. oak, ash) may cause cancer when inhaled: Use a suitable dust extraction unit when working in enclosed spaces:
- Fitting the outer diameter of the suction port (100 mm);
- air flow volume 550 m3/h;
- vacuum at suction port of thick-nesser 740 Pa;
- air speed at suction port of thick-nesser 20 m/s.
Caution!
Operation without a dust collector is only possible:
- Outdoors;
- if only a minimum of chips is generated (with narrow stock and little chip removal);
- with dustrespirator.
Surface Planing and Edge Jointing
Danger!
- Risk of serious personal injury by rotating cutterblock! Always cover the part of the cutterblock that is not covered by the work piece with the cutterblock guard extrusion. Adjust the cutterblock guard extrusion exactly to the dimension of the work piece.
- Check the function of the cutter-block guard extrusion. Push the cutterblock guard extrusion downwards and release. After releasing the cutterblock guard extrusion has to spring back automatically to the set position. Do not operate the device with a defective cutterblock guard extrusion.
- Never reach with your hands under the cutter block guard extrusion when guiding the work piece!
- Use a feeding aid (push block) when planning small workpieces, which can not be guided with a sufficient safety distance to the cutterblock.
- Use the jointer fence when edge jointing to have safe lateral support and guiding. Use an auxiliary fence when planing thin or nar-row stock, to have your hands at a sufficient safety distance to the cutterblock.
- Use a stop block behind the workpiece for set-in work, to keep the workpiece from being thrown back against the direction of the feed.
- Use a workpiece support (e.g. roller stand) to keep long stock in balance.
- Do not pull the workpiece back over the unguarded cutter block!
- Use if necessary:
- Dust collection device (optional accessory); sliding wax to enhance the gliding of work pieces across the infeed and outfeed table.
- Assume the proper operating position:
- on the switch side;
- head-on to the machine;
- Set jointer fence as required.
- with very sharp planer knives;
- for soft woods;
- if the full planing width is not utilized.
Otherwise there is a risk of overloading the machine. It is best to make several passes to bring the work piece down to the desired thick-ness. Set depth of cut with starknob screw (68) on the infeed table.
Note:
The machine can remove 3 mm maxi-mum in a single pass. This measure, however, shall only be used:
- Place work piece against jointer fence (if required, use auxiliary fence).
- Adjust cutterblock guard extrusion:
- Planing small edges (jointing): Push the cutter block guard extrusion (69) laterally to the workpiece.

- Planing wide surfaces: Lower the cutter block guard extrusion (70) from above onto the workpiece.

- Planing small edges (jointing): Push the cutter block guard extrusion (69) laterally to the workpiece.
- Switching on the motor.
- Push the work piece straigh across the infeed table. Keep fingers together and guide workpiece with the flat of your hand. Exert downward pressure on the work piece only in the infeed table area.
- Switch machine off if no further thicknessing is to be done immediately afterwards.
Thickness Planer Mode

Note:
Thickness planning reduces the thickness of a workpiece with one already planned surface.
- The workpiece is fed through the thicknesser.
- The surface already planned flat rests on the thicknesser bed.
- The workpiece is cut on the upper side.
- The feed direction for the work piece is exactly the opposite that for surface planing.
Work piece dimensions
| length | width | height |
| 200 mm min. | – | 4 mm min. |
| use extra work piece supports or helper if over 1500 mm | max. 260 mm | max. 160 mm |
Preparation
Danger!
Always unplug before servicing!
- Loosen clamping lever (71) and remove fence (72).

- Turn both left and right clamping lever (74) outwards.

- Remove the outfeed table (73).
- Swing chip chute (77) up over the cutter block.
- Turn set screw clockwise to the end position. The guard cannot be opened.
- When operating with a chip extraction unit: Remove the wing nut from the chip chute (77). Place the chip extraction hood (75) on the chip chute (77).
- Secure chip chute (77) with the wing nut (76).

Note:
For thickness planing the chip chute (77) serves as cutterblock cover. The chip chute must activate the limit switch, otherwise the machine cannot be started. - 8. If a dust collector is to be used, connect the dust collector connector’s suction port (75) to a suitable dust collector.
Danger!
Some types of wood dust (e.g. oak, ash) may cause cancer when inhaled: Use a suitable dust extraction unit when working in enclosed spaces:
- Fitting the outer diameter of the suction port (100 mm);
- Air volume 550 m3/h;
- vacuum at the suction port of the thicknesser
- 740 Pa;
- air speed at suction port of thicknesser 20 m/s.
Caution!
Operation without a dust collector is only possible:
- Outdoors;
- if only a minimum of chips is generated (with narrow stock and little chip removal)
- with dust respirator.
Thickness Planing
Danger!
- Entanglement hazard by the rotating feed rollers! Do not reach into the machine! Use a feeding aid (push stick) if you want to feed short stock into the thicknesser.
- Do not jam work pieces. Risk of kickback.
- Remove stuck stock only after motor has come to a complete stop and machine is unplugged.
- Guide a work piece on the out-feed side if it has been fed so far into the thicknesser that it can no longer be safely guided from the infeed side.
- Do not thickness plane more than two work pieces at the same time. In this case feed both work pieces near the outer edges of the thicknesser bed.
- Use if necessary: Dust collection device (optional accessory); sliding wax to enhance the glid-ing of work pieces across the infeed and outfeed table.
Caution!
There is a limit switch inside the machine. Take care not to damage the limit switch when feeding work pieces.
- Assume proper operating position:
- on the switch side;
- head-on to the machine;
- Set planing thickness with the crank.
Note:
The machine can remove 3 mm maximum in a single pass. This measure, however, shall only be used:- with very sharp planer knives;
- for soft woods;
- if the full planing width is not utilized. Otherwise there is a risk of overloading the machine. It is best to make several passes to bring the work piece down to the desired thickness.
- To thickness plane stock which surfaces are not parallel, use suitable feeding aids (make fitting templates).

- Switching on the motor.
- Feed work piece slowly and straight into the thicknesser. It will then be automatically fed through the thicknesser.
- Guide work piece straight through the thicknesser.
- Switch machine off if no further thicknessing is to be done immediately afterwards.
Care And Maintenance
Danger!
Prior to all servicing:
- Switch off the machine.
- Disconnect the mains plug.
- Wait until machine has come to a complete stop.
Replace defective parts, especially of safety devices, only with genuine replacement parts. Parts not tested and approved by the manufacturer can cause unforeseen damage.
After all servicing:
- Put back into operation and check all safety installations.
- Make sure that no tools or other parts remain on or in the machine.
Repair and maintenance work other than described in this section should only be carried out by qualified specialists.
Replacing Planer Knives
Note:
Blunt planer knives are recognizable by:
- reduced planing performance;
- increased risk of kickback;
- motor overloads.
Danger!
Risk of personal injury by cuts from the planer knives! Wear gloves when changing planer knives.
To remove the planer knives:
- Disconnect the mains plug.
- Remove fence.
- Raise cutterblock guard extrusion fully and pull extrusion fully outwards.
- Turn the four hexagon head screws of the planer knife lockbar fully in (wear gloves!).

- Remove planer knife lockbar (79) with planer knife (78) from the cutterblock (80).
- Clean all surfaces of cutterblock and planer knife lockbar.
Danger!
Do not use cleaning agents (e.g. to remove resin residue) that could corrode the light metal components; the stability of the light metal components would be adversely affected. To install the planer knives:Note: If you use planer knives having an edge on both sides you simply need to reverse the knives, provided the other edge is sufficiently sharp.
Danger!- Use only suitable planer knives (see “Technical Specifications”)
- unsuitable, incorrectly mounted, dull or damaged planer knives can work loose, or increase the risk of kickback considerably.
- Always replace or reverse both planer knives.
- Install planer knives using only genuine replacement parts.
- Use only suitable planer knives (see “Technical Specifications”)
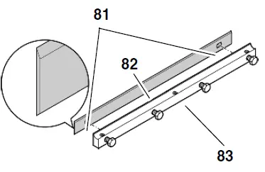
- Place fresh planer knife on planer knife lockbar as shown. Both pins of the planer knife lockbar must fit into the holes (81) of the planer knife.

- Place the planer knife lockbar (83) with the planer knife (82) into the cutterblock. Ensure that the knife does not slip off the pins of the planer knife lockbar.
- Turn the four hexagon head screws in the planer knife lockbar out, until lock bar (85) and knife (84) can still just be moved along the axis of the cutterblock.

- There are two ways to check the projection of the knives:
- With the setting gauge (86) (under the prevailing regulations governing safety at work this must be supplied with the machine).
- Place planer knife setting gauge on cutter block as shown. The knives must project so much that they touch the setting gauge. This check must be performed on both planer knives and at both ends of the cutterblock.

- Use an aluminum straightedge (87) (this is more precise than using a setting gauge).
- Place aluminum straightedge as shown over outfeed table and cutterblock.

- Turn cutterblock by hand one turn against the direction of feed.
- The planer knives are set correctly if the straight edge is moved forward 4 to 6 mm by the turning cutter block. This check must be performed at both ends of the cutter block.
- To set the knife projection, turn the grub screws in the planer knife lockbar with a 3 mm Allen key as required.
- To tighten, turn the four hexagon head screws of the planer knife lockbar fully out. To prevent distortion of the planer knife lock bar start with the screws in the center, then tighten the screws closer to the edges.

Danger!
- Do not extend tool when tightening the screws.
- Do not tighten bolts by striking the wrench.
- Return cutter block guard extrusion to its starting position.
- Mount fence.
Feedgear Maintenance
- Disconnect the mains plug.
- Unscrew the two nuts of the drive cover and remove the drive cover.
- Remove chips and dust with dust collector or brush.
- Apply a light coat of care and maintenance spray to roller chain and shaft and axle bearings (do not use oil!).

- Replace the drive cover and secure with the two nuts.
Main Drive Belt Tensioning
- Disconnect the mains plug.
- Unscrew the nut of drive belt cover and remove cover (89).
- Check belt tension with thumb pressure. The drive belt (88) should not give more than 10 mm in the centre. If the drive belt requires tensioning:
- Loosen the four motor mounting screws by approx. one turn.

- Push the motor down to the tension belt.
- When belt tension is correct tighten motor mounting screws (90) crosswise.
- If necessary, remove chips and dust with a dust collector or brush.
- Put the belt cover back on and secure it with a nut.
Machine Cleaning and Care
- Disconnect the mains plug.
- Remove chips and dust with a dust collector or brush from
- cutter block;
- height-setting mechanism of cutter block guard extrusion;
- thicknesser bed spindles;
- thicknesser feed drive.
- Apply a light coat of care and maintenance spray to the following components (do not use oil!):
- thicknesser bed spindles;
- height-setting mechanism of cutter block guard extrusion.
- Apply a light coat of anti-seize compound to the infeed table, outfeed table and thicknesser bed .
Transporting the Machine
The machine can be transported by one person. Tilt the machine at the height adjustment (91) until the machine stands on the transport wheels (92) and move it on the transport wheels.
Machine storage
Danger!
- Disconnect the mains plug.
- Store the machine in such manner that
- it cannot be used or tampered with by unauthorized persons, and
- that nobody can get hurt while the machine is turned off.
Caution!
Do not store the machine unprotected outdoors or in a damp environment.
Maintenance Table
The checks and procedures described in this section are an aid to safety! Should there be faults evident on any of the mentioned components, the machine must not be used until these faults have been remedied in a workmanlike manner.
| Prior to operation | |
| Anti-kickback lock | Check: – mobility of anti- kickback fingers (must fall down by their own weight) |
| – points of anti- kickback fingers (not rounded) | |
| Planer knives | Check: – tight seat – sharpness – general condi- tion (no notches, etc.) |
| Inside of machine | Remove: – chips – sawdust |
| Threaded rods (height adjust- ment) | |
| Dust spout (when working without dust col- lection) | |
| Outfeed roller | Check: – coating undam- aged? – is stock properly transported? |
| Infeed and out- feed table | – apply light coat of anti-seize compound |
| Monthly (if used daily) | |
| Threaded rods (height adjust- ment) | Apply a light coat of care and mainte- nance spray |
| Infeed and out- feed table | Check alignment, correct if necessary |
| Power supply cable | Check for damage, if necessary have replaced by a quali- fied electrician. |
Repairs
Danger!
Repairs to electrical tools must ONLY be carried out by qualified electricians! Contact your local Metabo representative if you have Metabo power tools requiring repairs. See www.metabo.com for addresses. You can download a list of spare parts from www.metabo.com.
Environmental Protection
All packaging materials are recyclable. Scrap power tools and accessories contain large amounts of valuable resources and plastics that can be recycled. The instructions were printed on chlorine- free bleached paper.
Troubleshooting
Danger!
Before carrying out any fault service or maintenance work, always:
- Switch the machine off.
- Wait until the saw has come to a complete stop.
- Disconnect the mains plug.
Cutting hazard when touching the rotating cutter block! Unintentional startup of the machine may lead to serious injuries.
Risk of burning!
Shortly after working the planer knives may be hot – Let the device cool down before rectifying any malfunction.
Danger!
After each malfunction rectification: Put it back into operation and check all safety installations.
The motor does not run:
- Undervoltage relay tripped by temporary voltage failure.
- Start again.
- No mains voltage.
- Check cables, plug, outlet, and mains fuse.
- The motor has overheated, e.g. due to blunt planer knives, overloading or chip buildup.
- Remove the cause for overheating and allow to cool down for approx. 10 minutes, then start again.
- Contact pins of the outfeed table or dust chute have not engaged in the limit switch.
- Correctly install the outfeed table or dust chute, respectively. If necessary, adjust contact pins.
- When thickness planing: Check if the set screw of the chip guard is turned to the end position and correct if necessary. Only then the contact switch is activated and the machine can be switched on (see chapter 6.3 “Operation as thickness planer”).
- When surface planing: Check if the chip extraction guard is mounted correctly. Only then the contact switch is activated and the machine can be switched on (see chapter 6.1 “Operation as surface planer”).
Performance lessons
- Planer knives blunt
- Install sharp knives.
- Drive belt slips
- Re-tension drive belt
Planed surface is not smooth
- Planer knives blunt
- Install sharp knives.
- Planer knives blocked by chips
- remove chips.
- Moisture contents of workpiece too high
- Dry workpiece.
Planed surface cracked
- Planer knives blunt
- Install sharp knives.
- Planer knives blocked by chips
- remove chips.
- The workpiece was planned against the grain
- The plane workpiece in the opposite direction
- Too much material was removed in one pass
- Make several passes at less depth of cut.
Feed rate too little (thickness)
- Resin buildup on thicknesser bed
- Clean the thicknesser bed and apply light coat of anti-seize compound.
- Feed rollers stiff
- Repair feed rollers.
- Drive belt slips
- Re-tension drive belt
Workpiece jammed (thickness)
- Too much material was removed in one pass
- Make several passes at less depth of cut.
Available Accessories
For particular jobs you will find the following accessories at your specialist dealer – the images can be found at the beginning of these operating instructions:
- Extraction adapter For connection to a chip extraction unit
- Three-roll stand For precise guidance of long workpieces
- Planer knives For planing of wood pieces (can be resharpened)
- Planer knives For planing of wood pieces
- Planer knives For planing of wood pieces (carbide, can be resharpened)
- Cutter bar conversion set For retrofitting the planer knives
- Planer knife setting device For the problem-free setting of the knife projection.
- Lubricant WAXILIT For the good sliding quality of the wood on the support table
- Maintenance and care spray For the removal of resin residue and for the preservation of metal surfaces
Technical Specifications
| HC 260 C WNB | HC 260 C DNB | ||
| Motor 50 Hz | W | 2200 | 2800 |
| Voltage | V | 230 | 400 |
| Fuse protection | A | 16 | 16 |
| No-load speed Motor Cutterblock | min-1 min-1 | 2700 6500 | 2700 6500 |
| Feed rate, thickness planing | m/min | 5 | 5 |
| Planer knife dimensions length width thickness | mm mm mm | 260 18.6 1 | 260 18.6 1 |
| Machine dimensions length (overall across infeed and outfeed table) width height | mm mm mm | 1110 575 940 | 1110 575 940 |
| Machine: complete with packaging Machine: ready for operation | kg kg | 76.0 71.0 | 76.0 71.0 |
| Noise emissions during surface planing according to EN 61029-1 * Emission sound pressure level LpA (under load) Sound pressure level LWA (under load) Measurement uncertainty KWA | dB (A) dB (A) dB (A) | 84.1 91.3 3 | 84.1 91.3 3 |
| Noise emissions during surface planing according to EN 61029-1 * Emission sound pressure level LpA (under load) Sound pressure level LWA (under load) Measurement uncertainty KWA | dB (A) dB (A) dB (A) | 87.6 94.1 3 | 87.6 94.1 3 |
| Work piece dimensions max. width max. height (thickness planing) | mm mm | 260 160 | 260 160 |
| * The values stated are emission values and as such do not necessarily constitute values which are safe for the workplace. Although there is a correlation between emission levels and environmental impact levels, whether further precautions are necessary cannot be derived from this. Factors influencing the actually present environmental impact level in the workplace include the characteristics of the work area and other noise sources, i.e. the number of machines and other neighbouring work processes. Also, permissible work- place values may vary from country to country. This information is intended to assist the user in estimate of hazards and risks. | |||
parts

- Metabowerke GmbH
- Metabo-Allee 1
- 72622 Nuertinghu
- Germany
- www.metabo.com






































