FW8 Mobility home trainer
Instruction Manual
Important safety warnings
- Read all the instructions in this manual before using the product. Follow all warnings and operating instructions prior to use. Keep this manual for the entire life of the product.
- This product is intended for domestic and indoor use only.
- Only use this equipment for the purposes specified in this user manual.
- This product is not a toy and may only operate for the purposes specified in this user manual.
- We suggest handicapped persons to use this product only under the supervision of qualified personnel.
- Do not allow children on or around the product. Keep children and pets away from the product at all times.
- The product should not be used by people weighing more than 100 kg.
- Take care that the product is installed correctly before you start to train on it. Ensure that all screws, bolts, and nuts are mounted and tightened correctly. Only use accessories provided with the product.
- Do not use damaged or broken accessories.
- The product must be checked regularly in order to avoid injuries. You should check regularly whether screws and nuts are well tightened, or if hair cracks or sharp edges are present, which could lead to physical injuries.
- Place the equipment on a stable, flat, and leveled surface. Ensure that a 1-meter space is left on each side of the product in order to train unhindered.
- Do not place the product near an open fireplace or similar heat source.
- We suggest placing a skid-proof base, such as a rubber mat, under the workout equipment in order to avoid possible damage to the floor.
- Always wear protective and comfortable clothes while using the workout equipment. Preferably wear sports or aerobic shoes. DO NOT wear loose or baggy clothing, since it may get caught in the product.
- Keep hands, feet, and loose accessories away from moving parts.
- Do not stand on the pedals. The pedals were not designed to be used while standing.
- Keep your back straight at all times during use, do not lean forward.
- Pay attention to how your body reacts to the training. If you feel any pain, or if you become dizzy while exercising, stop immediately, rest and consult a physician.
- Do not store the product in a location where it will be in contact with direct sunlight or where it will be exposed to high temperatures or excessive humidity.

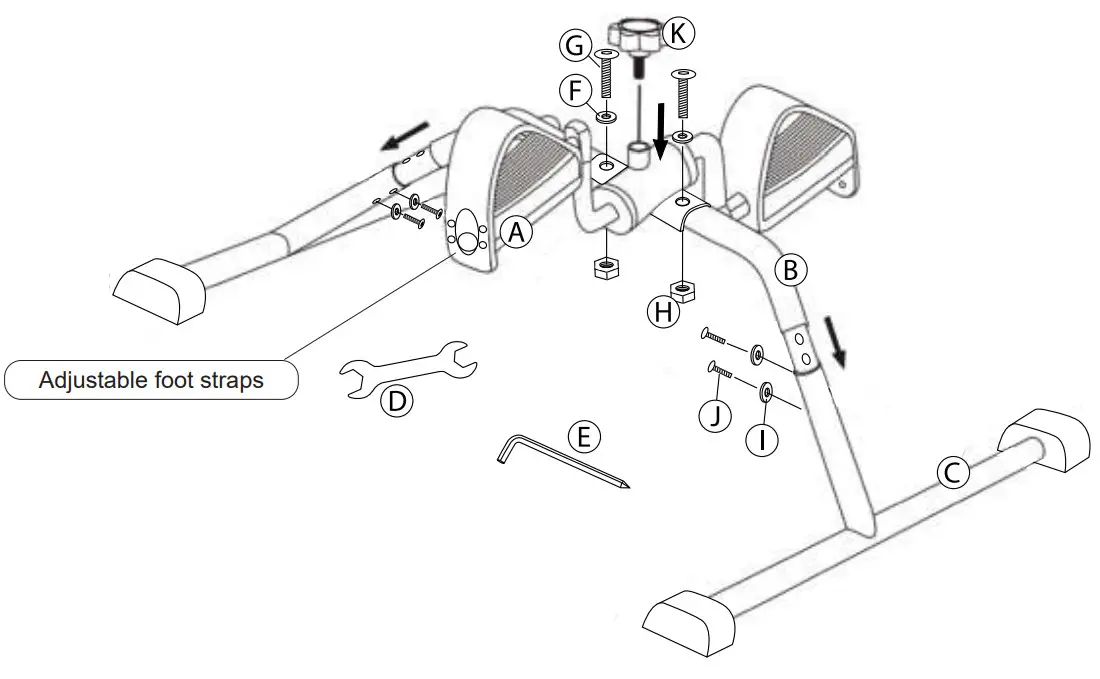
- Remove all parts from the packaging and check whether all parts are present as shown in the overview above.
- Place the pedals (A) over the arch (B). Slide the washers (F) over the bolts (G) and place the bolts in the appropriate holes in part (B). Tighten the nuts (H) with the supplied open-end wrench (D). It is recommended to insert the Allen key (E) into the bolts to provide enough force while tightening the nuts.
- Slide the first part of the exercise bike (A + B) over the upright tube of one of the T-shaped stands (C), making sure that the upright tube holes are level with the holes on the exercise bike.
- Slide the washers (I) over the bolts (J) and place the bolts in the appropriate holes in the base. Tighten the bolts using the supplied Allen key (E).
- Repeat steps 3 and 4 for the other side of the mobility trainer.
- Turn the adjusting screw (K) into the top of the bottom bracket.
Note: Do not force the adjusting screw!
With this adjustment screw you set the FW8:
Turning clockwise = heavy pedaling
Turning anti-clockwise = light pedaling
Specifications

| Model no.: | Fysic FW8 |
| Weight | 2.1kg |
| Dimensions (HxWxD): | 26 x 40 x 53 cm |
| Class | H (Indoor use) |
| Body mass: | Max. 100kg |
Manufacturer/Service:
Hesdo BV.
Aziëlaan 12, 5232 BA
‘s-Hertogenbosch
The Netherlands
www.fysic.com

















