WINNCARE Mangar Archimedes Bath Lift Instructions
The Mangar Archimedes is a light weight battery powered actuator driven bath lift, designed to be easily operated. The Archimedes will give many years of trouble free bathing, requiring only routine cleaning and battery recharging.
Intended use
The Archimedes is intended solely for use as a bathing aid to assist a person to lower themselves into and out of a bath. The Archimedes is not intended for any other use and should never be used outside of a bath. When properly maintained, the Archimedes will give many years of trouble free service.
WARNINGS
- Ensure that you have read and fully understand these instructions before attempting to operate the Archimedes.
- The Archimedes should only be used as a bathing aid, NEVER use it out of a bath.
- Ensure that the suction cups adhere firmly to the bath before use.
- The Archimedes is designed to go as low as possible in the bath. In baths with exceptionally narrow or curved sides/bases, it may be unsuitable. Always check that the chair section is free to lower to its full extent and rise again freely. Be certain that it is positioned correctly before use.
- Do not allow the Archimedes to lie on its back in the bath water.
- Ensure that the transfer flaps will be clear of any obstructions, such as bath handles and soap dishes, as the seat section is raised.
- Only recharge the battery with the Mangar battery charger supplied with the Archimedes.
- NEVER recharge the battery in the bathroom, outdoors or in a damp environment.
- Do not use in the presence of flammable anaesthetic mixtures with air, oxygen or nitrous oxide.
- Do not operate the actuator when it is disconnected from the base.
- Do not use the Archimedes as a support to steady yourself when cleaning the bath or when reaching into the bath to retrieve items.
- Disconnect the hand control from the actuator before transporting so as to avoid accidental operation of the lifting mechanism.
- The suction cups on the base section and on the hand control contain latex. No other part of the product or associated packaging contains latex.
Standard Contents
- 1 x Archimedes Bath Lift (inc.transfer flaps) (A fig.1).
- 1 x Sealed Hand Control ( B).
- 1 x Battery charger ( C).
- 1 x User Instructions.

Getting Started
Unpacking – Remove the contents from the packaging and check them to make sure that no damage has been caused during transit. If it has, contact your supplier immediately.
Battery – This must be put on charge before using your Archimedes for the first time as follows:
- Connect the hand control to the battery charger and plug the charger into a mains power supply OUTSIDE THE BATHROOM and allow the battery to charge overnight (see “Battery Charging”).
Seat and base sections – The Archimedes can be easily separated into three sections (fig.2).
- Seat section (A)
- Base section (B)
- Actuator (C)
To separate the seat from the base section and actuator:
- Fold the transfer flaps onto the seat.
- Release the transit tie (A fig.3) by pulling up the ‘O’ ring and lifting the ball clear of the slot in the locating collar on the actuator.

- Press the lower part of the latch at the back of the seat ( A fig. 4) and lift the seat sufficiently to allow the actuator to disengage itself from the slot (B fig. 4) and the actuator locator bracket (C fig. 4).

The actuator can now be removed from the base section. - Lift the seat section clear of the base section.
- Reassemble in the reverse order. Do not reattach the transit tie unless you are intending to carry the assembled Archimedes.
NOTE: The transit tie should only be reattached to the back of the seat section in order to keep both the seat and base sections together whilst carrying the Archimedes.
Fitting the Archimedes in the bath
- Before placing the Archimedes in a bath, check that the surface where the suction cups will be sitting is clean and free from bath oil and cleaning residue. Remove anti-slip matting from this area.
WARNING: The suction cups may not adhere properly on textured and non-slip areas of a bath. - Remove the actuator and seat section from the base (see “Getting Started”). Moisten each of the suction cups and place the base section as close to the back slope of the bath as possible.
- Fold the transfer flaps onto the seat and slide the seat section onto the base section.
- Slightly raise the seat section enough so that you can reposition the actuator in the socket at the back of the base unit (A fig. 5).

- Position the top end of the actuator into the slot in the latch (B fig.5) at the back of the seat section and make sure that it ‘clicks’ into place as you lower the seat again. NOTE: Ensure that the seat can slide freely up and down before using the Archimedes (fig. 6).

- Plug the hand control into the actuator lead and close the retaining clip (A fig. 7).

- Fill the bath with water at a suitable temperature.
Hand Control
The hand control is a completely sealed unit containing a rechargeable battery and battery state indicator light; it contains no user serviceable parts. DO NOT attempt to open.
Battery State Indicator
When either the ‘Up’ or ‘Down’ buttons are pressed, the indicator light (A fig. 8) shows the state of the
battery as follows:
GREEN – OK to use.
FLASHING GREEN – OK to use but the battery needs to be recharged after this bath.
RED – The battery needs recharging before use. The seat will not lower. NOTE: The microprocessor
in the hand control will not allow the seat to be lowered if it detects that there will not be enough battery power to raise it again.
The battery is not replaceable. When it reaches the end of its working life, indicated by failure to accept or retain charge (frequently showing red on the battery state indicator), the complete hand control will need to be replaced with a new one. It should be disposed of in accordance with local regulations or returned to your supplier or to Winncare for safe disposal. DO NOT dispose of the hand control with your normal household waste.
In an emergency, the seat movement can be stopped at any time by pressing the ‘STOP’ button on the hand control (A fig.9).
NOTE: Releasing the ‘Up’ or ‘Down’ buttons at any time will also stop the seat movement.
Using the Archimedes
WARNING: Please note that the hand control incorporates an important safety feature which will ensure that the seat cannot be lowered unless there is sufficient battery power to raise it again. To action this feature effectively ALWAYS RAISE THE SEAT USING THE HAND CONTROL and USE IT to lower yourself into the bath.
- Press the ‘Up’ button on the hand control to raise the seat.
- Release the ‘Up’ button when the seat is level with the edge of the bath. NOTE: Make sure that the transfer flap is level with, and supported on, the edge of the bath (fig.10) before transferring.
- Sit on the flap and transfer across onto the seat.
- Press the ‘Down’ button to lower yourself. Releasing the button at any point will stop the seat.
- To raise the seat, press the ‘Up’ button. Release the button when the transfer flap is level with, and supported on, the edge of the bath.

Removing the Archimedes from the bath
- Fully lower the seat.
- Fold the transfer flaps onto the seat.
- Press the lower part of the latch at the back of the seat (A fig.11) and lift the seat sufficiently to allow the actuator to disengage itself from the slot (B) and the actuator locator bracket (C). The actuator can now be removed from the base section.
- Lift out the actuator.
- Lift the seat section clear of the base section.
- Lift the suction cup release handle at the back of the base section (D fig.11) and tilt the base forwards.
- Continue tilting the base forwards using the guide bars. This will automatically release the suction on the front suction cups and the base section can then be lifted from the bath. NOTE: DO NOT use the suction cup release handle (D fig.11) to fully tilt or lift the base section. NEVER attempt to release suction on the rear suction cups by pulling on the guide bars.

Battery Charging
- Disconnect the hand control from the actuator.
- Connect the hand control to the battery charger (fig.12). NOTE: The supplied battery charger may differ in appearance from the image, however, the connecting process is the same.
- Plug the battery charger into a mains power supply outside of the bathroom and switch on. The light on the charger (A fig.12) will light up to indicate that the charger is connected.
NOTE: The supplied battery charger may not have a light, however, the battery will still be charged.
When the battery needs recharging, the hand control should be left on charge over night. The hand control can be left on charge continuously without damaging the battery or charger. We recommend that the hand control is left continuously on charge when the Archimedes is not in use, as a matter of routine.
Routine Cleaning – Regularly clean the Archimedes with the same non-abrasive cleaners normally used to clean the bath and wipe dry or leave to air dry. It is best to separate the base and seat sections before cleaning.
Disinfection – All components should be pre-cleaned and then disinfected by wiping with a 1:10 solution of household liquid bleach and water – 1 part bleach to 10 parts cold water (10,000ppm (1%) Sodium Hypochlorite solution). Leave the solution on the surface for approximately 10 minutes before thoroughly rinsing off with clean cold water. Alternatively, a hard surface, alcohol impregnated wipe can be used.
NOTE: It is especially important to thoroughly clean the Archimedes after each bath if ‘Dettol’ or similar products have been added to the bath water.
Storage
The Archimedes should be stored with the seat section fully lowered and the hand control disconnected.
During long term storage, it is recommended that at approximately three month intervals, the battery is put on charge overnight.
When stored for long periods, ensure that the Archimedes is thoroughly dry and stored in a dry environment.
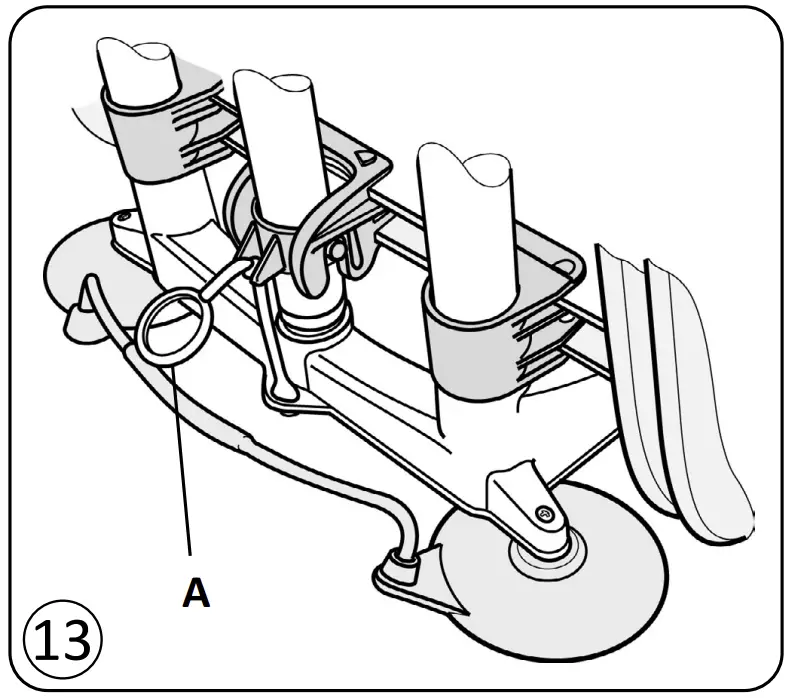
The transit tie (A fig.13) should be attached to the seat section to allow the Archimedes to be easily picked up and moved
Maintenance
Other than routine cleaning, the Archimedes has been designed to be maintenance free, however, we recommend that your Archimedes is inspected annually by either your supplier or other suitably qualified person.
NOTE: If the Archimedes is used with the assistance of a professional carer, the Archimedes becomes classed as ‘work equipment’ under the ‘Lifting Operations and Lifting Equipment Regulations 1998 (LOLER)’ and we would recommend that the Archimedes undergoes a thorough examination at intervals not exceeding 24 months, in accordance with the ‘Thorough Examination Schedule’ – available through Winncare.
If required, Winncare can provide the above inspection within an annual service contract (UK only). Please contact our Customer Service Department for further details on Freephone 0800 2800 485.
There are no user-serviceable parts in the Archimedes. Repairs or servicing must only be carried out by your supplier or other authorised person.
Fault Finding
If the seat fails to rise:
• Check that the hand control plug is FULLY pushed into the actuator lead socket (fig.14).
If the seat fails to lower:
- Check to see if the battery state indicator light is showing RED. If it is, put the hand control on charge overnight.
- Check that the hand control plug is FULLY pushed into the actuator lead socket (fig.14).

Specifications
Archimedes
| Max.user weight: | 165kg (26st/364lbs) |
| Total weight: | 10kg |
| Seat section only: | 5,2kg |
| Base section only: | 2,8kg |
| Actuator: | 2kg |
| Seat height (Min/Max): | 8cm/45cm |
| Actuator power input: | 12V: 7,5A |
| Environmental protection: | IP66 |
Hand Control (Battery)
| Type: | Ni-Cd |
| Output (Max): | 14V: 10A |
| Internal protection: | Self resetting fuse |
| Environmental protection: | IP67 |
Battery Charger
| AC Input: | 230V: 1,22VA: 50-60Hz |
| DC Output: | 17.4V: 70mA |
| Internal protection | Self resetting thermal cut-out |
| Environmental protection | IP50 |
| Double insulated Class II Equipment | |
| This product is suitable for transporting in aircraft. | |
Parts List
| 1 | Archimedes Seat | LA0010 | 7 | Archimedes Transit Tie | LA0017 |
| 2 | Archimedes Flap | LA0011 | 8 | Archimedes Charger- UK | LA0019 |
| 3 | Archimedes Flap Hinge | LA0012 | 9 | Archimedes Charger- EU | LA0023 |
| 4 | Archimedes Base | LA0013 | 10 | Archimedes Hand Control | LAA4765 |
| 5 | Archimedes Suction Cup Set | LA0014 | 11 | Archimedes Charger- AUS | LA4836 |
| 6 | Archimedes Actuator | LA0015 |

Symbols used on labels and instructions
| Attention |
| Consult instructions |
| Alternating Current |
| Direct Current |
| Class II Double Insulated Equipment |
| Do not connect to mains power in a bathroom or outdoors |
| Dangerous Voltage |
| Type BF equipment (Protection against electric shock) |
| Battery State Indicator |
| Max/Min Operating Environmental Temperature |
| Maximum user weight limit |
| Emergency ‘STOP’ button |
| Press to raise seat |
| Press to lower seat |
| Date of manufacture |
| Recycle do not dispose of in household waste |
| Hot Surface |
| Duty cycle I = Operating time 0 = Non operating time |
| Sealed against the effects of showers |
| Sealed against the effects of immersion in water to a depth of 1 metre |
| No protection against water ingress |
Product Disposal
Dispose of in accordance with local regulations. For further guidance, please contact your supplier.
Warranty
The warranty is given against defects in material and workmanship and comprises piece, parts and labour. The warranty is not valid in the case of fair wear and tear, will full damage, common neglect, misuse or unauthorized alteration or repair by unqualified persons.
The following statements do not affect the consumer’s statutory rights. This product is sold on the understanding that in the event of any defect of manufacture or material appearing within the warranty period, the defect will be rectified free of charge providing that:
- Reasonable evidence is provided (e.g. purchase invoice, delivery note) that the claim is being made within the warranty period.
- The defect is not attributable to accidental damage (either in transit or otherwise), misuse or
unauthorized repair.
Archimedes serial number:
Date of purchase:
Invoice/Delivery note number:
We strive to provide our customers with reliable and durable products of the highest quality. In addition to our standard warranty, and for added peace of mind, our Customer Service Department offers an Annual Service and Clean package.
To find out more about this service please call our Customer Service Department on Freephone 0800 2800 485.
Mangar International Ltd, trading as Winn care, reserves the right to alter product specifications and/or any of the information contained within this document without notice.
Declaration of Conformity
Mangar International as manufacturer hereby declares that the following products conform to the:
- Applicable provisions of Regulation (EU) 2017/745 of the European
Parliament and of the Council of 5 April 2017 - UK Medical Devices Regulations 2002
and following standards:
- BS EN 60601-1-6:2010 and A1:2015.
- BS EN 60601-1:2006 and A12:2014.
- BS EN 60601-1-11:2015.
- BS EN 62366-1:2015.
- BS EN ISO 10535:2006 (Clause 10).
Trade name: Archimedes Bathlift
Basic UDI-DI: 5020833LAA3702AZ3
Product Classification: ISO 9999:2016, 12 36 18 Assistive products for lifting persons
Classification: MDR Class 1
21.09.2020
Place and Date
Simon Claridge, CEO

Customer Support
Winncare is a trading name of Mangar International Ltd.
Mangar International Ltd, Presteigne, Powys,
Wales, LD8 2UF
United Kingdom
Tel: +44 (0)1544 267674
Fax: +44 (0)1544 260287
[email protected]
mangarhealth.com
WINNCARE France
4, Le Pas du Château –
85670 Saint-Paul-MontPenit – France
Tél : +33 (0)2 51 98 55 64
www.winncare.fr













































