HAGOR 5787 ST SA Flip II 55 Inch Mobiles Standsystem Samsung Flip
IMPORTANT INSTRUCTION
Caution!
- Technical devices are of considerable value.
- You should therefore handle the components carefully during installation and protect them if necessary.
- If necessary, the installation area should also be secured.
- Falling parts can cause injuries and material damage.
- The materials included in the scope of delivery may not be suitable for the special conditions at the installation site.
- Please check this in advance and replace it with suitable materials if necessary.
- If you are unsure about the installation of the product or have any questions, please contact us or other trained specialists.
Safety indication
- Do not use the stand on sloping floors.
- Do not use the stand near stairs or floors with gradients.
- Do not use the stand on external or rough floors that could damage the wheels.
Scope of delivery
Installation
Installation of the rolling base
Installation of the front shelf
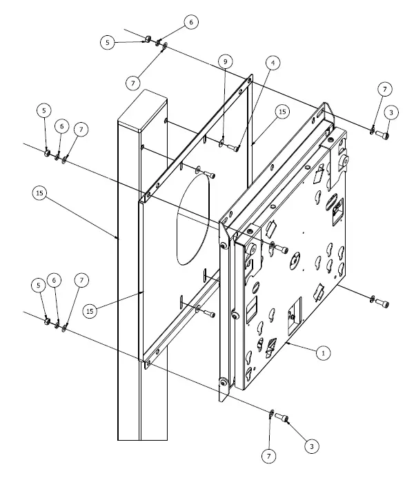
Installation of the TV bracket
Installation of the fixing bolts
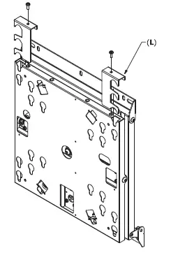
Disassembly of the securing bracket
Tilt settings

Mount and secure the screen
Function test and adjustment
Dimensions
Number +49(0)57 31-7 55 07-0
Mail: [email protected]






















