kanto SUB8MB Sub8 Powered Subwoofer User Manual
Important Safety Precautions
ATTENTION
The exclamation point within an equilateral triangle is intended to alert the user of the presence of important operating and maintenance (servicing) instructions in the literature accompanying the apparatus.
RISK OF ELECTRIC SHOCK
DO NOT OPEN
CAUTION: TO REDUCE THE RISK OF ELECTRIC SHOCK, DO NOT REMOVE BACK PANEL. NO USER SERVICEABLE PARTS INSIDE. REFER SERVICING TO QUALIFIED SERVICE PERSONNEL.
DANGEROUS VOLTAGE
The lightning flash with arrowhead, within an equilateral triangle, is intended to alert the user of the presence of non-insulated “dangerous voltage” within the product’s enclosure that may be of sufficient magnitude to constitute a risk of electric shock to persons.
- Read these instructions.
- Keep these instructions.
- Heed all warnings.
- Follow all instructions.
- Do not use this apparatus near water.
- Clean only with a dry cloth.
- Do not block any ventilation openings. Install in accordance with the manufacturer’s instructions.
- Do not install near any heat sources such as radiators, heat registers, stoves, or other apparatus (including amplifiers) that produce heat.
- Do not defeat the safety purpose of the polarized or grounding–type plug. A polarized plug has two blades with one wider than the other. A grounding type plug has two blades and a third grounding prong. The wide blade or the third prong are provided for your safety. If the provided plug does not fit in your outlet, consult an electrician for replacement of the obsolete outlet.
- Protect the power–supply cord from being walked on or pinched, particularly at plugs, convenience receptacles and the point where they exit from the apparatus.
- Only use attachments / accessories specified by the manufacturer.
- Unplug this apparatus during lightning storms or when unused for long periods of time.
- Refer all servicing to qualified service personnel. Servicing is required when the apparatus has been damaged in any way, such as power–supply cord or plug is damaged, liquid has been spilled or objects have fallen into the apparatus, the apparatus has been exposed to rain or moisture, the apparatus does not operate normally, or the apparatus has been dropped. Apparatus shall be connected to a MAINS socket outlet with a protective earthing connection.
- An appliance input coupler is used as the disconnect device — the disconnect device shall remain readily operable.
- Batteries or battery packs shall not be exposed to excessive heat such as sunshine, fire or the like.
- Maintain minimum distances around the apparatus for sufficient ventilation: — the ventilation should not be impeded by covering the ventilation openings with items such as newspapers, tablecloths, curtains, etc.
- No open–flame sources such as lit candles should be placed on the apparatus.
- Use this apparatus in moderate climates.
This equipment is Class II
FCC Warnings
- Changes or modifications not expressly approved by the party responsible for compliance could void the user’s authority to operate the equipment.
- This equipment has been tested and found to comply with the limits for a Class B digital device, pursuant to Part 15 of the FCC Rules.
FCC Notice:
- This device complies with part 15 of the FCC Rules. Operation is subject to the following two conditions: (1) This device may not cause harmful interference, and (2) this device must accept any interference received, including interference that may cause undesired operation.
Industry Canada Notice:
- Complies with CAN ICES-3(B) / NMB-3(B)
Introduction
Thank you for choosing the sub8 powered subwoofer. sub8 was designed to augment the bass performance of your speakers in a stereo setup or in a home theater installation.
Adding a subwoofer to your system extends the bass response produced by your existing speakers and improves their midrange clarity. In a home theater application, the subwoofer takes care of reproducing signals from the low frequency effects channel. In a stereo system, the subwoofer helps reduce the low-frequency demands on the main speakers.
We recommend you read all instructions carefully before using the sub8 and keep them for future reference. Kanto cannot be liable for damage or injury caused by incorrect setup or use of this product.
This powered subwoofer was carefully tested and inspected during production, and before packaging and shipping. After unpacking, please check for any damage. It is rare that a unit is damaged during shipping, but if this happens contact your retailer immediately. You can also contact Kanto directly:
Email: [email protected]
Toll Free: 1-888-848-2643
What’s In the Box?
- sub8

- x1 RCA Cable

- x3 User Manuals

- Power Cord

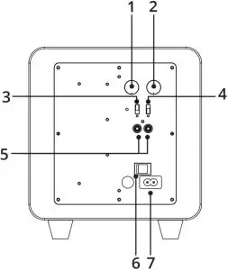
Front & Rear Panels Overview
FRONT PANEL
- 8” Paper Cone Driver

REAR PANEL
- Volume Knob
- Low-Pass Filter Frequency Control
- Standby Power
- Phase Switch
- Line Level Input
- ON / OFF Switch
- AC Input Connection (100 V – 240 V)

Setting Up and Connecting your Subwoofer
Ensure that the ON/OFF Switch is in the OFF position before connecting any component.
To some degree, positioning the subwoofer is less critical because it produces only non-directional low frequency sounds. However, best results are obtained if the subwoofer is placed either between the left and right speakers or in the vicinity of either the left channel or right channel speaker.
As with all speakers, moving the sub8 very close to room boundaries will enhance the bass frequencies but will tend to muddy the sound. Room characteristics and positioning have a profound effect on the performance of the subwoofer, so time and effort devoted to achieving the optimum operating position will be rewarded.
In a typical full range application using one subwoofer like the sub8 thru a single wire connection, you can connect to either the Left or Right Line Level Input. Connect your stereo component such as powered speakers with subwoofer output (e.g. YU2, YU4, YU6), power or integrated amplifiers with preamplifier output , or multi-channel home theater receivers with subwoofer output. If your components are equipped with both L/R subwoofer outputs or L/R preamplifier outputs, we recommend connecting the component to the sub8 by using both Left and Right Line Level Input channels.
The Low-Pass Filter Control is used to set the upper limit of the frequencies that sub8 will reproduce, typically within the range of 40Hz-120Hz. Refer to your manufacturer’s information for the cut-off frequency of your main speakers.
The Phase Switch is normally set to 0°. If the sub8 is positioned significantly farther from the main speakers or if the subwoofer is used in a stereo setup where the amplifier driving the main speakers inverts the phase signal, the 180° setting may be desirable.
Listen with the switch in both positions and select the setting that gives the fullest sound. If in doubt, or if there is little difference, leave the switch set to 0°.
Follow the instructions on the following page to connect your components to sub8. The examples are not meant to be exhaustive – just examples.

ATTENTION
When connecting audio cables the ON/OFF Switch must be turned OFF. After connecting all cables, the unit can be turned ON.

Audio Troubleshooting Guide
Frequently asked questions about Kanto’s sub8.
- None of the lights on the rear of the subwoofer are illuminated.
- Ensure the power cable is connected to the subwoofer and power outlet.
- Ensure that the power outlet is providing power.
- Verify that the power switch on the rear of the subwoofer is in the “On” position.
- Check the fuse on the rear panel of the subwoofer to ensure it’s intact.
- The green light on the rear of the subwoofer is illuminated but there’s no audio playing.
- Ensure audio source is playing audio.
- Check that the audio cable connected to the source is firmly connected. Test another audio cable if available.
- Verify that the volume of the subwoofer is not at it’s minimum level.
- You are experiencing poor audio quality.
- Set the source of the volume to a higher level and reduce the volume of the subwoofer. Low source volume can negatively affect dynamic range.
- Test a different song or source to isolate the issue.
- Adjust crossover to match the rest of the system.
- Speakers are going into standby while listening to audio.
- Set the volume of the source to its highest level. Low source volume can inadvertently trigger standby mode.
- There’s no audio coming from an attached subwoofer.
- Check that the RCA cable connected to and from the subwoofer is firmly seated. Try a different cable or source to isolate the issue.
- Make sure the subwoofer is connected to a power outlet and is set to “On” or “Auto”.
- Increase the volume of the subwoofer.
- You are experiencing buzzing, hissing or distortion.
- Ensure you are using an RCA to RCA subwoofer cable.
- Verify if the noise is coming from the source by removing the source from the subwoofer.
- Make sure it is not a power issue by trying a power outlet that is on a different circuit.
- Check that the audio cable connected to and from the source is firmly seated. Try a different cable or source to isolate the issue.
Specifications
- Woofer: 8” Paper Cone Driver
- Nominal Impedance: 4 Ohm
- Sensitivity: 2.83V (/1W/1m) 88 dB
- Amplifier Type: Class D
- Power Output: 125 Watts
- Input Sensitivity: 100 mV
- Total Harmonic Distortion: < 0.3%
- Frequency Response: 35 Hz – 175 kHz
- Low-Pass Filter: 40 Hz – 120 Hz
- Phase Switch: 0º and 180º
- Inputs: 1 x RCA L/R
- Input Voltage / Frequency: AC 100 V – 240 V 50 / 60 Hz
- Standby Power Consumption: < 0.5 W
- Dimensions: 11″ W x 11″ D x 11.9″ H (28 x 28 x 30.3 cm)
- Net Weight: 18.3 lb (8.3 kg)
- Gross Weight: 22.5 lb (10.2 kg)
NOTICE: This appliance is labeled in accordance with European Directive 2002/96/EC concerning waste electrical and electronic equipment (WEEE). This label indicates that this product should not be disposed of with household waste.
It should be deposited at an appropriate facility to enable recovery and recycling.
Limited Warranty to Original Purchaser
Kanto Living Inc. (Kanto) warrants the equipment it manufactures to be free from defects in material for the limited warranty period of 2 years.
If equipment fails because of such defects and Kanto is notified within 2 years from the date of shipment with proof of original invoice from an authorized reseller, Kanto will, at its option, provide replacement parts or replace the equipment, provided that the equipment has not been subjected to mechanical, electrical, or other abuse or modifications. Any replacement parts or replacement units are warranted for 90 days from the day of reshipment to the original purchaser.
Customers will be responsible for obtaining a Return Authorization Number and paying shipping costs to return product to a Kanto location or authorized depot. If the equipment is covered under the warranty provisions above, Kanto will replace parts or provide a replacement unit, and be responsible for shipping costs to the customer. Please keep the original packaging to prevent damage to the product during shipping. Insuring your shipment is also recommended.
The information in the manual has been carefully checked and is believed to be accurate. However, Kanto assumes no responsibility for any inaccuracies that may be contained in the manual. In no event will Kanto be liable for direct, indirect, special, incidental, or consequential damages resulting from any defect in the equipment, even if advised of the possibility of such damages. This warranty is in lieu of all other warranties expressed or implied, including without limitation, any implied warranty, including any warranty of merchantability and fitness for any particular purpose, all of which are expressly disclaimed.
TECHNICAL SUPPORT
- @kantoaudio

- @kantodesktop

- @kantoliving

www.kantoaudio.com
[email protected]
Toll Free: 1-888-848-2643




























