CHEMCHECK™
WATER QUALITY MONITOR

INSTALL AND SERVICE GUIDE
IMPORTANT SAFETY INSTRUCTIONS READ AND FOLLOW ALL INSTRUCTIONS SAVE THESE INSTRUCTIONS
https://www.pentair.com/chemcheck
IMPORTANT SAFETY INSTRUCTIONS
IMPORTANT NOTICE
This guide provides installation and operation instructions for this product. Consult Pentair with any questions regarding this equipment. Attention Installer: This guide contains important information about the installation and safe use of this product. This information should be given to the owner and/or operator of this equipment after installation or left on or near the equipment. Attention User: This manual contains important information that will help you in operating and maintaining this product. Please retain it for future reference.
READ AND FOLLOW ALL INSTRUCTIONS SAVE THESE INSTRUCTIONS
This is the safety alert symbol. When you see this symbol on your system or in this manual, look for one of the following signal words and be alert to the potential for personal injury.
DANGER
Warns about hazards that can cause death, serious personal injury, or major property damage if ignored.
WARNING
Warns about hazards that may cause death, serious personal injury, or major property damage if ignored.
CAUTION
Warns about hazards that may or can cause minor personal injury or property damage if ignored.
NOTE
Indicates special instructions not related to hazards.
Carefully read and follow all safety instructions in this manual and on equipment. Keep safety labels in good condition; replace if missing or damaged.
WARNING
Before installing this product, read and follow all warning notices and instructions in this Guide. Failure to follow warnings and instructions can result in severe injury, death, or property damage. Call (800) 831-7133 for additional free copies of these instructions. Please refer to www.pentair.com for more information related to these products.
WARNING
Do not permit children to use this product.
DANGER
SERIOUS BODILY INJURY OR DEATH CAN RESULT IF THIS PRODUCT IS NOT INSTALLED AND USED CORRECTLY.
DANGER
INSTALLERS, POOL OPERATORS, AND POOL OWNERS MUST READ THESE WARNINGS AND ALL INSTRUCTIONS BEFORE USING THIS PRODUCT.
DANGER
RISK OF ELECTRICAL SHOCK OR ELECTROCUTION! ALWAYS DISCONNECT POWER TO THIS EQUIPMENT AT THE CIRCUIT BREAKER BEFORE SERVICING. FAILURE TO DO SO COULD RESULT IN DEATH OR SERIOUS INJURY TO SERVICE PERSONS, POOL USERS, OR OTHERS DUE TO ELECTRIC SHOCK.
IMPORTANT SAFETY INSTRUCTIONS
DANGER
INHALATION: Inhalation of vapors can cause coughing, inflammation of the nose, throat, and upper respiratory tract, and death. In case of inhalation, move to an area with fresh air immediately.
INGESTION: Swallowing can be fatal. Contact the local poison control center or physician immediately. Give large amounts of water or milk. Allow the person to vomit. If vomiting occurs, keep head lower than hips to avoid aspiration. If a person is unconscious, turn their head to the side. Seek immediate medical attention.
STORAGE: Install and store container and acid in a dry, ventilated place protected from excess heat and direct sunlight. Should be stored at a temperature below 80°F (27°C). Be sure drainage is located away from the building and equipment.
SKIN CONTACT: Wash skin with soap and water for at least 20 minutes and remove contaminated clothing and shoes. Contaminated clothes should be thoroughly cleaned before re-use.
EYE CONTACT: Flush eyes immediately with water for at least 20 minutes. Seek immediate medical attention.
PERSONAL PROTECTION
VENTILATION: Use containers outside and in a well-ventilated area.
EYE PROTECTION: Use splash-resistant safety goggles.
CLOTHING: Wear chemical-resistant clothing when handling or working with acid and chlorine.
GLOVES: Wear chemical-resistant gloves when handling or working with acid and chlorine.
DISPOSAL: Because of its corrosive nature, muriatic acid is a hazardous waste when spilled or discarded. Dispose of used acid at an approved hazardous waste facility or at your municipal household hazardous waste collection facility. Small spills of acid may be neutralized using baking soda. Carefully pour the baking soda onto the spilled material until the fizzing stops, then mop or scoop up the residue. Leave cleanup of large spills to the experts; call your local fire department or hazardous materials spill team.
FCC Standard – 47 CFR Part 15, Subpart C (Section 15.247). This version is limited to chapter 1 to chapter 11 by specified firmware controlled in the U.S.A.
Instruction to the user – This equipment has been tested and found to comply with the limits for a Class B digital device, pursuant to Part 15 of the FCC Rules. These limits are designed to provide reasonable protection against harmful interference in a residential installation. This equipment generates, uses and can radiate radio frequency energy and, if not installed and used in accordance with the instructions, may cause harmful interference to radio communications. However, there is no guarantee that interference will not occur in a particular installation. If this equipment does cause harmful interference to radio or television reception, which can be determined by turning the equipment off and on, the user is encouraged to try to correct the interference by one or more of the following measures:
- Reorient or relocate the receiving antenna.
- Increase the separation between the equipment and receiver.
- Connect the equipment into an outlet on a circuit different from that to which the receiver is connected.
- Consult the dealer or an experienced radio/TV technician for help.
Note: In order to maintain compliance with FCC regulations, shielded cables must be used with this equipment. Operation with non-approved equipment or unshielded cables is likely to result in interference to radio and TV reception. The user is cautioned that changes and modifications made to the equipment without the approval of the manufacturer could void the user’s authority to operate this equipment.
Canada – Industry Canada (IC) Regulatory Notice: – This device complies with RSS210 of Industry Canada. (1999).
Under Industry Canada regulations, this radio transmitter may only operate using an antenna of a type and maximum (or lesser) gain approved for the transmitter by Industry Canada. To reduce potential radio interference to other users, the antenna type and its gain should be so chosen that the equivalent isotropically radiated power (e.i.r.p.) is not more than that necessary for successful communication. This device complies with Industry Canada license-exempt RSS standard(s). Operation is subject to the following two conditions: (1) this device may not cause interference, and (2) this device must accept any interference, including interference that may cause undesired operation of the device.
CUSTOMER SERVICE / TECHNICAL SUPPORT
If you have questions about ordering Pentair replacement parts, and pool products, please contact:
| Customer Service and Technical Support, USA (8 A.M. to 4:30 P.M. — Eastern/Pacific Times) Phone: (800) 831-7133 Fax: (800) 284-4151 | Sanford, North Carolina (8 A.M. to 4:30 P.M. ET) Phone: (919) 566-8000 Fax: (919) 566-8920 |
| Web site Visit www.pentair.com for more information about Pentair products. | Moorpark, California (8 A.M. to 4:30 P.M. PT) Phone: (805) 553-5000 (Ext. 5591) Fax: (805) 553-5515 |
Overview
The ChemCheck™ Water Quality Monitor electrode samples water from the pool or spa and determines water pH, Oxidation-Reduction Potential (ORP), and temperature. When paired with the Pentair Home app, the ChemCheck allows for easy and real-time remote monitoring of pool water chemistry and temperature. pH (0-14) is the scale of relative acidity or alkalinity.
The ideal pH range for pools and spas is 7.2 – 7.8.
- Maintaining a pH below 7.2 (too acidic) can cause eye irritation, corrosion of equipment, and/or damage to pool surfaces.
- Maintaining a pH above 7.8 (too alkaline), sanitizer activity is reduced, water may become cloudy, and eye irritation may result. Oxidation-Reduction Potential (ORP) ORP is a measure of a sanitizer’s (chlorine, ozone, etc.) ability to oxidize or reduce water contaminants. The ideal ORP for pools and spas is 650 – 750 mV.
Pool ORP level can be affected by a variety of things, such as temperature, pH, and the intensity of sunlight.
Oxidation-Reduction Potential (ORP)
ORP is a measure of a sanitizer’s (chlorine, ozone, etc.) ability to oxidize or reduce water contaminants. The ideal ORP for pools and spas is 650 – 750 mV.
Pool ORP level can be affected by a variety of things, such as temperature, pH, and the intensity of sunlight.
Features
- Multifunction electrode senses ORP, pH, and water temperature
- Remote pH, ORP, and water temperature monitoring via the Pentair Home app
- Battery or AC-powered
- Real-time water balance status
- Integrated flow indicator
- Factory-installed in-line prefilter
Packaged Contents
- Flow Cell
- 3/8” Tubing – 20 ft. (6 m)
- Installation Kit
• Screw Anchors (Qty. 4)
• Mounting Screws (Qty. 4)
• Pipe Clamps (Qty. 2)
• Gaskets (Qty. 2)
• Tube Fittings (Qty. 2)
• Compression Nuts (Qty. 2) - Electrode
- Power Supply (P/N 523476 only)
- Battery Pack (P/N 523402 only)
INSTALLATION
Balancing your Pool
Testing and balancing your pool’s water chemistry is required before installing the ChemCheck™ Water Quality Monitor. This will allow for accurate calibration during initial startup.
Balanced water has proper pH, Total Alkalinity, and Calcium Hardness levels and is neither corrosive or scaling.
To determine the pH, alkalinity, and calcium hardness of your pool water, use a Test Kit (with fresh testing reagents) or have a pool professional test a water sample.
Ensure all ranges below are met before proceeding with the installation.
Recommended Pool Chemistry pH: 7.2 – 7.8
Alkalinity: 80 – 120 ppm
Calcium Hardness: 200 – 500 ppm
Cyanuric Acid/Stabilizer: 30 – 50 ppm
Free Chlorine: 1 – 3 ppm
Total Dissolved Solids (TDS): 3000 – 6000 ppm (Salt Chlorinated Pools Only)
Salt: 3000 – 4500 ppm (Salt Chlorinated Pools Only)
Metals: None
Nitrates: None
Phosphates: Fewer than 125 ppb

Mounting ChemCheck
ENSURE THE MOUNTING LOCATION MEETS THE FOLLOWING REQUIREMENTS:
- Flat and vertical surface
- A combined maximum of 20 ft. (6 m) from pipe taps
- Shielded from direct sunlight
- Adequate clearance around the unit for servicing
- The immediate environment is free of chemical fumes and excessive heat.
- As far as possible from sources of electrical interference
- AC-powered units (P/N 523476) must be within 20 ft. (6 m) of an electrical outlet
TO PERMANENTLY MOUNT CHEMCHECK:
- Remove the top cover from ChemCheck.
- Place the unit against the wall and mark the outer edges of both Alignment Ribs (1).
- Open the provided bag labeled “Installation Kit”. Remove the four drywall anchors and four mounting screws from this bag.
- If mounting to wood: Using a 1/8-inch bit, predrill a hole along each mark and ensure the holes are level.
If mounting to masonry/brick: Using a 5/16-inch bit, predrill a hole along each mark, ensure the holes are level and install anchors. - Install a provided mounting screw into each predrilled hole.
- Use the Inner Mounting Points (2) to seat ChemCheck onto the screws.
- If the mounting surface allows, ChemCheck should be secured to the wall at the Outer Mounting Points (3). Follow the steps below if your mounting surface allows use of these mounting points.
Note: If mounting to a surface in which Outer Mounting Points can not be used (such as a post), seating ChemCheck onto the Inner Mounting Points will suffice. - With ChemCheck hanging from the wall, mark the two Outer Mounting Points (3).
- Remove ChemCheck from the mounting surface.
- If mounting to wood: Using a 1/8-inch bit, predrill a hole at the each mark.
If mounting to masonry/brick: Using a 5/16-inch bit, predrill a hole at each mark and install remaining anchors. - Hang ChemCheck from the Inner Mounting Points (2) and install the remaining mounting screws into the Outer Mounting Points (3).
Note: Do NOT overtighten the Outer Mounting Screws. Overtightening may crack the mounting bracket.
Plumbing ChemCheck
WARNING
A licensed plumber should perform all plumbing installation, as they will be familiar with all local, state and national codes.
Pentair recommends plumbing ChemCheck in one of two ways, dependent on whether a heater is part of the filtration loop. The two plumbing schemes described below (and shown in Figure 2A and Figure 2B) will provide optimal performance and less frequent maintenance.
If these two plumbing schemes are not possible, the IN and OUT lines may be installed on opposite sides of the filter; IN tubing positioned before the filter and OUT tubing positioned after the filter. This is NOT A PREFERRED INSTALLATION and allows unfiltered water to enter ChemCheck. This will lead to more frequent maintenance and less accurate readings.
REQUIRED TOOLS:
- Electric Drill
- 3/8” Drill Bit
- Flat-head Screwdriver
- Utility Knife or Tubing Cutter
TO PLUMB CHEMCHECK:
- Ensure all power to the filtration pump is turned OFF at the circuit breaker. This will prevent unexpected start-ups during installation.
- Relieve all pressure from the filtration system at the filter air relief valve.
WARNING
Failure to relieve all pressure from the filtration system before installing this equipment may result in serious injury. - Close all system valves to prevent flooding.
- If the plumbing contains a heater: Route IN tubing to a point between the filter and heater (Figure 2A) and mark it.
If the plumbing does not contain a heater: Route IN tubing to a point after the filter and mark it. To produce the required pressure differential a valve must be installed after the IN tubing. See Figure 2B.
- If the plumbing contains a heater: Route OUT tubing to a point after the heater (Figure 2A) and mark it.
If the plumbing does not contain a heater: Route OUT tubing to a point after the newly installed valve (Figure 2B) and mark it. - Before preparing plumbing or cutting tubing, verify the provided 20 ft. (6 m) of tubing can reach both marked positions in the plumbing.
- Ensure the tubing is not pinched or kinked and cut the tubing to the necessary lengths and as cleanly as possible.
- Remove all fittings, gaskets, nuts and band clamps from the bag labeled “Installation Kit”. Verify all Installation Kit contents listed in Packaged Contents, page 1.
- Set an electric drill to LOW speed and drill a 3/8” hole at the IN mark in the plumbing. Gently deburr the hole.
- Install a Gasket (1) onto the non-threaded end of a Tube Fitting (2) and insert the fitting into the hole in the clamp. See A Figure 3.
Figure 3
Note: Do NOT bend excess band at the end of the clamp. Bending will make it much harder or impossible to tighten enough to seal properly. - Wrap the clamp around the plumbing, insert the Tube Fitting (3) into the plumbing and tighten the clamp onto the plumbing with a flathead screwdriver. See B Figure 3.
- Place a Fitting Nut (4) onto the IN tubing. See C Figure 3.
- Push the tubing onto the barbed end of fitting and hand tighten the Fitting Nut (5). See D Figure 3.
- Route free end of the tubing to ChemCheck.
- Loosen the white compression nut on IN side of ChemCheck.
Figure 4
Note: Do NOT remove the compression nut. If accidentally removed, refer to Figure 4 for proper reassembly to ensurea watertight seal. - Fully insert tubing into the IN side compression nut. Tubing will insert roughly 1-inch (25.4 mm).
- Hand tighten the compession nut onto ChemCheck.
CAUTION
HAND TIGHTEN ONLY! Over tightening the compression nut may damage seal components and result in leaks. - Repeat steps 9-17 to install the OUT tubing.
Electrical Installation
The ChemCheck™ Water Quality Monitor can be powered in one of two ways, via a lithium-ion battery or an AC power supply.
Follow the instructions below to establish an electrical connection to ChemCheck.
Battery-Powered Units (P/N 523402)
- Remove the battery from its packaging.
- Fully charge the battery using the provided microUSB cord.Note: The battery LED will illuminate solid red while charging. A solid green LED indicates the battery is fully charged.
Note: Always reinstall the rubber grommet into the charging port after charging. This will prevent water and moisture intrusion. - Remove the top cover from ChemCheck.
- Ensure the battery label is facing upwards and install the battery into the battery compartment.
AC-Powered Units (P/N 523476)
- Remove the power supply and cable from packaging.
- Assemble the power supply and cable.
- Plug the power supply cable into the AC Power Terminal (1).
- Plug the power supply into the desired outlet.
- If desired, mount the power supply to a vertical surface. Power supply mounting hardware is not provided.
WARNING
Do NOT store the power supply in standing water or areas prone to standing water. This may produce an electrical hazard and result in serious injury. - If power cable is longer than needed, it should be coiled neatly and stored under the ChemCheck.
Installing the Electrode
The glass electrode tip is very fragile and must be handled with care. Follow the instructions below to successfully install the electrode.
- Electrode tip is shipped inside a protective bottle filled with a storage solution. Do not remove protective bottle unless installing the electrode.
- Keep electrode tip wet at all times. Never store or leave electrode tip dry.
- Do not drop or subject the electrode to unnecessary vibration.
TO INSTALL THE ELECTRODE:
CAUTION
The electrode tip MUST be kept wet. Allowing it to dry for a prolonged period of time will damage the electrode tip. After installation, allow water to flow through the cell as soon as possible.
- Remove the electrode from the box marked “Electrode”.
- Remove the protective bottle from the electrode.
Note: Store the protective bottle in a safe place.
It will be used to protect the electrode tip during future storage or winterization.
CAUTION
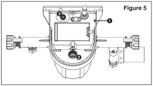
Do NOT touch the exposed electrode tip. Oils or other contaminants from your hands may damage the sensing element and/or lead to incorrect readings. - Carefully insert the electrode through the top of the cell reservoir (2) and hand tighten.
Note: The electrode is sealed by an o-ring. Ensure this o-ring is in place.
CAUTION
HAND TIGHTEN ONLY! Over tightening the electrode may damage the electrode. - Connect the electrode to the Electrode Terminal (3) and hand tighten.
- Reinstall the top cover onto ChemCheck.
- If all other installation procedures have been completed, immediately continue to Initial Startup, page 6.

OPERATION
Initial Startup
- Open any system valves that were closed during installation.
- Fully open your filter air relief valve, then stand clear of the filter.
- Reestablish power to the filtration pump at the circuit breaker and start the pump.
- When a steady stream of water flows from the filter air relief valve, close the valve.
- Ensure both ChemCheck flow valves are open.
Note: When a ChemCheck valve is open, the valve threads will be visible (left-side valve in Figure 6). When a ChemCheck valve is closed the valve threads will NOT be visible (right-side valve in Figure 6). - Look for the blue Flow Indicator (Figure 7) inside the cell reservoir. If the Flow Indicator is visible ChemCheck is receiving insufficient water flow.
- If the Flow Indicator is not visible, then ChemCheck is ready to be calibrated.
Refer to the ChemCheck Quick Start Guide or User’s Guide for instructions on pairing to the Pentair Home app. Both guides can be found at https://www.pentair.com/chemcheck.
![]() | ![]() |
App Setup
A Pentair Home account is required to access real-time water quality readings.
To create your account and set up ChemCheck monitoring, refer to the provided Quick Start Guide (P/N 523510).
Calibration
The ChemCheck™ Water Quality Monitor must be calibrated before it is put into regular service.
Pool water must be balanced before calibration. If water was not balanced prior to installation, refer to Balancing your Pool, page 2 for instructions and recommended chemical/mineral ranges.
To maintain accurate water quality readings, ChemCheck should be recalibrated after any substantial changes to the pool water or environment.
Recalibration is recommended in the following cases:
- At the beginning of each pool season.
- After the pool is drained.
- After the electrode is replaced.
- After any major adjustment or change to water chemistry.
For calibration instructions, refer to the ChemCheck User’s Guide (P/N 523513). The User’s Guide is only available online and can be found at https://www.pentair.com/chemcheck.
Diatomaceous Earth (D.E.) Filters
If the filtration system includes a diatomaceous earth (D.E.) filter, ensure both ChemCheck flow valves are closed before adding D.E. See Figure 6.
Failure to close flow valves will allow D.E. to enter the prefilter and clog the filter screen. This will dramatically reduce flow through your ChemCheck.
If the prefilter has been clogged, refer to Cleaning the Prefilter, page 7.
Manually Testing Water Quality
Every two weeks the Pentair Home app paired to your ChemCheck™ Water Quality Monitor will request a retest of your water chemistry.
Refer to Balancing your Pool, page 2 for instructions on manually testing the pool.
Cleaning the Prefilter
ChemCheck features an in-line prefilter in the inlet line.
The prefilter should be cleaned if debris begins entering the cell reservoir or flow through the cell is being restricted.
If the filtration system includes a diatomaceous earth (D.E.) filter, ensure both ChemCheck flow valves are closed before adding D.E. to the system. D.E. will clog the prefilter screen (2) and dramatically reduce flow through the cell.
TO CLEAN THE PREFILTER:
- Ensure all power to the filtration pump is turned OFF at the circuit breaker. This will prevent unexpected startups during servicing.
- Relieve all pressure from the filtration system at the filter air relief valve.
WARNING
Failure to relieve all pressure from the filtration system before servicing this equipment may result in serious injury. - Close all system valves.
- Unscrew the Filter Cap (1).
- Carefully remove the Filter Screen (2) from the Filter Screen Cavity (3).
- Using a clean cloth or paper towel, wipe out debris or dirt that has accumulated in the Filter Screen Cavity.
- Using a garden hose, carefully rinse out any debris that has collected in the Filter Screen.
- Carefully reinstall the Filter Screen into the Filter Screen Cavity.
- Reinstall the Filter Cap hand tight.

Battery Usage and Storage Requirements
WARNING
Read all safety warnings and instructions. Failure to follow the warnings and instructions below may result in electric shock, fire and/or serious injury.
- When charging the battery, inspect the battery contacts for any signs of corrosion or debris. Wipe away any debris with a cotton swab. If battery contacts are corroded, dispose of the battery at your local recycling facility. Never throw the battery in the garbage
- Only charge the battery with a charger and cable specified by the manufacturer. Use of chargers or cables not specified for ChemCheck may create a risk of fire.
- After charging, always reinstall the rubber grommet into the battery charging port. This prevents water and moisture from entering the battery. Only use an original manufacturer battery with ChemCheck. Use of a generic or third-party battery may create a risk of injury and fire.
- Always charge the battery indoors between 32°F [0°C] to 113°F [45°C]. Do not charge the battery outside of this temperature range. Charging improperly may damage the battery and increase the risk of fire.
- When the battery is not in use, keep away from other metal objects. Metal objects may create a connection between terminals, shorting the battery terminals together and creating a risk of burns and/or fire.
- Store the battery indoors between 32°F [0°C] to 113°F [45°C].
- Battery operating temperature range is -4°F [-20°C] to 140°F [60°C].
- Improper use of the battery may lead to liquid being ejected from the battery. Liquid ejected from the battery may cause irritation or burns; avoid contact. If contact occurs, thoroughly wash the affected area with water. If liquid contacts eyes, seek medical help.
- Do not use a damaged or modified battery. Damaged or modified batteries may operate unpredictably resulting in fire, explosion or risk of injury.
- Do not expose the battery to excessive temperatures. Exposure to temperatures greater than 265°F (130°C) may result in fire, explosion or risk of injury.
- Never modify or attempt to repair the battery.
General Electrode Care
- Keep electrode tip wet at all times. Always store the electrode in the provided protective bottle.
- Do not drop or subject electrode to unnecessary vibration.
- Electrode maximum operating pressure is 25 psi (1.7 bar). Extreme pressure variances may distort readings and can damage the electrode.
- Never operate the ChemCheck during freezing conditions. Refer to Winterizing, page 9 for winterization and storage instructions.
- Every two weeks: Inspect electrode for scratches, cracks and chemical or mineral buildup. To remove chemical or mineral buildups, refer to Cleaning the Electrode.
Cleaning the Electrode
The electrode tip must be clean and free of oils, chemical/mineral deposits and other contamination in order to function properly. A dirty or contaminated electrode tip will result in slow response and inaccurate readings.
Monthly cleaning is recommended. However, more frequent cleanings may be required due to high bather loads or other variables.
The glass electrode tip is very fragile and must be handled with care. Follow the instructions below to properly clean the electrode.
TO CLEAN THE ELECTRODE:
- Ensure all power to the filtration pump is turned OFF at the circuit breaker. This will prevent unexpected start-ups during servicing.
- Ensure both ChemCheck flow valves are closed.
- Remove the top cover from ChemCheck.
- Disconnect the Electrode Connector (1).
- Carefully unscrew Electrode (2) counter-clockwise and gently remove it from cell reservoir.
- Using a soft-bristled toothbrush and a solution of liquid detergent and water, gently scrub electrode tip.
CAUTION
Do NOT touch the exposed electrode tip. Oils or other contaminants from your hands may damage the sensing element and/or lead to incorrect readings.
CAUTION
Do NOT use excessive force or abrasive materials when cleaning the electrode. This will damage the electrobe. - Thoroughly rinse away the detergent and any loose contaminants.
- If contaminants are still visible, soak the electrode tip in a 1% solution of muriatic acid & water for 30 minutes.
WARNING
Muriatic acid is corrosive and can lead to inflammation or burns to body tissue. ALWAYS follow manufacturer instructions when handling acid. - Thoroughly rinse away the acid solution and any loose contaminants.
- Carefully reinsert the electrode into the cell reservoir and hand tighten.
Note: The electrode is sealed by an o-ring. Ensure this o-ring is in place.
CAUTION HAND TIGHTEN ONLY! Over tightening the electrode may damage the electrode.
CAUTION The electrode tip MUST be kept wet. Allowing it to dry for a prolonged period of time will damage the electrode tip. Reinstall the electrode immediately after cleaning or, if necessary, store the electrode in the provided protective bottle until it can be reinstalled. - Reconnect the Electrode Connector to electrode terminal and hand tighten.
- Reinstall the top cover.
- Open both ChemCheck flow valves.
- Allow the electrode to re-adjust for a minimum of four hours.

Winterizing
The ChemCheck™ Water Quality Monitor electrode must be protected from freezing conditions. If the pool requires winterizing, follow the instructions below to properly winterize ChemCheck.
- Ensure all power to the filtration pump is turned OFF at the circuit breaker. This will prevent unexpected start-ups during servicing.
- Ensure both ChemCheck flow valves are closed. See Figure 10.

- Remove the top cover from ChemCheck.
- Disconnect the electrode connector.
- Carefully unscrew the electrode and gently remove it from the cell reservoir.
- Fill the Protective Bottle (3) with pool water and tightly install onto the electrode tip. See Figure 11.
Note: If protective bottle has been misplaced, store the electrode in a small glass or plastic container with clean water covering the electrode tip.
CAUTION
The electrode tip MUST be kept wet. Allowing it to dry for a prolonged period of time will damage the electrode tip. - Remove the Battery Pack (1) or disconnect the power supply. See Figure 10.
Note: Battery should be stored indoors. - Remove the Drain Plug (2) from the bottom of the cell reservoir. See Figure 10.
- Once all water is drained from the reservoir, reinstall the drain plug.
- Reinstall the top cover.
- The unit is now properly winterized.
TROUBLESHOOTING
Status Check LED
A quick flow, connectivity and electrode status check can be performed by pressing the blue Status Button on top of the ChemCheck. This button, and its accompanying LED, are located between the WiFi Antenna and Electrode Connection.
Note: Water balance readings will pause for 5 minutes after the Status Button is pressed. If all status checks were successful (Solid Blue, Solid Green, and Solid Purple LEDs) readings will restart after this pause.
Start a status check sequence by pressing the Status Button once. The Status LED will illuminate and ChemCheck will cycle through the three separate status checks. The chart below shows the order in which statuses will display and what specific LED behaviors mean:B
| LED BEHAVIOR | STATUS | CORRECTIVE ACTION | |
| FLOW | Solid BLUE | Sufficient water flow through ChemCheck | None required |
| Blinking BLUE | Insufficient water flow through ChemCheck | Inspect system valves and water connections. Ensure both ChemCheck flow valves are open. Ensure ChemCheck has been mounted level. | |
| WIFI CONNEC TIVITY | Solid GREEN | Adequate signal between ChemCheck, WiFi router and Pentair Home app | None required |
| Blinking ORANGE | Adequate signal between ChemCheck and WiFi router; but weak or broken signal between router and Pentair Home app | Ensure other devices can connect to WiFi and repair internet connection accordingly. | |
| Solid RED | Weak or broken signal between ChemCheck and WiFi router | Ensure WiFi router is on and broadcasting a signal. Relocate ChemCheck to an area with stronger WiFi signal. Purchase and install an SMA-connected antenna extender. Purchase and install a WiFi extender. | |
| Blinking YELLOW | ChemCheck is in WiFi pairing mode | None required | |
| ELECTRODE | Solid PURPLE | Electrode properly connected to ChemCheck | None required |
| Blinking PURPLE | Electrode improperly connected to ChemCheck | Ensure the electrode connector is correctly and tightly threaded onto the electrode terminal. |
REPLACEMENT PARTS

Item | Description | Part. No. |
| 1 | Top Cover | 523527 |
| 2 | Flow Valves (inlet AND outlet) | 523539 |
| 3 | Flow Switch | 523540 |
| 4 | Power Supply (includes Item 6) | 523526 |
| 5 | Battery Pack | 523387z |
| 6 | Battery Cover | 523396z |
| 7 | Electrode | 523399z |
| 8 | Drain Plug Assembly | 523522 |
| 9 | Reservoir | 523506z |
| 10 | Reservoir O-ring | 523516z |
| 11 | In-line Filter | 523441z |
| 12 | Install Hardware Kit | 523440z |
| 13 | Tubing, 20 ft. | 521814 |
| 14 | Tube Fitting | 606000100z |
| 15 | Antenna | 523385z |
| 16 | Base Assembly (includes Items 2, 3 and 14) | 523541 |

1620 HAWKINS AVE., SANFORD, NC 27330 • (919) 566-8000
10951 WEST LOS ANGELES AVE., MOORPARK, CA 93021 • (805) 553-5000
WWW.PENTAIR.COM
All indicated Pentair trademarks and logos are property of Pentair. Third party registered and unregistered trademarks and logos are the property of their respective owners. Because we are continuously improving our products and services, Pentair reserves the right to change specifications without prior notice.
© 2020 Pentair. All rights reserved. This document is subject to change without notice.
P/N 523397 REV. A 8/20/20

Figure 3
Figure 4


Note: If protective bottle has been misplaced, store the electrode in a small glass or plastic container with clean water covering the electrode tip.


















