Netatmo In-Wall Transformer for Smart Video Doorbell

Read these instructions carefully before starting the installation.
The documentation provided with this product must be kept throughout the product’s lifetime.
Required tools

A.Philips screwdriver
B.Drill – Ø6mm & Ø10mm
C.Level (recommended tool)
Product Installation
- Smart Video Doorbell
- In-Wall Transformer
- Wi-Fi Router

- Check Wi-Fi Reception
Check with your smartphone that you have Wi-Fi reception at your doorbell button with your door closed.
- Locate a power source near your door
Make sure your power source is not too far away from your door.
- Caution: Electrical Danger
Disconnect power at fuse or circuit breaker before proceeding to the installation.
- Choose a location for your doorbell
We recommend that you install your doorbell at a height of 1.20m (4 ft) from the ground.
- Drill a hole through the wall
Use a Ø10mm drill bit to run the adaptor cables from the inside to the outside of your home.
- Wire your In-Wall Transformer
Wire your adaptor on your power source and run the cables inside the wall to the outside.
- Caution: Electrical Danger
Make sure power is still disconnected before continuing the installation.
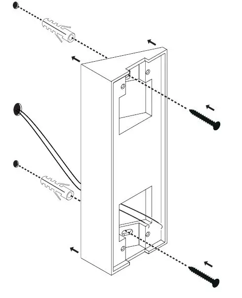
- Mark the drilling holes
- Place the drilling template on the wall and pass the wires through the provided space.
- Mark the drilling holes with a pen.

- Drill the holes
Use a Ø6mm drill for the holes and insert the 2 provided anchors.
- Choose your wall mount type
A. With the 25° bracket, go to step (11)
B. Without the 25° bracket, go to step (14)
- Install the 25° bracket
Install the 25° bracket on the wall with the 2 provided mounting screws.
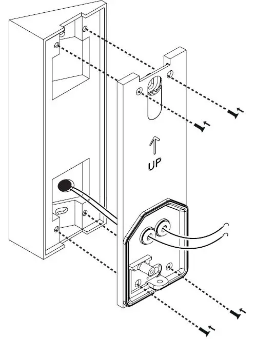
- Secure the wires
Insert the 2 wires from your old doorbell through the waterproof membrane of the wall mounting plate.
- Install the wall mounting plate
Screw the wall mounting plate to the 25° bracket with the 4 provided bracket screws.
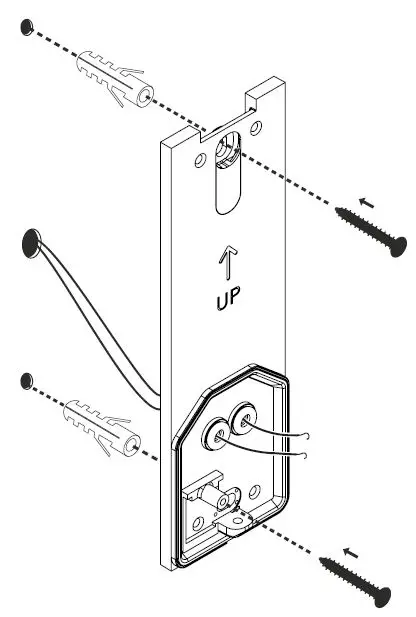
- Secure the wires
Insert the 2 wires from your old doorbell through the waterproof membrane of the wall mounting plate.
- Install the wall mounting plate
Install the wall mounting plate on the wall with the 2 provided mounting screws.
- Connect the wires
Insert and secure the 2 wires into the wire connector.
Note: There is no polarity in the circuit, insert the wires in the order you want.
- Secure the wire connector
- Place the wire connector on the wall mounting plate.
- Secure it with the connector screw.

- Plug the Smart Video Doorbell on the wall mounting plate

- Secure the doorbell with the provided security screw
- By hand, insert and push the security screw into the wall mounting plate. The security screw should stay in place.
- Finish securing the Doorbell with the custom tool.

- Reconnect the power
The Smart Video Doorbell will start and its LED will turn on. The LED will go from blinking green to glowing purple.
- Press the doorbell button
The LED will go from glowing purple to glowing green, and turn to solid green. It can take up to one minute.
- Complete the electrical setup
After hearing the melody from the Doorbell, press the doorbell button to complete the electrical setup of your Doorbell.
- Download the App and follow the instructions
To finish the installation and control your Smart Video Doorbell from your smartphone or tablet, please download the app and follow the instructions.
Apple Homekit
Your Smart Video Doorbell is compatible with Apple Homekit. When asked by the App, you will need to scan the code
« HomeKit setup code » on the provided card.

EN Troubleshooting
For further help please visit the Help Center at helpcenter.netatmo.com.
| LED Status | Problem | Possible causes | Solutions |
| Off | My pro- duct does not start. | Circuit breaker is turned off. | Turn circuit breaker on. |
| Incorrect cir- cuit wiring. | Check wire connections. Shut off the power first. (Go back to step 16) | ||
| Fuse is blown. | Replace the Smart Video Doorbell internal fuse with the provided additional fuse. (See Fuse Remplace- ment section). | ||
| Glowing Orange | My product is not respon- ding. | Internal backup power supply level is low. | Leave the Smart Video Doorbell powered on its wall mount. |
| Glowing White | My product is not visible in the app. | Installation incomplete. | Configure your product with your smartphone. (See step 22) |
| Blinking Yellow | My product is not visible in the app. | Product couldn’t connect to the internet router. | Make sure you ente- red the correct Wi-Fi password. |
| Make sure you have Wi- Fi reception at your door. | |||
| Make sure you have a 2.4GHz Wi-Fi network. | |||
| Make sure your internet router is not blacklisting the product. | |||
| Blinking Red | My product is not visible in the app. | Product configuration timeout. | Press the doorbell button until you see the LED glowing white and continue the installation on the app. |
Fuse Replacement
Disconnect power at fuse or circuit breaker before proceeding.
Remove the fuse holder from the back of the doorbell and replace the damaged fuse with the additional fuse.
Plug the doorbell back on its wall mount and reconnect the power.
Note: 500mA / 250VAC slow-blow fuse

Mounting Clip replacement
Remove the damaged mounting clip from the wall mounting plate and replace it with one of the additional mounting clips.
If your installation voltage is 230V, only use the HIGH mounting clip.

Safety Warnings
Class II electrical appliance: use only on 8-24 or 220-240 V AC 50-60Hz.
Risk of electric shock or fire. A good knowledge of electrical systems is required. If not qualified, do not attempt to install. Contact a qualified electrician.
Disconnect power at fuse or circuit breaker before installing or servicing.
To prevent wiring damage or abrasion, do not expose wiring to sharp objects such as edges of metal sheet.
Assistance may be required to support the product during installation.
Handle the product with care during the installation. Sharp edges could hurt you or damage the walls. The front glass could break if hit. Broken glass should be replaced.
This device is not intended for use by persons (including children) with reduced physical, sensory or mental capabilities, or lack of experience and knowledge unless they have been given supervision or instruction concerning use of the appliance by a person responsible for their safety. Children should be supervised to ensure that they do not play with the appliance.
A readily accessible disconnect device shall be incorporated external to the equipment.
www.netatmo.com/declaration/ndb
FCC Statement
This equipment has been tested and found to comply with the limits for a Class B digital device, pursuant to part 15 of the FCC rules. These limits are designed to provide reasonable protection against harmful interference in a residential installation.
This equipment generates, uses and can radiate radio frequency energy and, if not installed and used in accordance with the instructions, may cause harmful interference to radio communications. However, there is no guarantee that interference will not occur in a particular installation.
lf this equipment does cause harmful interference to radio or television reception, which can be determined by turning the equipment off and on, the user is encou-raged to try to correct the interference by one or more of the following measures:
- Reorient or relocate the receiving antenna.
- Increase the separation between the equipment and receiver.
- Connect the equipment into an outlet on a circuit different from that to which the receiver is connected.
- Consult the dealer or an experienced radio/TV technician for help.
This device NDB01 complies with Part 15 of the FCC Rules. Operation is subject to the following two conditions:
- This device may not cause harmful interference, and
- this device must accept any interference received, including interference that may cause undesired operation.
FCC Radiation Exposure Statement
This device complies with FCC RF radiation exposure limits set forth for general population (uncontrolled exposure). This device must be installed to provide a separation distance of at least 20cm from all persons and must not be collocated or operating in conjunction with any other antenna or transmitter.
Caution
This equipment may not be modified, altered, or changed in any way without signed written permission from NETATMO. Unauthorized modification may void the equipment authorization from the FCC and will void the NETATMO warranty.
Canadian Compliance Statement
This device complies with Industry Canada licence-exempt RSS standard(s). Ope-ration is subject to the following two conditions: (1) this device may not cause interference, and (2) this device must accept any interference, including interfe-rence that may cause undesired operation of the device. Under Industry Canada regulations, this radio transmitter may only operate using an antenna of a type and maximum (or lesser) gain approved for the transmitter by Industry Canada. To reduce potential radio interference to other users, the antenna type and its gain should be so chosen that the equivalent isotropically radiated power (e.i.r.p.) is not more than that necessary for successful communication. This device complies with Industry Canada RF radiation exposure limits set forth for general population (uncontrolled exposure). This device must be installed to provide a separation distance of at least 20cm from all persons and must not be collocated or opera-ting in conjunction with any other antenna or transmitter. Le présent appareil est conforme aux CNR d’Industrie Canada applicables aux appareils radio exempts de licence. L’exploitation est autorisée aux deux conditions suivantes: (1) il ne doit pas produire de brouillage, et (2) l’utilisateur du dispositif doit être prêt a accepter tout brouillage radioélectrique reçu, même si ce brouillage est susceptible de compromettre le fonctionnement du dispositif. Le présent appareil est conforme aux niveaux limites d’exigences d’exposition RF aux personnes définies par In-dustrie Canada. Cet appareil doit être installé afin d’offrir une distance de sépara-tion d’au moins 20cm avec l’utilisateur, et ne doit pas être installé à proximité ou être utilisé en conjonction avec une autre antenne ou un autre émetteur.
- CE marking is the manufacturer’s declaration that the product meets the requirements of the applicable EC directives.
- CE marking is the manufacturer’s declaration that the product meets the requirements of the applicable EC directives.
- The product meets the safety requirements specified for Class II equipment according to IEC 61140.
- The product complies with the requirements of the relevant ACMA Standards.
- WEEE symbol designates safe and responsible collection, recycling and recovery procedures for all types of electronic waste.
- The product complies with the Technical Regulations Conformity Certification of Specified Radio Equipment.
- Model Number
- The product complies with the limits for a Class B digital device, pursuant to part 15 of the FCC rules (USA).
- The product complies with Industry Canada license-exempt RSS standard(s).
- Serial number”
- The product requires an AC power supply to operate properly. It accepts voltage from 8 to 24V or from 220 to 240V, with a frequency of 50Hz or 60Hz.
- Installation and safety instructions must be read carefully before use.
- Caution is necessary when operating the device.
https://helpcenter.netatmo.com
FCC ID: N3A-NDB01
IC : 10860A-NDB01
Copyright Netatmo © 2022 All rights reserved. Reproduction and distribution prohibited without written authorization from Netatmo










































