NDB-DE Smart Video Doorbell
User Guide
Pack content 1/3
Pack content
A. 1 Smart Video Doorbell

B. 1 wall mounting plate
C. 1 25° bracket

D. 1 finish plate
Pack content 2/3
Pack content
E. 1 chime module

F. 1 wire connector

G. 1 drilling template
H. 1 additional fuse

I. 1 Homekit card
Pack content 3/3
Pack content
J. 4 bracket screws
K. 2 mounting screws and 2 anchors
L. 1 security screw and its custom tool
M. 1 connector screw
Product overview
Product overview

A. Night Vision LED
B. LED
C. Camera
D. Speaker
E. Microphone
F Doorbell Button
Required tools
A. Philips screwdriver

B. Drill – Ø6mm
C. Pair of wagos (optional tool)

D. Level (recommended tool)
Electrical Diagrams
A. Classical Doorbell Wiring
B. Doorbell Wiring with your Smart Video Doorbell
Note : The Smart Video Doorbell replaces your old doorbell button, and the chime module is plugged in parallel to your existing chime.
- Power
- Doorbell Button
- Chime
- Chime Module
A Classical Doorbell Wiring
B Doorbell Wiring with the Smart Video Doorbell
Check Wi-Fi Reception

Check with your smartphone that you have Wi-Fi reception at your doorbell button with your door closed.
If you do not, try to move your Wi-Fi router closer or install a Wi-Fi extender.
Locate your chime

Press your doorbell button to locate your chime.
Note: The chime is the little box that rings. If you don’t have a chime please visit the Help Center at helpcenter.netatmo.com.
Caution: Electrical Danger
Disconnect power at fuse or circuit breaker before proceeding to the installation.

Open your chime
A. If your chime is near your door: Remove your chime cover.
B. If your chime is in your switch board: Unscrew and remove your switch board cover.
Connect the first wire of the chime module
- Loosen one of the screws.

- Hook one of the chime module’s wires.
Note: There is no polarity in the circuit, choose the wire you want.
Secure the first wire
Tighten the screw in order to maintain the wires together.
Note: Use wagos if you have troubles maintening the wires together.

Connect and secure the second wire
Repeat steps (5) and (6) with the second wire
Verify the chime module configuration
Make sure the selectors are in 1 – LOW position.

Stick the chime module
Put the chime cover or switch board cover back on and stick the chime module next to your chime or on its cover using the two stickers on the back.
Caution: Electrical Danger
Make sure power is still disconnected before continuing the installation.
Unmount your old doorbell button from the wall and disconnect the wires.
Note: Your old doorbell button may be tightly screwed or glued to your wall.
- Place the drilling template on the wall and pass the wires through the provided space.
- Mark the drilling holes with a pen.

Drill the holes
Use a Ø6mm drill for the holes and insert the 2 provided anchors.

Choose your wall mount type
A. With the 25° bracket, go to step (15)

B. Without the 25° bracket, go to step (18)
Install the 25° bracket
Install the 25° bracket on the wall with the 2 provided mounting screws.
Note: If you want to hide potential scratches and holes left behind, place the finish plate between the wall and the 25° bracket.
Secure the wires
Insert the 2 wires from your old doorbell through the waterproof membrane of the wall mounting plate.
Install the wall mounting plate
Screw the wall mounting plate to the 25° bracket with the 4 provided bracket screws.

Secure the wires
Insert the 2 wires from your old doorbell through the waterproof membrane of the wall mounting plate.
Note: If you want to hide potential scratches and holes left behind, place the finish plate between the wall and the wall mounting plate.
Install the wall mounting plate
Install the wall mounting plate on the wall with the 2 provided mounting screws.
Connect the wires
Insert and secure the 2 wires into the wire connector.
Note: There is no polarity in the circuit, insert the wires in the order you want.

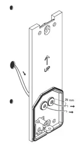
Secure the wire connector
1. Place the wire connector on the wall mounting plate.
2. Secure it with the connector screw.
Plug the Smart Video Doorbell on the wall mounting plate

Secure the doorbell with the provided security screw

Reconnect the power
The Smart Video Doorbell will start and its LED will turn on.
After a few seconds the LED will go from glowing to solid green. Once you see the solid green LED and hear the melody from the Doorbell go to step (27).
If the LED is glowing blue or purple go to step (25).

Your chime module needs to be configured
A. If the LED is glowing blue: On your chime module, leave the 1-2 selector on 1 and set the LOW-HIGH selector on HIGH.
If the LED is glowing blue
B. If the LED is glowing purple: On your chime module, set the 1-2 selector on 2 and leave the LOW-HIGH selector on LOW.
If the LED is glowing purple

Note: Your chime is not connected yet, it is normal if you don’t hear it ring.

The LED will go from glowing blue or purple to glowing green, and turn to solid green after a few seconds. If the LED turns blue or purple again go back to step (25).
Test your chime
After hearing the melody from the Doorbell, press the doorbell button to test your chime. Refer to the troubleshooting section page 78 if your chime doesn’t ring.
You have completed the electrical installation of your Smart Video Doorbell. The LED will glow white after a few seconds, indicating your doorbell is ready to be connected to the app.

Download the App and follow the instructions
To finish the installation and control your Smart Video Doorbell from your smartphone or tablet, please download the app and follow the instructions.
Apple Homekit
Your Smart Video Doorbell is compatible with Apple Homekit. When asked by the App, you will need to scan the code « HomeKit setup code » on the provided card.
The code is unique and cannot be generated again. Keep it in a safe place. Do not throw the card away.

Troubleshooting
For further help please visit the Help Center at helpcenter.netatmo.com.
| LED Status | Problem | Possible causes | Solutions |
| Off | My product does not start. | Circuit breaker is turned off. | Turn circuit breaker on. |
| Incorrect circuit wiring. | Check wire connections. Shut off the power first. (Go back to step 3) | ||
| Fuse is blown. | Make sure your chime module’s selec- tors are in 1-LOW position. (See step 8) Replace the Smart Video Doorbell internal fuse with the provided additionnal fuse.(See Fuse Remplacement section). | ||
| Solid Green | My chime does not ring. | Incorrect circuit wiring. | Check wire connections. Shut off the power first. (Go back to step 3) |
| Solid Red | My product is not responding. | Incorrect chime module wiring | Check the wire connections of your chime module. Use wagos if necessary. Shut off the power first.(Go back to step 5) |
| Installation blocked (230V only) | Shut off the power for 2 minutes. Set the chime module’s selectors on 1-HIGH, then go back to step 24. | ||
| Transformer not powerful enough. | Replace your transformer with a more powerful one. | ||
| Glowing Blue | Electrical installation blocked. | Incorrect chime module configuration. | Make sure your chime module’s selectors are in 1-HIGH position. (See step 26) |
| Glowing Purple | Electrical installation blocked. | Incorrect chime module configuration. | Make sure your chime module’s selectors are in 2-LOW position. (See step 26) |
| Glowing Orange | My product is not responding. | Internal backup power supply level is low. | Leave the Smart Video Doorbell powe- red on its wall mount. |
| Glowing White | My product is notvisible in the app. | Installation incomplete. | Configure your product with your smart- phone. (See step 28) |
| Blinking Yellow | My product is notvisible in the app. | Product couldn’t connect to the internet router. | Make sure you entered the correct Wi-Fi password. |
| Make sure you have Wi-Fi reception at your door. | |||
| Make sure you have a 2.4GHz Wi-Fi network. | |||
| Make sure your internet router is not blacklisting the product. | |||
| Blinking Red | My product is notvisible in the app. | Product configuration timeout. | Press the doorbell button until you see the LED glowing white and continue the installation on the app. |
Fuse Replacement
Disconnect power at fuse or circuit breaker before proceeding. Remove the fuseholder from the back of the doorbell and replace the damaged fuse with the additionnal fuse.
Plug the doorbell back on its wall mount and reconnect the power. Note: 500mA / 250VAC slow-blow fuse.

Factory Reset
To perform a factory reset of your doorbell, plug it on a powered USB port. Wait for the LED to turn off then press and hold the Reset button with a pin for 10 seconds.
The LED will go from blinking red to solid green. This operation will erase all data from the product.

Safety Warnings
Class II electrical appliance: use only on 8-24 or 220-240 V AC 50-60Hz. Risk of electric shock or fire. A good knowledge of electrical systems is required. If not qualified, do not attempt to install. Contact a qualified electrician.
Disconnect power at fuse or circuit breaker before installing or servicing. To prevent wiring damage or abrasion, do not expose wiring to sharp objects such as edges of metal sheet. Assistance may be required to support the product during installation. Handle the product with care during the installation. Sharp edges could hurt you or damage the walls. The front glass could break if hit. Broken glass should be replaced.
This device is not intended for use by persons (including children) with reduced physical, sensory or mental capabilities, or lack of experience and knowledge, unless they have been given supervision or instruction concerning use of the appliance by a person responsible for their safety. Children should be supervised to ensure that they do not play with the appliance. A readily accessible disconnect device shall be incorporated external to the equipment.
Hereby, NETATMO, declares that the radio equipment type NDB01 is in compliance with Directive 2014/53/EU.
The full text of the EU declaration of conformity is available at the following internet address:
FCC Statement
This equipment has been tested and found to comply with the limits for a Class
B digital device, pursuant to part 15 of the FCC rules. These limits are designed to provide reasonable protection against harmful interference in a residential installation.
This equipment generates, uses and can radiate radio frequency energy and, if not installed and used in accordance with the instructions, may cause harmful
interference to radio communications. However, there is no guarantee that interference will not occur in a particular installation. lf this equipment does cause harmful interference to radio or television reception, which can be determined by turning the equipment off and on, the user is encouraged to try to correct the interference by one or more of the following measures:
- Reorient or relocate the receiving antenna.
- Increase the separation between the equipment and receiver.
- Connect the equipment into an outlet on a circuit different from that to which the receiver is connected.
- Consult the dealer or an experienced radio/TV technician for help.
This device NDB01 complies with Part 15 of the FCC Rules. Operation is subject to the following two conditions: (1) This device may not cause harmful interference, and (2) this device must accept any interference received, including interference that may cause undesired operation.
FCC Radiation Exposure Statement
This device complies with FCC RF radiation exposure limits set forth for general population (uncontrolled exposure). This device must be installed to provide a separation distance of at least 20cm from all persons and must not be collocated or operating in conjunction with any other antenna or transmitter.
Caution
This equipment may not be modified, altered, or changed in any way without signed written permission from NETATMO. Unauthorized modification may void the equipment authorization from the FCC and will void the NETATMO warranty. Canadian Compliance Statement This device complies with Industry Canada licence-exempt RSS standard(s). Operation is subject to the following two conditions: (1) this device may not cause
interference, and (2) this device must accept any interference, including interference that may cause undesired operation of the device. Under Industry Canada regulations, this radio transmitter may only operate using an antenna of a type and maximum (or lesser) gain approved for the transmitter by Industry Canada. To reduce potential radio interference to other users, the antenna type and its gain
should be so chosen that the equivalent isotropically radiated power (e.i.r.p.) is not more than that necessary for successful communication. This device complies with Industry Canada RF radiation exposure limits set forth for general population (uncontrolled exposure). This device must be installed to provide a separation distance of at least 20cm from all persons and must not be collocated or operating in conjunction with any other antenna or transmitter.
https://helpcenter.netatmo.com
Copyright Netatmo© 2020 All rights reserved. Reproduction and distribution prohibited without written authorization from Netatmo





















