dahua DH-DB86I Video Doorbell User Guide
Foreword
General
This manual introduces the functions and operations of the video doorbell (hereinafter referred to as “the Device”).
Safety Instructions
The following signal words might appear in the manual.
| Signal Words | Meaning |
| Indicates a medium or low potential hazard which, if not avoided, could result in slight or moderate injury. | |
| Indicates a potential risk which, if not avoided, could result in property damage, data loss, lower performance, or unpredictable result. | |
| Provides additional information as the emphasis and supplement to the text. |
Revision History
| Revision Content | Release Time | Revision Content |
| V1.0.0 | First release. | September 2021 |
Privacy Protection Notice
As the device user or data controller, you might collect the personal data of others such as their face, fingerprints, and license plate number. You need to be in compliance with your local privacy protection laws and regulations to protect the legitimate rights and interests of other people by implementing measures which include but are not limited: Providing clear and visible identification to inform people of the existence of the surveillance area and provide required contact information.
About the Manual
- The manual is for reference only. Slight differences might be found between the manual and the product.
- We are not liable for losses incurred due to operating the product in ways that are not in compliance with the manual.
- The manual will be updated according to the latest laws and regulations of related jurisdictions. For detailed information, see the paper user’s manual, use our CD-ROM, scan the QR code or visit our official website. The manual is for reference only. Slight differences might be found between the electronic version and the paper version.
- All designs and software are subject to change without prior written notice. Product updates might result in some differences appearing between the actual product and the manual. Please contact customer service for the latest program and supplementary documentation.
- There might be errors in the print or deviations in the description of the functions, operations and technical data. If there is any doubt or dispute, we reserve the right of final explanation.
- Upgrade the reader software or try other mainstream reader software if the manual (in PDF format) cannot be opened.
- All trademarks, registered trademarks and company names in the manual are properties of their respective owners.
- Please visit our website, contact the supplier or customer service if any problems occur while using the device.
- If there is any uncertainty or controversy, we reserve the right of final explanation.
Important Safeguards and Warnings
Electrical Safety
- All installation and operation shall conform to your local electrical safety codes.
- The power supply must conform to the requirements of ES1 in IEC 62368-1 standard and be no higher than PS2. Note that the power supply requirements are subject to the device label.
- Make sure that the power supply is correct before operating the device.
- A readily accessible disconnecting device shall be incorporated in the building installation wiring.
- Prevent the power cable from being trampled or pressed, especially the plug, power socket and the junction extruded from the device.
Environment
- Do not aim the device at strong light to focus, such as lamp light and sun light; otherwise it might cause over brightness or light marks, which are not the device malfunction, and affect the longevity of Complementary Metal-Oxide Semiconductor (CMOS).
- Do not place the device in a damp, dusty extremely hot or cold environment, or the locations with strong electromagnetic radiation or unstable lighting.
- Keep the device away from any liquid to avoid damage to the internal components.
- Keep the indoor device away from rain or damp to avoid fire or lightning.
- Keep sound ventilation to avoid heat accumulation.
- Transport, use and store the device within the range of allowed humidity and temperature.
- Heavy stress, violent vibration or water splash are not allowed during transportation, storage and installation.
- Pack the device with standard factory packaging or the equivalent material when transporting the device.
- Install the device in the location where only the professional staff with relevant knowledge of safety guards and warnings can access. The accidental injury might happen to the non-professionals who enter the installation area when the device is operating normally.
Operation and Daily Maintenance
- Do not touch the heat dissipation component of the device to avoid scald.
- Carefully follow the instructions in the manual when performing any disassembly operation about the device; otherwise, it might cause water leakage or poor image quality due to unprofessional disassembly. Please contact after-sale service for desiccant replacement if there is condensed fog on the lens after unpacking or when the desiccant turns green. (Not all models are included with the desiccant).
- It is recommended to use the device together with lightning arrester to improve lightning protection effect.
- It is recommended to ground the device to enhance reliability.
- Do not touch the image sensor (CMOS) directly. Dust and dirt could be removed with air blower, or you can wipe the lens gently with soft cloth that is moistened with alcohol.
- You can clean the device body with soft dry cloth, and for stubborn stains, use the cloth with mild detergent. To avoid possible damage on device body coating which could cause performance decrease, do not use volatile solvent such as alcohol, benzene, diluent and so on to clean the device body, nor can strong, abrasive detergent be used.
- Dome cover is an optical component. Do not touch or wipe the cover with your hands directly during installation or operation. For removing dust, grease or fingerprints, wipe gently with moistened oil-free cotton with diethyl or moisten soft cloth. You can also remove dust with an air blower.
WARNING
- Strengthen the protection of network, device data and personal information by adopting measures which include but not limited to using strong password, modifying password regularly, upgrading firmware to the latest version, and isolating computer network. For some device with old firmware versions, the ONVIF password will not be modified automatically along with the modification of the system password, and you need to upgrade the firmware or manually update the ONVIF password.
- Use standard components or accessories provided by manufacturer and make sure that the device is installed and maintained by professional engineers.
- The surface of the image sensor should not be exposed to laser beam radiation in an environment where a laser beam device is used.
- Do not provide two or more power supply sources for the device unless otherwise specified. A failure to follow this instruction might cause damage to the device.
Please take attention that changes or modification not expressly approved by the party responsible for compliance could void the user’s authority to operate the equipment.
This device complies with Pad 15 of the FCC Rules. Operation is subject to the following two conditions:
- This device may not cause harmful interference, and
- This device must accept any interference received, including interference that may cause undesired operation.
This equipment complies with FCC radiation exposure limits set forth for an uncontrolled environment. This equipment should be installed and operated with minimum distance 20cm between the radiator & your body.
Package Contents
Figure 1-1 Packing list
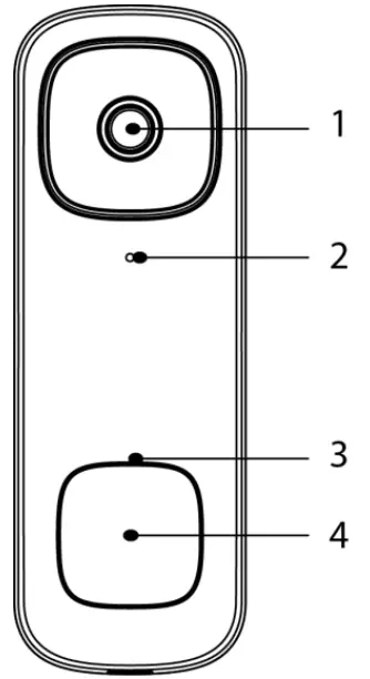
Overview
Figure 2-1 Overview


Table 2-1 Doorbell description
| No. | Name | No. | Name |
| 1 | Lens | 6 | Reset |
| 2 | Microphone | 7 | Micro SD Card Slot |
| 3 | LED Indicator | 8 | Power Ports |
| 4 | Call Button | 9 | Night Light |
| 5 | Micro USB Port | 10 | Speaker |
Table 2-2 Indicator light pattern
| LED Status | Device Status |
| Solid red | Resetting to factory default |
| Solid blue |
|
| Slowly flashing blue | Enabling hotspot |
| Fast flashing blue | Configuring network |
| Flashing red and blue | Updating firmware |
| Slowly flashing red | Wi-Fi connection failed |
| Spinning blue | Call in progress for the doorbell |
Operating With DMSS App
To ensure the best possible wireless performance, make sure that there are no obstacles and electromagnetic interference between the device and the router.
Figure 3-1 Obstacles and electromagnetic interference
Step 1 Add the device.
- Tap + button on the upper-right corner of the DMSS home page to scan the QR code on the camera. If your DMSS fails to scan the QR code, tap Manually enter SN.
- Tap Next once the indicator light on the device flashed a slow blue light.
Step 2 Configure the device.
- Connect the device hotspot labeled Doorbell-xxxxxxxx.
Figure 3-2 Connect device hotspot
Enable GPS/Location for DMSS, otherwise the configuration might fail.- If the app displays device hotspot directly, tapJoin.
- Initialize the video doorbell. Create a security password for the device and then tap Next.
- Select your Wi-Fi network from the SSID list and enter the password.
- Create a device name and then set the time zone.
- (Optional) Select chime type and then tap Save.
Figure 3-3 Chime link
If the doorbell is not connected to any chime, skip this step. Otherwise the video doorbell might not work properly.
Step 3 Connect to the platform.
Installing the chime kit
The chime kit is used to regulate power to your existing chime so that your doorbell will function properly. Before getting started, turn off the power at the breaker, and make sure that no power is
Figure 4-1 Attention before installation
Step 1 Remove the cover of your existing chime box, and then find terminals labeled FRONT and TRANS. The chime kit might look different depending on the chime type.
Step_2 Loosen the FRONT and TRANS terminal screws. If there are no markings, simply loosen the two terminals where wires are attached. Make sure not to detach any connected wiring.
Figure 4-2 Install the chime (1)
Step 3 Connect the wire harness to the chime kit.
Step 4 Connect either wire from the chime kit to the FRONT terminal, then connect the other wire to the TRANS terminal. Tighten the screws. Make sure the existing wires are attached.
Step 5 It is recommended to attach the chime kit to the inside of the chime with the adhesive provided. Make sure that the kit and its connected wires do not interfere with the chime’s operation.
Step 6 Replace the chime cover.
Figure 4-3 Install the chime (2)
Installing the Video Doorbell
Step 1 Mark mounting holes.
Place the mounting bracket on a flat surface and then carefully arrange the wiring of your existing doorbell. Mark the screw holes according to the mounting bracket. Make sure to follow the UP.
Figure 5-1 Mark mounting holes
Step 2 (Optional) Attach theang led bracket to the mounting bracket. Attach one of the angled mounting wedges to the mounting bracket if you want to adjust the angle of your doorbell for a better view.
Figure 5-2 Horizontal angled bracket
Step 3 (Optional) Install wall anchors. If installing on stucco, brick, or concrete, use the provided drill bit to drill the marked holes, and then insert the included wall anchors. For wood, drywall or a soft surface, skip this step.
Figure 5-3 Install wall anches
Step 4 Stem Secure the mounting bracket.
Route the doorbell wires through the hole on the mounting bracket, then secure the bracket to the mounting surface with a Philips-head screwdriver and supplied mounting screws.
Figure 5-4 Secure the mounting bracket
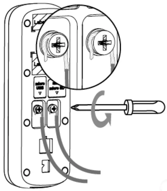
Step 5 Connect wires.
- Loosen the power port screws of the doorbell.
- Loop the existing wires underneath the screws. Either wire can connect to either screw.
- Tighten the screws to secure the power wires.
Figure 5-5 Connect wires
Step 6 (Optional) Apply extension wires.
- For existing wires that are too short, remove the power port screws completely, and then attach the wire nut to the extension wires, and turn to tighten the nut.
- Align the ends of the existing wire and the extension wire.
- Place the wire nut over the exposed wires and twist the wire nut clockwise to tighten it. Pull on the wires slightly to make sure that they are properly fastened inside the wire nut.
Ensure there is enough space to fit the wires and wire nuts into the hole in your wall.
Figure 5-6 Apply extension wires
Step 7 Mount the doorbell.
Push the wiring back into the wall, place the doorbell onto the two tabs of the mounting bracket, and then slide it down to secure the device. A click sound indicates that it is locked.
Your doorbell is now ready to be used. Turn on the power at the breaker.
Figure 5-7 Mount the doorbell
To detach the doorbell from the mounting bracket:
- Slide the doorbell up and remove it from the bracket.
- Insert the supplied pin into the hole at the bottom of the bracket until it reaches the inner buckle.
Figure 5-8 Detach the doorbell
Frequently Asked Questions
Yes. The video doorbell can be connected to both 2.4GHz and 5GHz Wi-Fi network.
- Make sure the breaker is turned on, and wait about 5 minutes for the doorbell to fully power on.
- Make sure the power source that supplies the video doorbell is 16 VAC to 24 VAC or 12 VDC to 24 VDC. Check if the voltage is printed on your doorbell transformer or use a multimeter to test the voltage.
- When connecting the video doorbell with a USB power cable (not included), ensure the USB cable is connected to a 5 V, 2 A USB power adapter (not included).
- Pull back the Reset/Micro SD card slot cover at the back of the video doorbell.
- Use the supplied pin and insert it into the hole labeled RESET. Wait until you hear the voice prompt: “Device is undergoing hard reset”, then release the pin. After one minute, the video doorbell flashes a slow blue light, indicating the video doorbell is ready to be setup.
Make sure the video doorbell flashes a slow blue light, then you can find the “Doorbell_xxx” hotspot in Settings> WLAN on your phone.
- If the light is solid blue, then check if the Wi-Fi router is connected to the network.
- If not, reset the video doorbell and reconnect to the network. Make sure the selected Wi-Fi signal is strong.
Make sure the DMSS has Location and WLAN permission. If the phone cannot connect automatically to the hotspot, check the phone’s WLAN settings and connect the device hotspot manually.
Keep your phone connected to the hotspot all the time to connect the hotspot network successfully.
- Select the correct chime box in DMSS. You can modify the setting at any time in Device Details > Chime Link
- Make sure the chime kit is wired correctly.
- Allow the video doorbell to power on for 5 minutes before testing the chime.
ENABLING A SAFER SOCIETY AND SMARTER LIVING
ZHEJIANG DAHUA VISION TECHNOLOGY CO., LTD.
Address: No.1199 Etintan Road, Binjiang District, Hangzhou, P. R. China I Website: www.dahuasecurity.com I Postcode: 310053
Email: [email protected] I Fax: +86-571-87688815 I Tel: +86-571-87688883























