SQUARE D SCTK20 and SCTK30 CSED Tunnel Kits Instruction Manual
DANGER
HAZARD OF ELECTRIC SHOCK, EXPLOSION, OR ARC FLASH
- Apply appropriate personal protective equipment (PPE) and follow safe electrical work practices. SeeNFPA 70E.
- This equipment must only be installed and serviced by qualified electrical personnel.
- Turn off all power supplying the equipment where this kit will be installed before working on or inside equipment.
- Always use a properly rated voltage sensing device to confirm power is off.
- Replace all devices, doors and covers before turning on power to this equipment.
Failure to follow these instructions will result in death or serious injury
Barrier Removal
- Turn off all power supplying the equipment where this kit will be installed, before working on or inside the equipment
- Remove and retain barrier mounting screw (A).
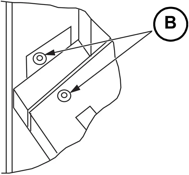
- Remove and retain barrier mounting screw from pullbox side (B).
- Remove and discard barrier.

Tunnel Installation
- Orient tunnel in enclosure so that tunnel bracket is behind trim bracket on top endwall (A).

- Attach tunnel to enclosure and barrier with screws removed during barrier removal (B). Torque screws to 30 lbs-in. (3.4 N•m).

Kit Contents
| Tunnel Kit | Devices Used On | Provided in Kit |
| SCTK20 | F002M0402CS ,F521M0402CS ,F002F618CS ,F002L21CS | Tunnel, Instruction Bulletin |
| SCTK30 | FP522M2403CS ,FP002M2403CS ,F522M0403CS ,F002M0403CS | |
| SCTK20P | SC12L200F 1, SC816F200PF, SC2040M125PF, SC2040M200PF | |
| SCTK30P | SC3042M200PF, SC3042M225PF |
















