TOTAL THSPP2021 2L Pressure Sprayer Instruction Manual
Security instructions
Caution
Please read the operating instructions carefully and observe the notes provided. Use the instructions to familiarize yourself with the pressure sprayer, its proper use, and the safety notes. Safe working with this machine is only possible when the operating or safety information is fully read and the instructions contained therein are strictly followed.
For safety reasons, children under 16 years of age, as well as persons unfamiliar with these operating instructions, should not use the pressure sprayer. safe place.
Note: Save all warnings and instructions for future reference.
- Danger of physical injury
a. Never open the pressure sprayer or unscrew the nozzle while the pressure sprayer is still pressurized. To avoid injury, never connect the pressure sprayer to an air compressor. Always keep the pressure sprayer in an upright position before pressing the safety valve. Before each opening of the pressure sprayer, completely relieve the pressure by pressing the safety valve. - Operation
a. Visually inspect the pressure sprayer before each use. Never leave your pressure sprayer unattended or for long periods when it is full and pressurized. Keep the unit out of the reach of children. You are responsible for safety or for others.
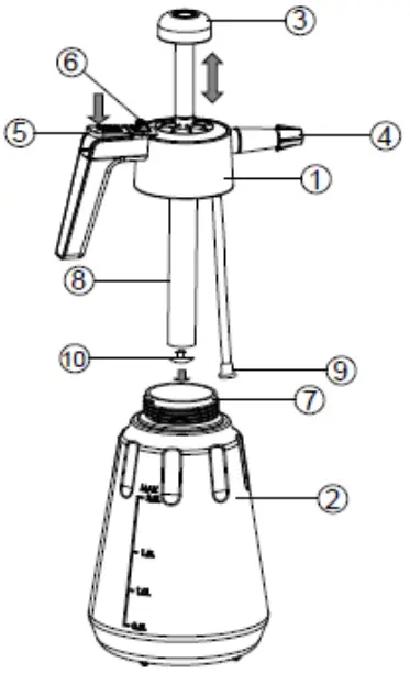
b. Keep your pressure sprayer away from heat sources and hot environments. Screw the spray tip ① on tightly by hand (do not use tools) and make sure the O-ring ⑦ is seated correctly. - Cleaning
a. Relieve pressure after each use, empty container, clean thoroughly, and rinse with clean water. Then leave the pressure sprayer open and let it dry. Do not dispose of waste fluids in the sewer system (local disposal systems). Always clean the pressure sprayer before using a different product to avoid chemical reactions. When using multiple pressure sprayers, the tanks and spray tip cannot be interchanged. - Storage
a. Before storing, loosen the tank cap and always empty the pressure sprayer completely (also after cleaning with water). Store away from frost.
Application area
Intended purpose
This pressure sprayer is used in home gardens and parcels, it should not be used in public places, parks, sports stadiums, or in agriculture or forestry.
Compliance with the operating instructions provided by the manufacturer is a prerequisite for the proper use of the pressure sprayer.
Note: According to the laws governing the use of pesticides and detergents, only authorized substances can be used (authorized specialty store).
Use tips
Due to the risk of physical injury, the pressure sprayer must not be used to spray substances other than those specified.
When spraying insecticides, herbicides and fungicides or other liquid plant protection products, you must comply with all special precautions specified by the manufacturer of the product you are using.
Technical data
Data sheet | |
| Maximum capacity | 20L |
| Allowable working pressure | 2.5 bar |
| Maximum allowable operating temperature | 40 ° C |
Note: Due to the ongoing R & D & I program, this document is subject to change without notice.
Start up
Warning
The tank can only be filled with a maximum of 2 liters of liquid.
- Observe the dosing and safety instructions provided by the manufacturer of the product to be sprayed.
- Unscrew the spray nozzle ① and fill the tank ②.
- Pump with the handle ③.
- Apply mist spray through nozzle ④.
- Press the operation tab⑤ and spray the liquid.
Cleaning and storage
Cleaning
Attention
Always make sure the tool is turned off and the battery cartridge removed before adjusting or verifying function on the tool.
- Always clean your pressure sprayer after spraying.
- Use the pressure sprayer with clean water only (possibly with the addition of dish detergent) and spray empty.
- Use the pressure sprayer with clean water only (possibly with the addition of dish detergent) and spray empty.
- The valves, the suction hose and the nozzle ④ are cleaned.
- In the case of exterior dirt on the cap and tank, thoroughly clean the thread of the area and the O-ring ⑦ of the thread.
Storage
- Clean pressure sprayer.
- Keep your pressure sprayer in a place protected from frost.
Problem solving
| Problem | Possible cause | Solution |
| Has no pressure | Spray nozzle ① too slightly kinked. | Screw on the spray nozzle ① with more force. |
| Pump tube ⑧ It is loose. | Screw the pump tube ⑧ tightest. Check the correct position of the O-ring ⑦. Change the sealing cap ⑩. | |
| O-ring ⑦ it is not seated correctly. | ||
| Closing cap ⑩ It’s defective. | ||
| The pressure sprayer does not spray, even if there is enough pressure or only sprays with a weak spray pattern. | Nozzle ④ It’s blocked. | Unscrew the nozzle ④ and clean it. |
| The filter ⑨ is clogged. | Remove the filter ⑨ and clean it | |
| It is difficult to open and close the container. | The pressure in the container is too high. | Completely release the pressure in the container using the safety valve ⑥ |
Environment
- Do not dispose of electrical appliances as unsorted municipal waste, use separate collection facilities.

- Contact your local authority for information on available collection systems.
- If electrical appliances are disposed of in landfills, hazardous substances can seep into groundwater and enter the food chain, damaging your health and wellbeing.
- Recycle raw materials instead of disposing of them as waste.
- The machine, accessories and packaging must be classified for environmentally friendly recycling.






















