
AT-120 Antenna Tuner
User Manual
The Model AT-120 is designed to satisfy your antenna-tuning requirements. The AT-120 has been manufactured with the quality and performance that makes Kenwood “The Pacesetter in Amateur Radio”.
This unit has been carefully engineered and manufactured under rigid quality standards and should give you satisfactory and dependable operation for many years.
Should any trouble arise with this unit, please contact your dealer, the nearest KENWOOD service facility, or the factory.
AFTER UNPACKING
Shipping Container: Save the boxes and packing in the event your unit needs to be transported for remote operation, maintenance, or service. The following explicit definitions apply in this manual.
NOTE: If disregarded, inconvenience only. No risk of equipment damage or per-sonal injury.
CAUTION: Equipment damage may occur, but not personal injury.
FEATURES
- The AT-120 is a high-performance HF antenna tuner and is a modification of the popular AT-200 antenna tuner. The AT-120 is small and light and is suitable not only for operation in your HAM shack but also for mobile field operation.
- The AT-120 consists of an antenna coupler, an SWR meter, and an antenna switch.
- The AT-120 is designed to be used on the Amateur bands between 3.5 MHz and 30 MHz.
- Antenna MATCHING or THROUGH operation is BAND-switch selected.
- The SWR meter operates in both THROUGH and MATCHING modes.
- A mounting bracket is included for mobile operation.
- The panel meter can be illuminated by an external power source.
- The antenna matching circuit is effective in reducing TV I since it acts as a band-pass filter.
AT-120 SPECIFICATIONS
- Antenna Coupler
Frequency range: 5 amateur bands from 3.5 to 29.7 MHz
Input impedance: 50Ω
Output impedance: 20 to 300n, unbalanced.
Through power: 150 W max. (3.5 MHz band, 120 W)
Insertion loss: Less than 0.5 dB at the optimum match. - SVVR Meter
Frequency range: 3.5 to 29.7 MHz
Max. power: 150 W
Measurable range: 1.0:1 to 10:1
Min. power required:2W - General
INPUT Connector:UHF type(50,Ω)
ANT Connector: UHF type(50Ω)
GND: Wing nut and STUD.
Dimensions: 152(6)W x 60(20-3/8)H x 159(6-1/4)D mm.(inch)
Weight: 1.6 kg (3.5 Ibs) approx.
SECTION 1. PREPARATION FOR USE
Accessories:
Carefully unpack your AT-120 Antenna Tuner and verify the following accessories are included.
* Operating manual 1 copy
* Mounting bracket 1 piece
* Mounting hardware
Screw, 4 mm diameter 4 pieces
Flat washer, 4 mm diameter 4 pieces
Lock washer, 4 mm diameter 4 pieces
Nut, 4 mm diameter 4 pieces
Wing Bolt, 4 mm diameter 4 pieces
Polyethylene washer 4 pieces
* 2P power plug 1 piece
* Ground lug 1 piece

Interconnection Cable
To connect your AT-120 with the TS-120S(V), or another transceiver, an interconnection cable is required.
Refer to Figure 1 for details.
Meter illumination power (Figure 2)
Power for the meter lamp is supplied from an external power source. Use the supplied 2P (PIN) plug for a power-supply connection. Observe polarity.
(disregard polarity )
SECTION 2. CONTROLS AND THEIR FUNCTIONS

- Meter
The meter reads SWR (standing-wave ratio and is illuminated (external power required). - CAL (Calibrate)/SWR Switch
To measure SWR, first of this switch to the CAL (
) position. Adjust the CAL control until the meter pointer swings to the CAL line on the meter Wale.
Then depress the switch to the SWR (
) position, and read the SWR. - CAL (Calibrate) Control/Meter Lamp Switch
Before measuring SWR. this control is used to calibrate the meter. Adjust as described above in item 2. The meter lamp lights when the control is pulled on. - BAND Switch
Set this switch to the band in …Mich you are operating. The BAND switch also has a “THROUGH” position at which the antenna is connected directly to the transceiver. SWR can also be measured at the THROUGH position.
CAUTION: DO NOT operate the band switch while transmitting. Equipment damage WILL occur. - R TUNE
The R TUNE adjusts the resistive component of antenna impedance. - X TUNE (Transmit Tuning) Control
The X TUNE adjusts the reactive component of antenna impedance.
- INPUT Connector
The INPUT UHF connector accepts the HF input signal fed from the antenna connector on the transceiver. - ANT Connector
The ANT UHF connector accepts the antenna coaxial cable. - GND post
Connect the GND post to the transceiver GND stud. Use as short a cable as possible, using the supplied ground lug. - 12 VDC
Accepts 12 VDC for meter illumination. Use the supplied Plug. NOTE: Viewed from the rear, the right terminal is POSITIVE. - Serial No. Plate
This plate is stamped with the Serial Number of your unit.
SECTION 3. OPERATION
Measuring antenna system SWR
- Using an all solid-state transceiver (such as a TS-120S or TS-120 V)
Before setting -up the antenna coupler, first determine the antenna system SWR.
a. Set the controls as shown in Figure 5. Set the BAND switch to the “THROUGH” position.
b. In the transmit mode, calibrate the meter with the calibration control.
c. Depress the CAL/SWR switch to the SWR (
) position and read SWR. If the SWR is lower than 1.5:1 the antenna system impedance is sufficiently matched for practical use. If above 1.5:1, tune the system.
NOTE: In the event of too high an SWR (over 10:1), check the antenna system for breaks or a short circuit. - Using a tube power amplifier transceiver (such as a TS-820) Connect the transceiver (or transmitter) and dummy load (or antenna) through the AT-120 as shown in Figure 7. Before setting the antenna coupler, you should first know the antenna system SWR. Connect the dummy load to the ANT connector and adjust the (transceiver or transmitter) final tuning. Then, replace the dummy load with the antenna and measure the antenna-system SWR.
NOTE: During antenna measurements, your transceiver may be operating under heavy loading conditions. Your signal may also interfere with other stations. Complete measurements as quickly as possible.


Adjusting the Antenna Coupler
The antenna coupler is used to match a transmitter to an antenna system when its SWR is too high (i.e., greater than 1.5:1 SWR).
a. Place the BAND switch to the same band, setting as your transceiver (as shown in Figure 8).
b. Set the CAL/SWR switch to the CAL (
) position.
c. Transmit and adjust the CAL control so the meter indicates CAL.
d. Place the CAL/SWR switch in the SWR (
)position.
e. Now you will measure the reflected power. Adjust the R TUNE and X TUNE controls alternately for a good minimum meter indication. Reflected power will be close to zero as a good match is achieved.
Table 1 shows control positions for coupler adjustment.
Table 1.
| BAND (MHz) | R TUNE | X TUNE |
| 3.5 | 4.0 | 5.0 |
| 7 | 4.9 | 5.8 |
| 14 | 7.0 | 7.8 |
| 21 | 8.1 | 8.1 |
| 28 | 8.2 | 8.1 |


AT-120 Mobile Installation (Figure 9.10 )
Securely install the Mobile Mount using four lock washers, four flat washers, and four screws and nuts. Install the AT-120 in the Mobile Mount with four wing bolts and polyethylene washers. Adjust the tilt before tightening the bolts.


SECTION 4. CIRCUIT DESCRIPTION
Figure 11 shows a block diagram of the AT-120.
Directional Coupler
The directional coupler samples forward and reflected power from the transceiver to the load.
Meter Circuit
The forward and reflected power sampled by the directional coupler is used for SWR measurement. Forward power is calibrated with the CAL control so reflected power is read as SWR.
Band Selector Switch
This selects the band to which the matching circuit is tuned. In the “THROUGH” position, the antenna is connected directly to the transceiver, bypassing the coupler, while still allowing SWR measurement.
Antenna Coupler
The universal matching circuit is capable of matching 20 to 300n loads to the 50n input impedance.

SECTION 5. ADDITIONAL INFORMATION
- General Information
Your AT-120 has been factory aligned and tested to specification before shipment. Under normal circumstances, it will operate in accordance with these operating instructions. If your unit fails to work, contact the authorized dealer from which you purchased it for quick, reliable repair. Attempting service without factory authorization can void the unit’s warranty. - Ordering Spare Parts When ordering replacement or spare parts for your equipment, be sure to specify the following: Model and serial number of your transceiver, Schematic number of the part. Printed circuit
board number on which the part is located. Part number and name, if known, and Quantity desired. - Service Should it ever become necessary to return the equipment for repair, pack it in its original box and packing, and include a full, detailed description of the problems involved. Also, include your telephone number. You need not return accessory items unless they are directly related to the service problem.
NOTE: When claiming warranty service, please include a photocopy of the bill of sale or other proof of purchase showing the date of sale.
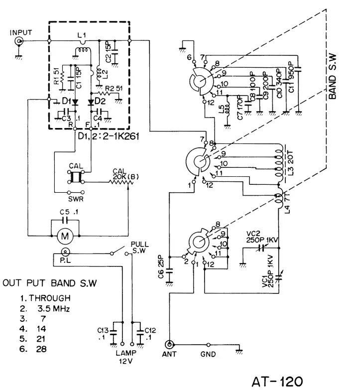
SCHEMATIC DIAGRAM
The circuit elements may be changed without notice owing to technical innovation. 
A product of
TRIO-KENWOOD CORPORATION
6-17. 3 chome. Aobadat, Meguro Ku. Tokyo 153. Japan
TRIO-KENWOOD COMMUNICATIONS, INC.
1111 west Walnut Street Compton California 90220 USA
TRIO-KENWOOD COMMUNICATIONS, GmbH
0 6374 Steinbach TS Industnestrasse 8A West Germany
TRIO-KEN WOOD( AUSTRALIA )PTY. LTD.
30 Whiting Street Artarmon Sydney N S W Australia 2064
©9492 PRINTED IN JAPAN B50-2666-08(K.0)



















