LeuchtenDirekt FELIX60 LED Pendant Lamp

Specifications

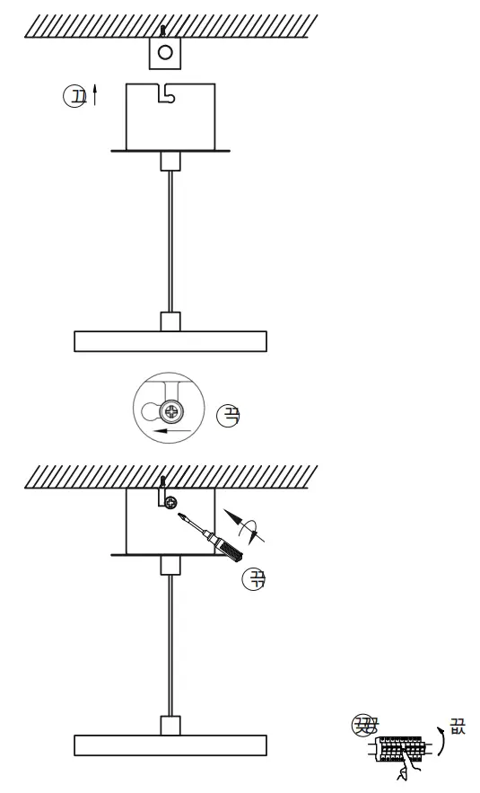
Installation Instructions




LeuchtenDirekt GmbH
Olakenweg 36 · D-59457 Werl
+49(0)2922 9721 9290
[email protected]
www.leuchtendirekt.de

LeuchtenDirekt FELIX60 LED Pendant Lamp






LeuchtenDirekt GmbH
Olakenweg 36 · D-59457 Werl
+49(0)2922 9721 9290
[email protected]
www.leuchtendirekt.de

Download manual
Here you can download full pdf version of manual, it may contain additional safety instructions, warranty information, FCC rules, etc.