

Original Instructions
UV LNB Rain Protection
Article No. 19 81 43
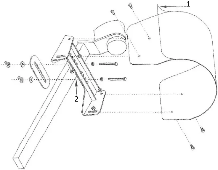
Assembling

- Remove the protective Film before mounting
- Attach the Screws as close to the Arm as possible

Mount the Cover centred over the LNBs

Mount the Cover centred over the LNB

- Distance between the LNB and the top Edge of the Cover should be at least 2 cm!
- Mount the Cover at the same Angle as the LNB
Customer Services
DEUTSCHLAND
Westfalia
Werkzeugstraße 1
D-58093 Hagen
Telefon: (0180) 5 30 31 32
Telefax: (0180) 5 30 31 30
Internet: www.westfalia.de
SCHWEIZ
Westfalia
Wydenhof 3a
CH-3422 Kirchberg (BE)
Telefon: (034) 4 13 80 00
Telefax: (034) 4 13 80 01
Internet: www.westfalia-versand.ch
ÖSTERREICH
Westfalia
Moosham 31
A-4943 Geinberg OÖ
Telefon: (07723) 4 27 59 54
Telefax: (07723) 4 27 59 23
Internet: www.westfalia-versand.at
DISPOSAL
Dear Customer,
Please help avoid waste materials.
If you at some point intend to dispose of this article, then please keep in mind that many of its components consist of valuable materials, which can be recycled.
Please do not discharge it in the rubbish bin, but check with your local council for recycling facilities in your area.
Gestaltung urheberrechtlich geschützt © Westfalia 11/21
















