D1SAXorgv6L Bottom Loading Water
Dispenser Express Cooling Water Cooler
User Manual
D1SAXorgv6L Bottom Loading Water Dispenser Express Cooling Water Cooler
Deluxe Bottom-Loading Water Dispenser with Self-Cleaning
Rated Power: 520W
Voltage: 115V
Frequency: 60Hz
Version A-0 12-2021
Free 3 months extension of the original limited warranty period!
* Simply text a picture of your proof of purchase to: 1-866-646-4332
*The warranty extension is for the three months immediately following the completion of the product’s original warranty period.
Model Numbers CWB412ASB
WARNING
ELECTRICAL REQUIREMENTS
A 115 V, 60 Hz, AC only, 15 A or 20 A fused, grounded electrical supply is required. It is recommended that a separate circuit serving only your water dispenser be provided. Use an outlet that cannot be turned off by a switch. Do not use an extension cord.
SAFETY INFORMATION
FAILURE TO FOLLOW THESE INSTRUCTIONS CAN RESULT IN DEATH, FIRE OR ELECTRICAL SHOCK.
WARNING To reduce the risk of injury and property damage, user must read this entire guide before assembling, installing and operating water dispenser.
WARNING Failure to execute the instructions in this manual can cause personal injury or property damage.
WARNING This product dispenses hot water above 176°F, failure to use properly can cause personal injury. Never allow children to dispense hot water without proper adult supervision.
WARNING This water dispenser is equipped with a power cord having a grounded wire and must be connected into a properly grounded polarized outlet. Consult a qualified electrician if the grounding instructions are not completely understood.
WARNING If the wall outlet is a standard 2-prong outlet, it is your personal responsibility and obligation to to have it replaced with a properly grounded 3-prong wall outlet. DO NOT cut or remove the third (ground) prong from the water dispenser power cord.
WARNING DO NOT use adapter plugs or an extension cord with your water dispenser.
WARNING DO NOT use dispenser if power cord becomes frayed or otherwise damaged.
WARNING This appliance must be grounded, in the event of an electrical short circuit, grounding reduces the risk of electrical shock.
WARNING When operating this dispenser, always exercise basic safety precautions, including the following:
- Prior to use, this dispenser must be properly assembled and installed in accordance with this manual.
- This dispenser is intended for water dispensing only;
DO NOT dispense or use other chemicals or liquids from the dispenser;
DO NOT use for any other purposes other than dispensing purified water;
DO NOT use any other liquid in the dispenser other than known and microbiologically safe bottle water;
DO NOT use tap water to refill your water bottle. - For indoor use only, keep the water dispenser in a dry place away from direct sunlight. DO NOT user water dispenser outdoors.
- Install and use water dispenser on hard, flat and level surface and install the safety brackets according to the Water Dispenser Installation procedure.
- DO NOT place water dispenser inside an enclosed space or cabinet.
- DO NOT operate water dispenser in the presence of explosive fumes.
- Water dispenser must be position no closer than 8″ (20 cm) from wall to permit free airflow between wall and back of dispenser. There must be at least 8″ (20 cm) clearance on the sides of the water dispenser to permit airflow.
- Always grasp the power cord plug and pull straight out from the wall outlet, never unplug by pulling on the power cord.
WARNING When operating this dispenser, always exercise basic safety precautions, including the following:
- This appliance can be used by children 8-years and above if properly supervised by an adult or given supervision or instruction concerning use of the appliance in a safe way and if they understand the hazards involved.
- Cleaning and user maintenance shall not be made by children unless they are older than 8 and supervised by an adult. Keep the appliance and its cord out of reach of children less than 8-years old.
- Appliances can be used by persons with reduced physical, sensory, or mental capabilities or lack of experience and knowledge if they have been give supervision or instruction concerning use of the appliance in a safe way and understand the hazards involved. Children shall not play with the appliance.
- For household use only. This appliance is intended to be used in a household and similar applications.
- Do not store explosive substances such as aerosol cans with a flammable propellant in this appliance.
- If the supply cord is damaged, it must be replaced by an original manufacture part. Please contact customer service.
- Never turn the machine upside down or lean it more than 45 degrees.
- The thermostat has been factory adjusted for optimum performance. No need to adjust it by yourself. When the machine is below the freezing point, ice will form inside the cold tank and potentially block water flow. If this happens, turn Off the cooling switch for 4-hours to melt the ice block. Once melted, water should start to flow from faucets.
- The machine should not be turned On until 3-minutes after turning off the power switch.
WARNING
To prevent the water dispenser from tipping, please install the enclosed safety bracket.
- Loosen the screw of the left or right bottom angle just as the picture shown.
- Use the screw to fix the bracket on the left or right bottom angle of the water dispenser.
- Make a hole on the floor’s or the desk’s surface where the water dispenser will be installed.
- Fix the bracket on the floor by screw tightly.
- Tighten the screw.


INSTALLATION AND SAFETY PRECAUTIONS
LOCATE DISPENSER
NOTE: If the unit has been on its side for a long period of time, place the water dispenser in the upright position for more than 24-hours before turning it on.
- Place dispenser upright.
- Locate dispenser on a hard and level surface and in a cool shaded location, near a grounded outlet.
- Position the water dispenser so the back and sides are 8″ (20 cm) clearance on all sides.
- Plug in power cord.
- Turn on Cooling and Heating switches
ASSEMBLE DRIP TRAY
- Assemble the drip tray cover to the drip tray.
- Install drip tray and cover onto the lower front door by sliding in until you hear a click.
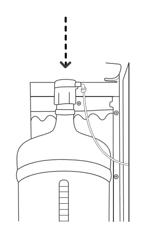
INSTALL WATER BOTTLE
- Open lower cabinet door. Inside the cabinet, remove the water bottle straw and place water bottle straw on front door hanger.
- Place new water bottle outside of the cabinet. Remove the entire plastic cap from the water bottle.
- Clean the outside of the water bottle with a clean cloth.
- Insert the water bottle straw into the water bottle.
- Slide the collar down until it locks into place.
- Press head down until the tube hits the bottom of the bottle.
- Slide the water bottle into the cabinet and close the door.
![]() | ![]() |
PLUG INTO A GROUNDED ELECTRICAL OUTLET
- Plug power cord into a properly grounded wall outlet. At this time, you will hear the water pump turn on and start filling the water reservoirs with water. It will take approximately 4 to 5 minutes to fill the water reservoirs for the first time. During this period, the water pump will run continuously, this is normal.
ACTIVATE HEATING AND COOLING SWITCHES
NOTE: The water cooler will not dispense hot or cold water until the switches are turn ON. To activate the cooling and heating system, turn On the two switches on the back of the water dispenser. See illustration. Once the switches are activated, both the cooling and heating lights should turn On.
- If you do not want to cool water, keep the switch in the Off position.
- If you do not want to heat water, keep the switch in the Off position.
ACTIVATE NIGHTLIGHT
Push top side of blue power switch in to turn light on. Push bottom side in to turn light off.
PART NAME

| Part | Description | Part | Description |
| 1 | Top Cover | 10 | Drip Tray |
| 2 | Hot Water Dispense Button | 11 | Hot Water On/Off Switch |
| 3 | Room Temp. Dispense Button | 12 | Cold Water On/Off Switch |
| 4 | Cold Water Dispense Button | 13 | Nightlight On/Off Switch |
| 5 | Cooling ON Indicator Light | 14 | Power Supply Cord |
| 6 | Heating ON Indicator Light | 15 | Drain Outlet |
| 7 | Self-Cleaning Indicator Light | 16 | Condenser |
| 8 | Empty Bottle Indicator Light | 17 | Self-Cleaning On/Off Switch |
| 9 | Water Outlet Spout |
NOTE:
This machine is suitable for 3 or 5 gallon water bottles.
Do not use tap water to refill a 3 or 5 gallon water bottle.
DISPENSING WATER
This unit has been tested and sanitized prior to packing and shipping. During transit dust and odors can accumulate in the tank and lines. Dispense and dispose at least one quart of water prior to drinking any water.
Dispensing Cold Water
• After set-up, it will take 1-hour to get water to the maximum cold water temperature. During this time the compressor will run continuously, this is normal.
- Place bottle, glass, pitcher or cooking pot below water outlet spout.
- Press cold water dispense button to dispense cold water(Dark Blue Button).
- Release button to stop dispensing water.
Dispensing Room Temperature Water
- Place bottle, glass, pitcher or cooking pot below water outlet spout.
- Press room temperature dispense button to dispense room temperature water.(Light Blue Button)
- Release button to stop dispensing water.
Red – Hot Water Button
Light Blue – Room Temp
Button Dark Blue – Cold Water Button
Dispensing Hot Water
WARNING
Hot Water will be extremely hot and produce severe scalding, never let children dispense water without direct adult supervision.
• After set-up, it will take 15 to 20 minutes to get water to maximum hot temperature. During this time the compressor will run continuously, this is normal.
- Place bottle, glass, pitcher or cooking pot below water outlet spout.
- Slide the red toggle to the left and depress the button to dispense hot water.
- Release button to stop dispensing water.

Empty Water Bottle Indicator Flashing
WARNING Do not dispense water if the empty water bottle indicator is flashing, doing so may cause the hot water to overheat and cause damage to the hot water heater.
• The Hot and Cold water indicator lights will flash together when the water bottle is empty.
Replace the empty water bottle as soon as possible.
How To Replace Empty Water Bottle
- Open the cabinet door.
- Place the probe assembly on the probe hanger
- Place a fresh bottle outside of cabinet.
- Remove the entire plastic cap from the top of bottle.
- Clean the outside of the new bottle with a cloth.
- Place the probe into the bottle.

- Slide the collar down until it clicks into place. If you are using a 3 gallon bottle rather than a 5 gallon bottle you can adjust probe by pressing the two tabs at the head of the probe and sliding the collar down to the neck of the bottle.

- Push the head down until the tube hits the botton of bottle.

- Slide the bottle into cabinet and close the door.

Use the Self-Cleaning Ozone Feature
It is highly recommended that you use self-cleaning feature on weekly basis to clean tanks and water lines.
To activate the self-cleaning cycle, press in the self-cleaning switch(15), hold for 5 seconds, and release.
The power indicator light on the front of the dispenser will begin blinking, indicating the cleaning process is underway.
During the cleaning cycle, ozone is produced and injected into the water system. This ozone helps to kill bacteria and biofilms typically found in water dispensers. By the time the cleaning cycle ends, the ozone is converted to harmless oxygen and emitted into the air.
IMPORTANT: The cycle takes 90 minutes to complete. During this time do not dispense and drink the water. Doing so may result in an odd taste. For your convenience, we recommend that you do this during a period when the dispenser is not in use, sush as overnight hours or when staff is away from the office. During the cycle you may smell a faint trace of ozone.
DEEP CLEANING
WARNING To avoid electrical shock, unplug the water dispenser before performing the cleaning operation.
WARNING This cleaning procedure should be performed by an adult.
WARNING The hot water is extremely hot and can cause severe burns, please allow the water dispenser to cool off before performing the cleaning operation.
- The water dispenser was disinfected before shipping from the factory. However, prior to use, please clean the external cabinet and dispenser at least 0.5 gallon(2 liters) of water prior to use.
- Perform this cleaning operation every 3 to 6 months.
Rinsing, Cleaning, and Draining
To prolong the lifetime of the machine, it is recommended that the unit be cleaned and sanitized manually about every six months.
To clean the outside of the unit.
Use a disinfectant of your choice to wipe down the outside of the machine. Disinfectant does not come with this unit. It can be purchased separately from a local store.
To rinse the inside of the unit.
The machine has been disinfected prior to departing from the factory. Howev-er, it is recommended to rinse and drain the unit prior to installation.
Remove the white cold water tank cover and the separator.
- Before cleaning, make sure that the cooling switch and heating switch are in the off (O) position and unplug the machine.
- Remove the two screws located on the back (at the top, in line with the switches) of the cooler. Remove the top cover by lifting at an angle and pull off.

- Pour 0.6 gallons of clean water into the cold tank. (The cold water tank is the open cylinder that the white cover was removed from).
- Place a large bucket beneath the drain outlet located on the back of the unit. Remove the drain cover and allow the water to drain from the unit. Water will start flowing as soon as the drain cover is removed.

WARNING The dispenser will heat water to a temperature of approximately 194°F. It can cause severe burns if not handled carefully. Please use caution while operating and cleaning. Please allow ample time for any hot water inside the machine to cool down before draining it. - Once water is completely drained, reposition the drain cover, cold tank cover and the top cover. Ensure that the pipes and wires are connected properly and you may use the dispenser as normal.

Cleaning:
To remove mineral deposits from the water system, mix 1-gallon of water with 200 grams of citric acid crystals (not included) or a citric acid cleaning solution of your choice.
- Unscrew the top cover and lift off the cold tank lid.
- Place a large bucket beneath the drain outlet located on the back of the unit. Remove the drain cover and allow the water to drain from the unit. Water will start flowing as soon as the drain cover is removed.

WARNING The dispenser will heat water to a temperature of approximately 194°F. It can cause severe burns if not handled carefully. Please use caution while operating and cleaning. Please allow ample time for any hot water inside the machine to cool down before draining it. - Once water is completely drained, reposition the drain cover so water does not drain into bucket.
- Put the mixture into the machine’s cold tank.
- Plug in the power cord and turn on (I) the heating switch . Allow the water to heat for 15 minutes.
- Turn off the heating switch and allow the liquid mixture to cool down for 20 minutes.
- Drain the liquid from the drain outlet. Flush water system with fresh water two or three times by following the rinsing instructions above. Only disassemble parts mentioned to avoid damaging the machine.

TROUBLE SHOOTING
| Problem | Possible Cause | Suggested Solution |
| Water dispenser is leaking | Drain outlet is not secure. | Tighten drain cap |
| Internal water leak. | Unplug and replace unit | |
| Water dispenser is not dispensing water | Empty water bottle. | Replace empty water bottle |
| Child safety lock (hot water) is not activated | Activate the child safety lock by sliding the red lock button to the side while pressing the hot water button at the same time. | |
| Thermostat is set too cold. | Turn off cooling system for 4-hours and retest faucets for water flow. | |
| Water is not cold or hot enough | The unit is unplugged | Plug into electrical outlet |
| Cold or hot water On/Off switches, located in the back of the unit are in the Off position | Activate power switches to the ON position | |
| All the water in the tanks has been used | Replace with full water bottle and wait for the water to heat or cool. | |
| The circuit breaker in your home has tripped or the fuse has blown | Unplug water cooler and reset the breaker or replace the fuse. | |
| Lower door is not closed shut | Make sure the lower door is properly closed. | |
| Water Dispenser is noisy | Water dispenser placed on uneven floor | Make sure the dispenser is on an even floor surface. |
| Water pump makes a noise when running | This is a normal noise. |
TECHNICAL PARAMETERS
| I MODEL | CWB412ASB |
| Hot Water Capacity | 1 gallon/hr |
| Hot Tank Volume Cold | 1/3 gallon |
| Water Capacity Cold | 2/3 gallon/hr |
| Tank Volume | 1 gallon |
| Package Dimensions | 15.2″ x 14″ x 43.9″ inch |
| Refrigerant | R134a/36g(1.27oz) |
| High Side | 1.6MPa(232psig) |
| Low Side | 0.62MPa(90psig) |
| Voltage / Frequency / Current | 115V / 60Hz / 6A |
| Cooling Method | Compressor |
| Heating Method | Internal Element |
| Rated Power | 520W |
| Heating Power | 420W |
1 YEAR LIMITED WARRANTY
This is the only express warranty for this product and is in lieu of any other warranty or condition.
This product is warranted to be free from defects in material and workmanship for a period of one (1) year from the date of original purchase. During this period, your exclusive remedy is repair of replacement of this product or any component found to be defective, at our opiton; however, you are responsible for all costs associated with returning the prouduct to us and our returning the product or component under this warranty to you. If the product or component is no longer available, we will replace with a similar one of equal or greater value.
This warranty does not cover wear from normal use or operation that does not comply with the instruction manual of damages to the product resulting from accident, alteration, abuse, or misuse. This warranty extends only to the original consumer purchaser or gift recipient. Keep the original sales receipt, as proof of purchase is required to make a warranty claim. This warranty is void if product is used for other than single-family household use or subjected to any voltage and waveform other than as specified on the label.
We exclude all claims for special, incidental, and consequential damages by breach of express or implied warranty. All liability is limited to amount of the purchase price. Every implied warranty, including any statutory warranty or condition of merchantability or fitness for particlular purpose, is desclaimed except to the extent prohibited by law, in which case such warranty or condition is limited to the duration of this written warranty.
This warranty gives you specific legal rights, You may have other legal rights that vary depending on where you live. Some states or provinces do not allow limitations on implied warranties or special, incidental consequential damages, so the foregoing limitations may not apply to you.
Customer Service Phone: 1-866-646-4332





























