fothermo CPVB-10 Caravan Water Heate
Specifications
Assembly
The caravan boiler must be mounted on a solid base plate with four screws. Use suitable screws or other mounting systems for your bas plate. Optionally, the boiler can also be mounted vertically on a stable wall.
Advantages of vertical installation
- Relatively low heat losses
- 8 litres of hot water
Advantages of horizontal installation
- Slightly more heat loss
- 9.5 litres of hot water
How was it measured?
The boiler was heated up to 65 °C. It was drained at about 5 litres per minute. From a water temperature at the shower head of 35 °C until the water was 35 °C again, the volume was measured.
Water connection
For safety reasons, the non-return/overpressure valve supplied must be connected to the cold water inlet of the boiler. The supplied drain plug must be connected to enable draining. This can be done using the T-piece provided, as shown in Figure 1. We recommend integrating the caravan boiler into a water system 
- Valve + T-piece to be able to drain the boiler
- Non-return / pressure relief valve
- Water tank e.g. 40 litres
- 12 V pump (lying in the water if necessary). Recommended pressure min. 0,75 bar
- Dusche / Waschbecken
Drainage
The water in the boiler must not freeze. Frozen water in the boiler can cause damage or a defect in the appliance. If necessary, the contents of the boiler can be drained via the non-return/overpressure valve and the drain plug. Proceed as follows:
- Ensure that any water that leaks from the non-return/overpressure valve and the drain plug can drain away safely. This is important t prevent possible water damage.
- Disconnect the water heater from any live electrical wiring.
- Shut off the cold water supply.
- Open the drain plug using the vent key provided.
- Tilt the small lever of the check/relief valve 90 °.
- The water should now drain away. Drainage is complete when no more water comes out of the valves.
- Small amounts of water remain in the boiler even after emptying. This is fine and does not cause any damage.
Current source
Usable Energy Sources
| Usable Energy Sources | ||
| Source | Voltage | Type |
| PV module | 0 VOC – 42.4 VOC | – |
| Battery | 12 V, 24 V | Lead acid, LiFePO4 |
| External energy management | 12 V – 42.4 V | – |

Heating times depending on the input power and source
| Source | Power | Temperature increase / hour |
| 100 W | 9 °C / h | |
| PV module | 300 W | 27 °C / h |
| 550 W | 47 °C / h | |
| Battery | 12 V (ca. 90 W)
24 V (ca. 350 W) | max. ~8 °C / h
max. ~32 °C / h |
Settings – User interface
- Briefly pressing the
button takes you to the next option page (see figure 1).A long press turns the boiler on or off.
- To change possible settings on an options page, such as the minimum temperature or the operating mode, briefly press the
button 
Option pages at a glance
Select operating mode
Further information
General Warnings
Be sure to carefully read the instructions and warnings in this manual before installing and operating the water heater. The information contained in this manual is intended to familiarize you with the water heater, the rules of its correct and safe operation, and the minimum requirements for its maintenance and servicing. Furthermore, you are obliged to make this manual available to the qualified personnel who will install and potentially repair the appliance. The installation of the water heater and the verification of its functionality is not within the distributor’s warranty obligation nor the manufacturer. These instructions should always be kept near the appliance for future reference. Compliance with the rules here described is part of the measures for the safe use of the product and is considered part of the warranty conditions.
Safety Instructions
- There is a risk of burns or scalding when using the appliance
- This device can be used by children from the age of eight and also by people with a lack of experience and knowledge or reduced physical, sensory or mental abilities if they are supervised or have been instructed in the safe use of the device and understand the resulting dangers. Children must not play with the device. Cleaning and user maintenance shall not be made by children without supervision. Only qualified personnel may install the water heater and connect it to the water pipe following the specifications given in this manual and the relevant local regulations. The protective devices provided or recommended by the manufacturer, as well as all other assemblies, are UNCONDITIONALLY to be installed
- Be sure to fill the water heater with water before connecting it to the electrical supply! Failure to comply with the electrical connection conditions affects the safety of the appliance, whereby the water heater must not be operated.
- Observe the maximum permissible pressure (see chapter: Technical data).
Further important notes
- The device is under pressure. Expansion water may drip out of the pressure relief valve during heating.
- Operate the pressure relief valve regularly to prevent it from getting stuck, e.g. B. to prevent limescale deposits.
- Install a type-tested pressure relief valve in the cold water supply line. Note that depending on the pressure of the supply line, a pressure reducer may also be required.
- Attach a drain line to the opening of the relief valve, with an even slope to the drain.
- Dimension the drain line so that the water can drain unhindered when the overpressure valve is fully open.
- The opening of the pressure relief valve must not be blocked.
- This device contains rechargeable batteries which are not replaceable. However, their defect does not limit the basic functionality.
- The device may be operated up to an altitude of 4000 m above sea level.
- The device owner is responsible for preventing possible damage due to lightning strikes and for proper installation of the PV modules wit lightning protection.
Technical data
This water heater can provide hot water from the mains water supply or other pressure-operated water supply for several consumers at the same time. The water used for heating must meet the requirements of the normative documents for service water, in particular: chloride content up to 250 mg/l; electrical conductivity more than 100 μS/cm, pH value 6.5 – 8 for hot water tanks with enameled water tank. The thermal insulation consists of CFC-free polyurethane foam. The maximum electrical output of the hot water storage tank is 550 W. The actual output of the heating elements depends on both the connected photovoltaic output and the intensity of the sun’s radiation. The water is heated to a maximum of 65 °C to ensure protection against scalding. Detailed information can be found on the datasheet or the nameplate. The hot water storage tanks are equipped with a combined non-return and pressure relief valve, which prevents the water from being over-pressurized while the device is in operation. The water tanks are made of steel with a high-strength enamel coating and additional cathodic protection with a magnesium anode.
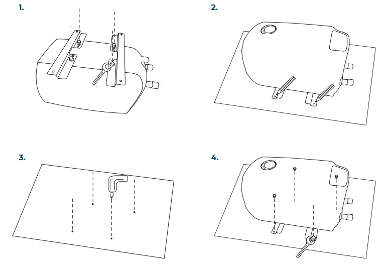
Assembly
Always install the water heater lying down, in a dry environment. The device is intended for fixed floor assembly as well as for the wall. Make sure that the assembly surface is sufficiently stable to withstand forces that act on the boiler or its mounting system when driving. When choosing a suitable substrate for the hot water storage tank, the following must be taken into account:
- Type and material
- Dimensions of the device,
- Type of fastening
- Location of fasteners for floor mounting
- • Arrangement of water and electricity lines
• Degree of protection against water splashes
The installation site must comply with the requirements of the water and electrical installation. Sufficient space for the water connections must be provided during installation. The boiler is bolted to the floor or the wall using the attached mounting rails. Four screws are used for this. The type, length and diameter of the screws must be selected according to the nature of the floor. Only with the right screws is it possible to safely install the boiler.
Connection to the water supply
When connecting the device to the water pipe, please note the arrows and the information rings around the cold and hot water pipes (supply and return pipe). The cold water pipe has a blue ring and is marked with an arrow pointing to the pipe. An arrow away from the pipe and a red ring indicate the hot water pipe. The hot water tank is equipped with a combined non-return and pressure relief valve. This is included in the product packaging and MUST be installed on the cold water line. During this installation, the arrow on the body of the valve indicating the direction of water flow through the valve must be followed. The pipe connections have G½ external threads. Schematic representations regarding the connection of the hot water tank are shown in Figures 1 and 2. The hot water tank works with the pressure of the water pipe. The water pressure in the water supply system should be higher than 0.1 MPa (1 bar) and lower than 0.5 MPa (5 bar). If the water pipe pressure is higher than 0.5 MPa, a pressure-reducing valve must be installed. If additional accessories that are not included in the scope of delivery must be used in accordance with local regulations, these must be installed in accordance with the specifications. In case the water supply pipes are made of copper or other metal, which is different from the metal of the water tank, as well as when brass fasteners are used, non-metal fittings should be mounted on the inlet and return sides of the water heater (dielectric fittings ). WARNING! It is forbidden to install any shut-off or non-return fittings between the combined valve and the hot water tank, as well as blocking the side opening of the combined valve and/or locking its lever! A drainage system to evacuate the contents of the boiler or possible dripping water from the side opening of the combined valve must be provided. The drain line must be designed with a constant gradient. It must always remain open. After the hot water tank has been connected to the water pipe, the water tank must be filled with water. The order of the steps to be performed is:
- Fully open the hot water tap at the furthest point of use.
- Wait until the air has escaped from the system and a strong jet of water flows out of the tapping point. Run water for about 30 seconds.
- Close the hot water tap at the extraction point.
- Lift the small pressure relief valve lever (Table 1, item 5) for 10 seconds. A strong jet of water must flow out of the lateral opening of the valve.
- Release valve lifting.
WARNING!
- If no water flows out of the valve opening or only a thin stream flows, then this indicates a malfunction. There may be contamination in the water line. The error must be rectified before commissioning
- The combined non-return and pressure relief valve is one of the protective devices that ensure the safety of the hot water tank. It is strictly FORBIDDEN to use the water heater with a damaged or removed/not installed combined non-return and pressure relief valve (safety valve)
- In Denmark, Sweden, Norway and Finland, the hot water tank may only be connected to the public water network using a suitable pressure-reducing valve. Local regulations must be observed.
Electrical Connection
WARNING! Any electrical connection may only be performed when the water heater is filled with water. IMPORTANT! The water heater is powered by direct current. The water heater is protected against electric shock “class ІII” and may only be supplied with safety extra-low voltage (SELV). Only power sources recommended by the manufacturer may be connected. A faulty and/or unsuitable power supply involves a high risk and is likely to cause an accident. The connection cables of the device must be replaced if they are damaged. IMPORTANT! Photovoltaic modules may ONLY be connected in parallel. When connecting more than one photovoltaic module, always use a suitable connector for parallel connection. For more information, refer to the illustration “Parallel PVConnector”. Connecting photovoltaic modules in series will damage the water heater
The electrical connection to the hot water boiler is made via the connection cable. After completing the electrical connection, be sure to check the functionality of the device. The wires of the connection cable are numbered and should be connected to the power source as follows:
- Wire numbered “1” to the positive pole of the source
- Wire numbered “2” to the negative pole of the source
Connection of the PV modules
IMPORTANT! The installation and electrical parallel connection of PV modules may only be carried out by a qualified person and may not endanger third parties. When installing the photovoltaic modules, the locally prevailing rules and laws must be complied with. IMPORTANT! Always lay cables in such a way that nobody can trip over them or get caught on them. There is a risk of injury. The cables must be fixed in such a way that there is no strain on the connectors. Furthermore, it must be ruled out that the cables and connectors rub against surfaces and edges (e.g. in the wind) or are permanently in the water. IMPORTANT! All photovoltaic modules may be operated with a maximum open circuit voltage (VOC) of Photovoltaic modules must be properly connected to the connection cable. Dimensioning of the required photovoltaic power:
- The higher the expected number of hours of sunshine per day of use, the lower the required PV power.
- The warmer the water supplied from the pipe, the smaller the required PV power.
- The higher the amount of hot water required per day, the greater the required PV power.
- The following table serves as a guideline for dimensioning the photovoltaic power needed depending on the climatic conditions
Climatic conditions
| Climatic conditions | CPVB-10 |
| Sun-poor countries e.g. Northern and Central Europe | 300 Wᵖ |
| Sunny countries e.g. Southern Europe and Africa | 150 Wᵖ |
Extension of the photovoltaic line
If the photovoltaic cable is extended, the MC4 contact plugs must be properly fastened to ensure functionality and safety. Basically, the PV cable should be kept as short as possible. A length recommendation depending on the connected PV generator nominal power can be found in the table below.
Recommendation of the cable dimensioning
| cross- section | 2,5 mm² | 4 mm² | 6 mm² |
| Length (back and forth) | ≤ 6 m | ≤ 10 m | > 10 m |
OTHER IMPORTANT NOTES
Water leakage: The non-return and pressure relief valve can drip during normal operation of the water heater due to the expansion of water during heating. Make sure that escaping water can always drain away. The dripping of water is not a defect. The lateral valve opening must not be closed in any way.
Noise development: Noise may develop inside the device while water is being heated. This is due to calcareous deposits on the heating element. Increased limescale formation can be seen from water temperatures of over 60 °C. This can lead to impairment and damage to the heating element and the hot water tank.
Legionella formation: Due to the small volume of the hot water storage tank, the risk of legionella formation in the system can be almost completely ruled out. In order to take precautionary measures, however, the following measures are recommended:
- Supply of fresh water or regular water withdrawal.
- The water is heated at regular intervals to at least 60 °C.
- If the device has not been used for more than a month, a water change is recommended.
Maintenance
Corrosion protection
Additional corrosion protection is built into every water heater with an enameled water tank. This corrosion protection consists of a magnesium anode (sacrificial anode). The anode is a consumable item (i.e. wear and tear during normal device operation). The average lifespan is 3 years. This lifetime depends in particular on the operating mode of the device and on the properties of the warming water. At regular intervals, a specialist from the after-sales service authorized by the manufacturer or seller should check the condition of the anode and replace it if necessary. Compliance with the deadline and timely replacement of the anode are important conditions for efficient anti-corrosion protection of the water tank. The inspection and renewal of the anode are not part of the warranty obligations of the manufacturer and dealer. Regular cleaning of the water tank from accumulated limestone is recommended for safe operation. This cleaning should be done at least once every two years. When operating with calcareous water more often. The deposits on the enamel coating must not be scraped off, just wiped with a dry cotton cloth. Regular cleaning and removal of limescale is particularly important for the safe operation of the device. It is advisable to check the anode of the enameled water tank at the same time. These services are not part of the warranty and must be carried out by competent persons. The regulations for checking the anode protection and replacing the anode and removing the collected scale must be observed both during and after the warranty period of the device.
Pressure relief valve
To ensure trouble-free and safe operation of the hot water storage tank, the combined valve must be checked regularly for any reduced permeability. To do this, lift the small lever until a strong jet of water comes out of the side valve opening and wait about 30 seconds. This check must be carried out after the water tank has been filled with water, at 2-week intervals and after a failure and restoration of the water supply. If no water flows out of the valve opening or only a thin stream flows, then this indicates a malfunction. There may be contamination in the water line. The error must be rectified before commissioning.
Cleaning
The outer shell and the plastic parts of the hot water tank can only be cleaned with a slightly damp cotton cloth, without aggressive and/or scouring agents. It is forbidden to clean the device with a steam device. The hot water storage tank can only be put back into operation after the moisture has been completely removed.
Malfunction
If a fault occurs while using the hot water tank please disconnect all live lines from the device and contact the manufacturer or your dealer.
Environmental Protection
This device is marked according to the Waste Electrical and Electronic Equipment (WEEE) Directive. By ensuring that the device is taken to an appropriate disposal center at the end of its life, you are helping to protect the environment and prevent negative effects on the environment and human health. The – symbol on the hot water tank indicates that the device must not be disposed of with normal household waste at the end of its service life. It must be taken to a disposal center with special facilities for electrical or electronic equipment. The end user must observe the local disposal regulations for disposal. For more information about treatment, recovery and the recycling process, please contact your city office, your local waste disposal center or the retailer where you purchased the product. Weitere
Warranty
The warranty for the device is only valid under the following conditions:
- The device is installed in accordance with the installation and operating instructions.
- The device is only used for its intended purpose and in accordance with the installation and operating instructions.
The warranty includes the elimination of all manufacturing defects that may occur during the warranty period. Only professionals authorized by the seller may carry out the repairs. The warranty does not cover damage from:
- Improper transport
- Improper storage
- Improper use
- Unsuitable water parameters
- Improper electrical voltage which deviates from the rated voltage
- Freezing of water
- Exceptional risks, accidents, or other forces majeure
- Non-observance of the assembly and operating instructions and
- In all cases when an unauthorized person attempts to repair the appliance.
In the aforementioned cases, the damage will be repaired against payment. The warranty of the device does not apply to parts and components of the device that are worn out during its normal use, nor to parts that are dismantled during normal use, to lights and signal lamps etc., to discoloration of external surfaces, to changes in the Shape, dimensions and arrangement of parts and components that have been subjected to an impact inconsistent with the normal conditions of use of the device. Loss of performance, material and immaterial damage resulting from the temporary unusability of the device during repair and maintenance work are not covered by the warranty of the device. COMPLIANCE WITH THE REQUIREMENTS SPECIFIED IN THE MANUAL ARE REQUIRED FOR THE SAFE OPERATION OF THE PURCHASED PRODUCT AND ARE PART OF THE TERMS OF THE WARRANTY. ANY CHANGES OR MODIFICATIONS TO THE CONSTRUCTION OF THE PRODUCT BY THE OWNER OR ITS AUTHORIZED REPRESENTATIVES ARE STRICTLY PROHIBITED. IF SUCH ACTION OR ATTEMPT IS DETECTED, THE WARRANTY OBLIGATIONS OF THE MANUFACTURER OR DEALER WILL BE VOID. THE MANUFACTURER RESERVES THE RIGHT TO MAKE STRUCTURAL CHANGES WITHOUT NOTICE, PROVIDED THAT THE SAFETY OF THE PRODUCT IS NOT COMPROMISED.






















