BWR5211 050001 Workshop Folding Seat with Tool Storage
User Manual
BWR5211 050001
www.Nikolaoutools.gr![]()
WARNING! Read carefully and understand all ASSEMBLY AND OPERATION INSTRUCTIONS before operating. Failure to follow the safety rules and other basic safety precautions may result in serious personal injury.
INSPECTION
Inspect the product carefully before each use. Ensure the product is not damaged, excessively worn, or missing parts.
Do not use the product unless it is properly lubricated.
Using a product that is not in good clean working condition or properly lubricated may cause serious injury.
Inspect the work area before each use. Make sure it is free and clear of any potential hazards.
SAFETY
BEFORE PERFORMING ANY WORK ON A VEHICLE OR USING THIS PRODUCT:
Always use Jack Stands! DO NOT USE wood blocks or any other non-approved load sustaining devices.
DO NOT USE wood blocks or any other non-approved lifting devices for a means of lifting with a jack and or load being raised. Failure to head these warnings may cause injury or death.
- Read, study and follow all instructions before assembling or operating this device.
- The owner and/or operator shall be aware that the use of this product may require special skills and knowledge.
- DO NOT EXCEED MAXIMUM CAPACITY OF 2501bs (113.4 kgs).
- DO NOT stand on the seat.
- This seat is designed for use on hard, level surfaces capable of sustaining the load.
- Alterations shall not be made to this product because of the dangers associated to the misuse of this product.
- If seat is not operating properly, or parts are loose, missing, or broken, stop use of seat immediately.
- Seat’s fabric is flammable. Take care when used near open flame, lit cigarettes, cigars, etc.
- Failure to heed these warnings may result in personal injury and/or property damage.
- Inspect before each use.
- If you suspect that the product was subjected to a shock load (a load suddenly dropped unexpectedly upon it), immediately discontinue use until product has been checked by a factory authorized service center (contact distributor or manufacturer for list of Authorized Service Centers).
- 1t is recommended that an annual inspection be done by qualified personnel.
ASSEMBLY INSTRUCTIONS
Safe Operating Temperature is between 40°F — 105°F (4°C – 41°C)
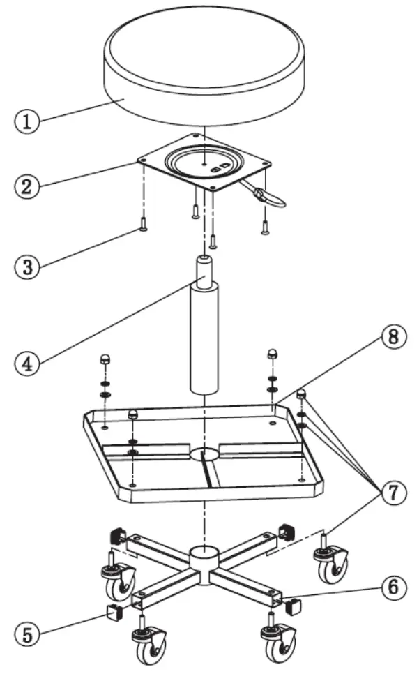
| ITEM | DESCRIPTION | QUANTITY |
| 1 | Seat Assembly | 1 |
| 2 | Seat Base with Lever | 1 |
| 3 | Counter-Sunk Phillips Machine ScrewM6x20mm | 4 |
| 4 | Pneumatic Cylinder | 1 |
| 5 | Plastic End Cap | 4 |
| 6 | Metal Frame Base | 1 |
| 7 | Caster Assembly | 4 |
| 8 | Plastic Tool Tray | 1 |
- The manufacturer reserves the right to make minor changes to product design and technical specifications without prior notice unless these changes significantly affect the performance and safety of the prod-ucts. The parts described / illustrated in the pages of the manual that you hold in your hands may also concern other models of the manufacturer’s product line with similar features and may not be included in the product you just acquired.
- To ensure the safety and reliability of the product and the warranty validity, all repair, inspection, repair or replacement work, including maintenance and special adjustments, must only be carried out by tech-nicians of the authorized service department of the manufacturer.
- Always use the product with the supplied equipment. Operation of the product with non.provided equipment may cause malfunctions or even serious injury or death. The manufacturer and the importer shall not be liable for injuries and damages resulting from the use of nonconforming equipment.
The workshop equipment has been manufactured according to strict standards set by our company, which are aligned with the respective european quality standards. The workshop equipment is provided with a warranty period of 12 months. The warranty is valid from the date of purchase of the product. Proof of the warranty right is the purchase document of the workshop equipment (retail receipt or invoice). Under no circumstances shall the company cover the relevant cost of spare parts and respective required working hours unless a copy of the purchase document is presented. In case the repair has to be done by our service department the cost of transportation (to and from) is entirely borne by the sender (client). The said equipment must be sent for repair to the company or to an authorized workshop in the appropriate way and means of transport.
WARRANTY EXEMPTIONS AND RESTRICTIONS:
- Spare parts that wear out naturally as a consequence of being used.
- Workshop equipment damaged as a result of non-compliance with the instructions of the manufacturer.
- Workshop equipment poorly maintained or taken care of.
- Use of improper spare parts or accessories.
- Workshop equipmente given to third entities free of charge.
- Damage as a result of mistaken assembly.
- Damage as a result of poor quality of lubricant.
- Damage as a result of not cleaning the equipment as required.
- Equipment that has been modified or disassembled by unauthorized personnel.
- Equipment used for rent.
The warranty covers only the free of charge replacement of the component that presents a manufacturing defect or material failure. In case of lack of a specific spare part the company reserves the right to replace the equipment with another of the same kind. After all warranty procedures have been concluded, the warranty period of the equipment shall not be extend-ed or renewed. The spare parts or equipment that are replaced remain in the possession of our company. Requirements, other than those mentioned in this warranty form, regarding repairing a piece of equipment or damage thereof, do not apply. Greek law and relative regulations apply to this warranty.
WARRANTY
This appliance is a quality product. It was designed in compliance with current technical standards and made carefully using normal, good quality materials. The warranty period is 12 months and commences on the date of purchase, which can be verified by the receipt, invoice or delivery note. During this warranty period all functional errors, which, despite the careful treatment de-scribed in our operating manual, are verifiably due to material flaws, will be rectified by our after-sales service staff. The warranty takes the form that de-fective parts will be repaired or replaced with perfect parts free of charge at our discretion. Replaced parts will become our property. Repair work or the replacement of individual parts will not extend the warranty period not will it result in a new warranty period being commenced for the appliance. No sepa-rate warranty period will commence for spare parts that may be ted. We cannot offer a warranty for damage and defects on appliances or their parts caused by the use of excessive force, improper treatment and servicing. This also applies for failures to comply with the operating manual and the installation or spare and accessory parts that are not included in our range of products. In the event of interference with of modifications to the appliance by unauthorized persons, the warranty will be rendered void. Damages that are attributable to improper handling, over loading, or natural wear and tear are excluded from the guar-antee. Damages caused by the manufacturer or by a material defect will be corrected at no charge by repair or by providing spare parts. The prerequisite is that the equipment is handed over assembled, and complete with the proof of sale and guarantee. For a guarantee claim, only use the original packaging. That way, we can guarantee quick and smooth guarantee processing. Please send us the appliances post-paid or request a Freeway sticker. Unfortunately we will be unable to accept appliances that are not postpaid. The warranty does not cover parts that are subject to natural wear and tear. If you wish to make a warranty claim, report faults or order spare parts or accessories, please contact the af-ter-sales center below: Subject to change without prior notice. ![]()


















