hama R9054897 DR1000 Radio Digital Instruction Manual
Introduction
Thank you for choosing a Hama product. Take your time and read the following instructions and information completely. Please keep these instructions in a safe place for future reference. If you sell the device, please pass these operating instructions on to the new owner.
Explanation of warning symbols and notes
Risk of electric shock
This symbol indicates a risk of electric shock from touching product parts carrying hazardous voltage.
Warning
This symbol is used to indicate safety instructions or to draw your attention to specific hazards and risks.
Note
This symbol is used to indicate additional information or important notes.
Package contents
- DR1000 digital radio
- Power supply unit (12V/1A)
- Operating instructions


Safety instructions
- The product is intended for private, non-commercial use only.
- Protect the product from dirt, moisture and overheating and use it in dry rooms only.
- As with all electrical products, this device should be kept out of the reach of children.
- Do not drop the product and do not expose it to any major shocks.
- Do not operate the product outside the power limits specified in the technical data.
- Keep the packaging material out of the reach of children due to the risk of suffocation.
- Dispose of packaging material immediately in accordance with the locally applicable regulations.
- Do not modify the device in any way. Doing so voids the warranty.
- Do not use the product in the immediate vicinity of heaters, other heat sources or in direct sunlight.
- Do not use the product in areas in which electronic products are not permitted.
- Only use the article under moderate climatic conditions.
- The product is intended only for use inside buildings.
- Do not use the product in a damp environment and avoid splashing water.
- Route all cables so that there is no risk of tripping.
- Do not bend or crush the cable.
- Always pull directly on the plug when disconnecting the cable, never on the cable itself.
Risk of electric shock
- Do not open the device or continue to operate it if it becomes damaged.
- Do not use the product if the AC adapter, adapter cable or power cable is damaged.
- Do not attempt to service or repair the product yourself. Leave any and all service work to qualified experts.
Warning
- High sound pressure!
- There is a risk of hearing damage.

- To prevent any loss of hearing, avoid listening at loud volumes for prolonged periods.
- Always keep the volume at a sensible level. Loud volumes, even over short periods, can cause hearing loss.
- Using this product limits your perception of ambient noise. For this reason, do not operate any vehicles or machines while using this product.
Information and notes before getting started
Note – Optimising reception
- Try various different positions if necessary to get the best reception.
Setting up the radio and accessories
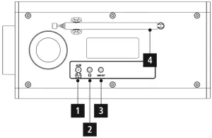
Rear view

| No. | Designation | Function |
| 1 | Mains connection | Connection of the enclosed mains adapter to the power supply |
| 2 | Headphone jack (3.5 mm) | Analogue connection with wired headphones with a 3.5 mm jack connection |
| 3 | Line Out (3.5mm) | Analogue connection with external loudspeakers and other audio devices via a 3.5 mm audio cable |
| 4 | Antenna | Antenna for receiving DAB/FM signals |
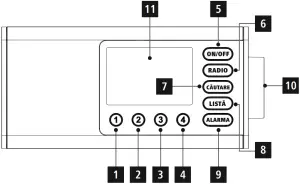
Front view

| No. | Button | Designation |
| 1 | ![]() | Favourites button 1 |
| 2 | ![]() | Favourites button 2 |
| 3 | ![]() | Favourites button 3 |
| 4 | ![]() | Favourites button 4 |
| 5 | ![]() | On/Off button |
| 6 | ![]() | Radio playback |
| 7 | ![]() | Automatic station search |
| 8 | ![]() | Call up station list |
| 9 | ![]() | Call up alarm settings |
| 10 | ![]() | Navigation/OK/Volume |
| 11 | Display |
Operating concept
General operation
| Icon | Designation | Function |
![]() | Hand symbol | Press once |
![]() | Hand symbol | Press multiple times |
![]() | Hand symbol | Press repeatedly |
![]() | Hand symbol | Hold for 3 seconds |
| Button | Designation | Function |
![]() | Rotary controller Navigation |
|
![]() | Rotary controller OK button |
|
![]() | On/Off button |
|
![]() | Radio button |
|
![]() | Automatic station search |
|
![]() | Call up station list |
|
![]() | Alarm button |
|
Managing favourites
| Button | Designation | Function |
![]() | [1] button |
|
![]() | [2] button |
|
![]() | [4] button |
|
Getting started
Connecting and operating the radio
Warning
- Only operate the product from an approved socket that is connected to the public power supply. The socket must be installed close to the product and must be easily accessible.
- Disconnect the product from the power supply using the On/Off switch – if this is not available, unplug the power cord from the socket.
- If using a multi-socket power strip, make sure that the total power consumption of all connected devices does not exceed the power strip’s maximum throughput rating.
- If you will not be using the product for a prolonged period, disconnect it from mains power.
- The power supply unit is suitable for mains voltages between 100 and 240 V and can therefore be used on virtually any AC power grid. Please note that a country-specific adapter may be necessary.
- You can find an appropriate selection of Hama products at www.hama.com.
Once the product has been connected to mains power, initialisation takes place. The radio starts up.
Once the radio has been initialised for the first time, switch it on using the
button (Power button) if required to start the product setup process. Below, the relevant steps are explained in brief. Further information can be found in the relevant detailed sections.

Control options
Please see the operating concept for information on the radio’s general operation.
The radio can be used with the following control options:
- Control elements on the device
Time settings
The radio allows the time to be displayed in 12-hour (am/pm) or 24-hour format.
Screen display
Three different presentations of the display content are supported. Here, you can switch between complete text display, image and text display and full image with subtitles.
Managing favourites
To save the station currently playing as a favourite, press any favourites button for 3 seconds. With a brief press on a favourites button, you can reselect any previously saved favourite.
DAB radio
This radio receives all common digital radio frequencies in the range of 174 MHz to 240 MHz (band III, channels 5A to 13F). The automatic DAB station search starts automatically when DAB mode is started for the first time. As soon as this has been completed, the current station list is displayed.
Pressing one of the buttons allows you to access the following.
Station list

The station list offers a complete display of all radio stations that were found during the last complete search.
Navigate to the desired station you want to call up and confirm this selection.
The radio will now start playing the corresponding station.
For stations that are currently no longer available, a?appears at the front.
Full scan

If the location of the radio changes or if new stations can be received, it is advisable to perform the station search again. The entire frequency range is searched again and the station list is updated.
FM radio

- If any of the stations you are looking for is not available on DAB, you can still listen to the station on FM. To set FM reception, press and hold the [RADIO] (6) for approx. 5 seconds.
- The FM station setting option appears, which you can operate using the controller. Turning the controller slowly adjusts the frequency in steps of 0.05 MHz.
Turn the controller faster to adjust the frequency in steps of 0.5 MHz. - Once you have found the station you want, confirm by the setting by pressing the rotary controller.
- The display shows “FM” in the first line to indicate the reception of FM radio.
The set frequency can also be assigned to a shortcut button (see 10). - If you wish to adjust the frequency, press the rotary controller (10) again to activate the frequency setting.
Alarm clock
The radio has two individually adjustable alarm times.
Settings
Alarm 1 and Alarm 2 are configured identically and allow two separate alarm times to be saved.
Press [ALARMA] (9) to open the Settings menu. Select Alarm 1 or 2 using the rotary controller (10).
Confirm your selection by pressing rotary controller (10).
- Turning the rotary controller (10) allows you to switch between “ON” (alarm active) and “OFF”) (alarm inactive). If you select “OFF”, the setup process is terminated and you are taken back to the alarm menu’s start screen
- Turn the rotary controller to select the time in hours. Confirm the selection by pressing the rotary controller (10). Next, repeat the setting process to configure the alarm time in minutes.
- Now select which days the alarm is to be active on. The following options are available for this:
- Daily à The alarm is active from Monday to Sunday
- Once à The alarm is only active once, i.e. as soon as the set alarm time next arrives.
- Mon – Fri à The alarm is active from Monday to Friday
- Sat– Sun à The alarm is active from Saturday to Sunday
- Select days à This selection takes you to a drop-down menu in which you can choose the required day (Monday to Sunday). Once a day is selected, this is indicated by a symbol (√)
- Now choose whether you wish to be woken by an alarm (Sound) or the radio (Radio). If you choose Radio, you can select from Favourites 1 and 2 that are saved on the shortcut buttons.
- You can set the volume at which the alarm sound should be played. This setting makes it irrelevant how loud you last listened to the radio.
Note
[ALARMA] (9) takes you back to the previous step.
The alarm setting process is now complete. As soon as the alarm goes off, you can activate the snooze function by pressing the rotary controller button. Repeatedly pressing the rotary controller (10) allows you to change the snooze time. [ALARMA] (9) deactivates the alarm.
Note
You can activate and deactivate alarm 1 again by pressing and holding [ALARMA] (9). This shortcut function also works if the radio is in standby mode.
If the alarm is active, the alarm symbol appears on the left next to the time. If the radio is switched off, the alarm symbol is displayed on the left next to the date.
The symbol for alarm 2 appears on the right-hand side accordingly. Alarm 2 cannot be activated via a shortcut button.
System settings
To access the system settings, ensure that the radio is switched on.
Then hold the ON/OFF button down for 8 seconds.

Standby screen
Select a brightness setting for the display that is to be used in standby mode.
Time settings
The radio allows the time to be displayed in 12-hour (am/pm) or 24-hour format.
Screen display
Three different presentations of the display content are supported. Here, you can switch between complete text display, image and text display and full image with subtitles.
Language selection
One of the available system languages can be selected here.
SW version
The radio’s current software version is displayed.
Factory settings
This function allows you to reset your radio to the factory settings on the software side. Confirm the prompt with “YES” to start the process
Note
Resetting to the factory default settings can remedy some problems and malfunctions.
However, all settings made previously, such as equaliser presets, station presets and network profiles, will be permanently deleted.
Technical data
Technical data | |
| Display | 4.0″ (10.16 cm) TFT |
| Loudspeaker | Full-range loudspeaker (5W RMS) |
| Power supply | 12.0 V 1.0 A 12.0 W |
| Languages supported | Romanian, English, German |
| Packaging contents | Digital radio, power supply unit |
| Audio connections | |
| outputs | Headphone 3.5mm, Line Out |
| sources | Favourites | |
| DAB/DAB+ (174.928 – 239.2 MHz) |
4 | |
| FM (87.5 – 108 MHz) |
Hama GmbH & Co KG
86652 Monheim/ Germany
Service & Support
www.hama.com
+49 9091 502-0








































