AC02765 Certified Modular Heat Shield System
Instruction Manual
CERTIFIED MODULARHEAT
SHIELD SYSTEM AC02765
CERTIFIED MODULAR HEAT SHIELD
SYSTEM EXTENSION AC02766
AC02765 Certified Modular Heat Shield System
INSTALLATION INSTRUCTIONS

Safety tested according to UL 1618 and ULC S632 by an accredited laboratory.
Stove Builder International
250, rue de Copenhague
Saint-Augustin-de-Desmaures Québec, Canada G3A 2H3
APPLICATION
This heat shield permits a reduction of required clearances between heat producing appliances and vertical combustible construction by up to 87.5%, except where clearances include provision for access or ventilation.
The assembly and installation for the heat shield AC02765 and the heat shield extension AC02766 are conducted in the same way.
WARNING
THIS HEAT SHIELD CANNOT BE USED TO REDUCE CLEARANCES IN FRONT OF ANY LOADING OR ASH REMOVAL DOORS ON THE APPLIANCE.
This heat shield kit can be used as a wall protector with the following:
a) Solid-fuel type room heaters and cook stove complying with the Standards for Room Heaters, Solid-Fuel type UL 1482, UL 737 and ULC S627;
b) Solid-fuel type room heaters complying with the ASTM E1509 Standard for Room heaters, Pellet Fuel-Burning Type.
OVERALL DIMENSIONS AND WEIGHT

KITS CONTENT
3.1. AC02765
3.2. AC02766
HOW TO DETERMINE THE MINIMUM REDUCED CLEARANCES ACCEPTABLE
To determine the minimum acceptable reduced clearances between the appliance and a wall using this heat shield, use the following equation:
Where :
: Minimum clearance after reduction1.
: Specified clearance on the heating appliance.
: Clearance reduction percentage specified on the wall protector product.
NOTE
Refer to the appliance manufacturer’s installation instructions to know minimum clearances to facilitate appliance maintenance.
In the US, an appliance or chimney connector with a labelled clearance of less than 12″ can be installed at the clearance established by the appliance and chimney connector certification clearance, but a wall protector cannot further reduce clearance specified by the appliance and connector certification of the appliance or chimney that is less than 12″, nor it can reduce clearances greater than 12″ to less than 12″ unless the appliance, chimney connector and wall protector have been tested and labelled together at a specific clearance.
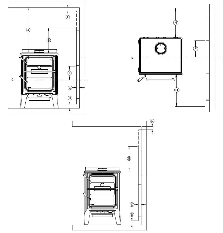
CLEARANCES FOR SHIELD INSTALLATION
| A | Minimum clearance between the appliance top and an unshielded combustible ceiling: see appliance user manual. |
| B | Minimum shield extension above the appliance: 500 mm (20 in.). |
| C | Minimum space behind the shield: USA 25 mm (1 in.) Canada 21 mm (7/8 in). (Space already provided with wall support installation) |
| D | Clearance along the bottom of the shield: min. 25 mm (1 in.) max. 76 mm (3 in.). |
| E | Minimum clearance along the top of the shield to the ceiling: 76 mm (3 in.). |
| F | Mounting hardware must not be located closer than 200 mm (8 in.) from the vertical center line of the appliance. |
| H | Shield extension beyond each side of the appliance: 450 mm (18 in.). |
WARNING
- DO NOT CUT OR TRIM THIS HEAT SHIELD.
- DO NOT APPLY COMBUSTIBLE MATERIALS TO THE SURFACES OF THE HEAT SHIELD.
- FOR THE PROPER FUNCTIONING OF THE HEAT SHIELD, DO NOT BLOCK SPACES AT THE TOP AND AT THE BOTTOM OF THE HEAT SHIELD.
- COMBUSTIBLE MATERIAL MAY NEED TO BE SHIELDED FROM THE EFFECTS OF THE CHIMNEY CONNECTOR AS A RESULT OF REDUCING THE APPLIANCE CLEARANCES. A MINIMUM CLEARANCE OF 2″ (50 MM) IS REQUIRED BETWEEN
THE APPLIANCE CHIMNEY CONNECTOR AND THE HEAT SHIELD.- To minimize clearances, use double wall stove pipe or single wall stove pipe with a shield.
- Some brands of double wall stove pipe can be as close as 5″ to the vertical wall.
- SBIHA offers single wall pipes with clearances as low as 5″ when use with an approved shield.
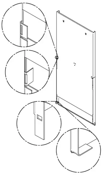
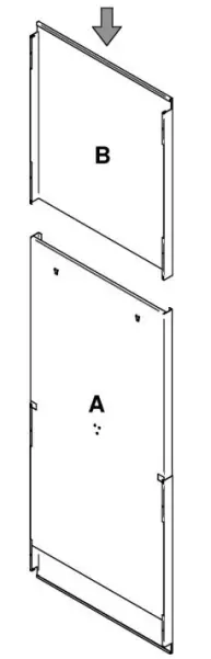
ASSEMBLING THE PANELS (AC02765 OR AC02766)
- Position the inside panel (A) with punchclips (L) facing upwards.
- Slide one outside panel (B) from the bottomof panel (A) up to the middle.
Note: Pull on the tab to ease assembly.
- Secure the assembly by folding the middle and lower tabs of the outside panel (B).

- Slide another outside panel (B) from the top down to the middle of the inside panel (A).

- Secure the assembly by folding the middle and upper tabs of the outside panel (B).
- Repeat the 5 steps for the second panel.

SUPPORT INSTALLATION ON THE WALL
7.1. AC02765
- Position the top panel supports (C) in order to maintain the minimum clearances. Refer to the table below.
- Install the top panel supports (C) using anchors and screws.
- The bottom supports (D) must be centered and approximately 39 1/2″ (1003 mm) apart from the top support (C).
- Position and fix the bottom supports (D) with anchors and screws.

| CLEARANCES | MEASURMENTS | ||
| FLOOR-HEAT SHIELD | I | J | K |
| 1″ | 391/2″ | 54″ | 9 3/4″ |
| 2″ | 39 1/2″ | 55″ | 9 3/4″ |
| 3″ | 391/2″ | 56″ | 9 3/4″ |
7.2. AC02765 with AC02766
The heat shield extension can be installed either in between the two panels of the heat shield or at the end. See steps and figures below.
- Position the top panel supports (C) and (M) in order to maintain the minimum clearances. Refer to the table below.
- Install the top panel supports (C) and (M) using anchors and screws.
- The bottom supports (D) and (L) must be centered and approximately 39 1/2″ (1003 mm) apart from the top support (C) and (M).
- Position and fix the bottom supports (D) and (L) with anchors and screws.

CLEARANCES MEASURMENTS FLOOR-HEAT SHIELD I J K N 1″ 39 1/2″ 54″ 9 3/4″ 9 1/2″ 2″ 39 1/2″ 55″ 9 3/4″ 9 1/2″ 3″ 39 1/2″ 56″ 9 3/4″ 9 1/2″
WARNING
MEASUREMENTS FROM THE PRECEDING TABLES ARE FOR REFERENCE ONLY, IN ORDER TO FACILITATE THE WALL SUPPORTS POSITIONING. CLEARANCES FROM SECTION 5 « CLEARANCES FOR SHIELD INSTALLATION » SHOULD TAKE PRECEDENCE AND MUST BE RESPECTED AT ALL TIMES.
PANEL INSTALLATION
Hook the panel assembly on the top support. Push on the bottom until the panel touches the magnet on the bottom support.
WARNING
WHEN INSTALLED, PANELS MUST BE SIDE BY SIDE, WITH NO SPACE IN BETWEEN.





















