DAIKIN EKLN140A1 Low Sound Enclosure Instruction Manual
About the documentation
About this document
Target audience
Authorised installers
Documentation set
This document is part of a documentation set. The complete set consists of:
- Option installation manual:
- Installation instructions
- Format: Paper (in the box of the option)
Latest revisions of the supplied documentation may be available on the regional Daikin website or via your dealer.
The original documentation is written in English. All other languages are translations.
Technical engineering data
- A subset of the latest technical data is available on the regional Daikin website (publicly accessible).
- The full set of latest technical data is available on the Daikin Business Portal (authentication required).
About the box
NOTICE
Before installation, check the packaging and parts for damage. Make sure that the shipment is complete.
Parts
The box contains the following parts:
| Description | Amount | Indication(a) |
| Base frame profile, front | 1× | A |
| Base frame profile, rear | 1× | B |
| Base frame profile, left | 1× | C |
| Base frame profile, right | 1× | D |
| Support beam, front | 1× | — |
| Support beam, rear | 1× | — |
| Support partition, upper | 1× | E |
| Support partition, lower | 1× | F |
| Support frame sealing pad | 1× | — |
| Vertical support, left | 2× | G |
| Vertical support, right | 2× | H |
| Lower slat | 2× | — |
| Intermediate slat | 8× | — |
| Upper slat | 2× | — |
| Top panel | 1× | — |
| Side panel, left | 1× | — |
| Side panel, right | 1× | — |
| Sealing strips | — | — |
(a) Some parts will have a letter stamped on them.
Accessories
The box contains the following accessories:
| Accessories(a) | Illustration | Description | Amount |
| A | ![]() | Torx screw M5×20 | 80× |
| B | ![]() | Washer M5 nylon DIN 125‑1A | 80× |
| C | ![]() | Sealing tape 20 mm | 1× |
| D | ![]() | Nylon plug 8×40 | 8× |
| E | ![]() | Lag screw 6×50 | 8× |
| F | ![]() | Sheet metal washer M6×20 | 8× |
| G | ![]() | Round spacer cap | 4× |
| H | ![]() | Spring washer M8 | 8× |
| I | ![]() | Nut M8 | 8× |
| J | ![]() | Sheet metal washer M8×30 | 8× |
| K | ![]() | Rounded finishing profile, small | 1× |
| L | ![]() | U-shaped finishing profile | 1× |
| M | ![]() | Guide pin Ø8×25 M5 | 12× |
| N | ![]() | Spacer bush 15×2.5 | 4× |
| O | ![]() | Spacer bush 12×7 | 4× |
| P | ![]() | D-rubber sponge, self- adhesive | 1× |
| Q | ![]() | Rounded finishing profile, big (1 m) | 1× |
| R | ![]() | Key | 2× |
| S | ![]() | Base frame corner bracket | 4× |
| T | ![]() | Base frame sealing pad | 1× |
| U | ![]() | Base frame sealing pad | 3× |
| V | ![]() | Vibration damper | 4× |
(a) This manual refers to each accessory with a specific letter from A to V.
About the unit and options
Possible combinations
See the data book of the outdoor unit to check if the low sound enclosure is compatible with the outdoor unit.
Possible options
Drain pan and heater tape
To evacuate drain water, use:
- Drain pan (EKLN140-DP)
To keep the drain holes free in cold climates, also use: - Heater tape (EKLN140-DPHT)
Unit installation
WARNING
Installation shall be done by an installer, the choice of materials and installation shall comply with the applicable legislation. In Europe, EN378 is the applicable standard.
WARNING
Installation MUST be carried out by an authorised installer.
2 people are required to install the low sound enclosure.
WARNING
The parts may have sharp edges. Wear cut-resistant work gloves during installation.
Preparing the installation site
WARNING
Make sure installation, servicing, maintenance and repair comply with instructions from Daikin and with applicable legislation and are executed ONLY by authorised persons.
Requirements relating to the installation
Ensure a horizontal, level and stable base (a paved base or a wooden frame). There MUST be a minimum clearance of 1 meter on all sides of the frame.
See the installer reference guide of the outdoor unit for additional installation site requirements of the outdoor unit in cold climates.
Tools
The low sound enclosure can be installed using following tools:
- Cut-resistant work gloves
- Wire cutters
- Utility knife
- Measuring tape
- Try square
- Neutral cleaning agent
- Screwdriver, Torx TX25
- (Pipe) wrench size 10
- Key size 13
- Drill with 8 mm masonry bit (if the foundation is made of concrete)
About fitting the enclosure
About installing the base frame

- a Base frame profile, front (part A)
- b Base frame profile, rear (part B)
- c Base frame profile, left (part C)
- d Base frame profile, right (part D)
- e Base frame corner brackets (accessory S)
- f Base frame sealing pad (accessory U)
- g Fixation holes
To install the base frame
The base frame comprises 4 straight pieces (a~d) and 4 corners (e).
The 4 straight pieces have recesses at the ends to allow them to slot
together.
- Tilt the corner brackets (accessory S) into the corners.
- Fix the corners with M5 Torx screws (accessory A) and washers (accessory B).
INFORMATION
Tighten them hand-tight (tightening torque <5N∙m). - Affix 1 strip of sealing tape (accessory C) to the bottom side of the base frame in the centre of the profile.

a Sealing tape (accessory C) - Interrupt the rubber at the drain holes (2×) and fixation holes (4×).
- Align the base frame in a 90° angle – a large try square would be most appropriate for this.
INFORMATION
The corners MUST be exactly 90°. - Fix the base frame to the floor with the lag screws (accessory E) and the sheet metal washers (accessory F).
- (Optional) If working with a stony base, use the nylon plugs (accessory D).
- Fit 4 round plastic spacer caps (accessory G) to the base frame and press them into the fixation holes at the top, over which the panels will be fitted later.
About installing the support frame

- a Support beam, front
- b Support beam, rear
- c Support partition, upper (part E)
- d Support partition, lower (part F)
- e Vibration dampers (accessory V)
- f Rounded rubber (accessory Q)
- g Base frame sealing pad (accessory T)
- C, H, I Accessories
To install the support frame
- Position the front support beam (a) and rear support beam (b) parallel to one another with the open sections facing one another.
- Slide the upper support partition (c) and lower support partition (d) between the 2 support beams.
- Check that all holes in the support bars and partitions are aligned with one another.
- Connect the vibration dampers (accessory V) to the support beams and partitions using the M8 spring washers (accessory H) and M8 nuts (accessory I).
- Connect the support beams and partitions to one another using the M5 Torx screws (accessory A) and washers (accessory B).
INFORMATION
Tighten them hand-tight (tightening torque <5N∙m). - Affix 1 strip of sealing tape (accessory C) to both support beams in the centre of the front support beam profile (a) and rear support beam profile (b).

a Sealing tape (accessory C) - (Optional) If you use the support frame as the base of the drain pan: cut the U-shaped finishing rubber (accessory L) into 4 equal parts of 3 cm long and place them on the top ends of both intermediate support partitions on the upper part.

L U-shaped finishing rubber - Fit the front of the foremost support beam with rounded rubber (accessory Q).
- Cut the correct lengths and ensure that the rubber is interrupted at the notches.
- Click the support frame into the base frame using the grooves.

a Location of groove in base frame
a Location of groove in support frame - Fix the foremost support beam to the floor using the lag screws (accessory E), sheet metal washers (accessory F), and plugs (accessory D) if working with a stony base.
Result:

About installing the outdoor unit
INFORMATION
For details about installation of the outdoor unit, see the manual of the outdoor unit.
CAUTION
When installing the low sound enclosure on an existing outdoor unit, the wiring and refrigerant piping MUST go through 1 of the 3 premounted openings in the base frame of the low sound enclosure.
ALWAYS follow the instructions in the installation manual and service manual of the outdoor unit for the related procedures to uninstall and reinstall the outdoor unit.
Unit installation
To install the outdoor unit
- If necessary, fix the rearmost support beam using lag screws (accessory E) and washers (accessory F).

- (Optional) If working with a stony base, use the plugs (accessory D).
- Place the outdoor unit on the vibration dampers and connect them consecutively using the sheet metal washer (accessory J), spring washer (accessory H), and nut (accessory I).

a Sheet metal washer M8 (accessory J)
b Spring washer M8 (accessory H)
c Nut M8 (accessory I)
Wiring
To prepare the wiring
- Choose the desired opening in the base frame for the pipes and electrical wiring.
- Seal the other openings using the provided base frame sealing pads (accessory T and U).
INFORMATION
If the cables enter from the bottom, all openings can be sealed. - Fix with M5 Torx screws (accessory A) and washers (accessory B).
INFORMATION
Tighten them hand-tight (tightening torque <5N∙m).
To position the wiring
- Insert the small rounded finishing rubber (accessory K) into the opening through which the cables are passed to ensure the perfect seal between the opening and pipes and cables.
- Cut the rounded finishing rubber (accessory K) to the correct size with a utility knife and place it on the inside of the opening.
- Place a strip of U-shaped finishing rubber (accessory L) on the inside of the base frame to prevent damage to the pipes and cables.
- Pull the pipes and electrical cables through.
- Guide the pipes and electrical cables through the floor (base) entry point of the outdoor unit to prevent kinks in the pipes.

a Insulation
b Refrigerant piping
c Small rounded finishing profile (accessory K)
d U-shaped finishing profile (accessory L)
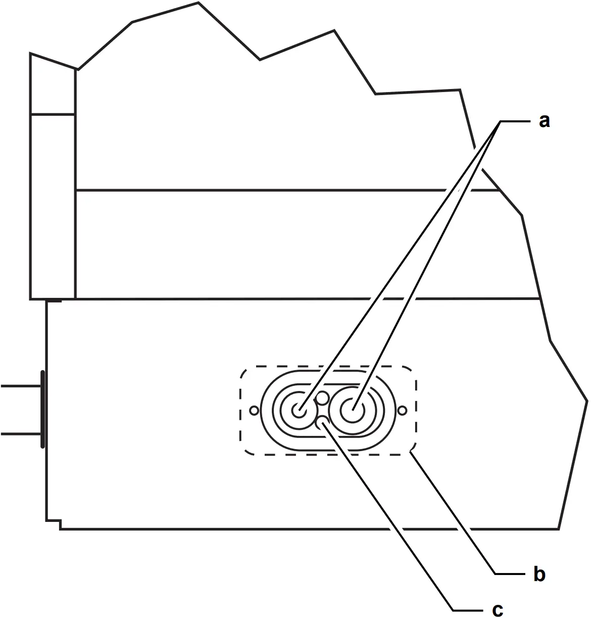
a Refrigerant piping
b Cover plate positioned from inside. Placed in 3 positions (see top view). Pipes are sealed with rubber.
c Electrical cables
About fixing the outdoor unit
To fix the outdoor unit
- Connect the pipes and cables from the outdoor unit according to the installation manual for the outdoor unit.
About installing the slats frame
To install the slats frame
- Position the vertical supports left (a) and right (b) on the base frame.

a vertical supports, left (part G)
b vertical supports, right (part H) - Fix with M5 Torx screws (accessory A) and washers (accessory B).
INFORMATION
Tighten them hand-tight (tightening torque <5N∙m). - Fit the plastic guide pins (accessory M) to the bottom of the vertical support.

- Fix with M5 Torx screws (accessory A) and washers (accessory B).
INFORMATION
Tighten them hand-tight (tightening torque <5N∙m). - Slide the 15×2.5 plastic spacer bush (accessory N) over the lower guide pins.
About installing the slats

a Lower slats (2×)
b Intermediate slats (8×)
c Upper slats (2×)
Protective tape has been added around the slats for transport. Remove the tape before installing the slats.

a Protective tape on upper slat (4×)
b Protective tape on vertical support, left and right (8×)
To install the lower slats
- Tilt the lower slats into the vertical supports (part G and H).
- Bend the mounting lips 90° in respect of the slats.

NOTICE
The lips MUST be bent in a 90° angle. In case of bending <90°, scratching can occur on the surface of the unit. Be careful when installing the slats.
INFORMATION
The lips MUST be connected to the vertical supports. - Hold the lip and vertical support firmly by hand to make sure that the holes align with one another.
- Fix the lip with M5 Torx screws (accessory A) and washers (accessory B) inserted from outside.
INFORMATION
Tighten them hand-tight (tightening torque <5N∙m).
To install the intermediate slats
- Tilt the intermediate slats into the vertical supports (part G and H).
- Position 4 intermediate slats on each side.
- Bend the mounting lips 90° in respect of the slats.
NOTICE
The lips MUST be bent in a 90° angle. In case of bending <90°, scratching can occur on the surface of the unit. Be careful when installing the slats.
INFORMATION
The lips MUST be connected to the vertical supports. - Hold the lip and vertical support firmly by hand to make sure that the holes align with one another.
- Fix the lip with M5 Torx screws (accessory A) and washers (accessory B) inserted from outside.
INFORMATION
Tighten them hand-tight (tightening torque <5N∙m).
To install the upper slats
- Tilt the upper slats into the vertical supports (part G and H).
- Place the slat at the top over the vertical supports (part G and H).
- Slide the slat into the notches below in the vertical supports (part G and H).
- Fix the 8 guide pins (accessory M) with the M5 Torx screws (accessory A). A washer is NOT needed in this case.
- Fit a 12×7 spacer bush (accessory O) over the upper guide pins (4×).
- Fit the 4 additional M5 Torx screws (accessory A) and washers (accessory B).
INFORMATION
Tighten them hand-tight (tightening torque <5N∙m).
a Guide pins (accessory M) with M5 Torx screw (acessory A)
b Spacer bush (accessory O)
c Additional M5 Torx screw (accessory A) - Fit the self-adhesive D-rubber (accessory P) to all edges of the vertical support, base frame, and upper slats.
- Make sure the rubber is adhered flush with the outside of the sheet metal plate edges.
INFORMATION
Dry and degrease the sheet metal plate with a neutral cleaning agent to ensure that the D-rubber adheres properly. Cut the rubber to length with scissors.
a Self-adhesive D-rubber (accessory P)
About installing the panels and sealing strips
To install the top panel
- Position the top panel precisely over the 4 guide pins (accessory M).
- Fix the top panel with 4× M5 Torx screws (accessory A) ONLY.
INFORMATION
Tighten them hand-tight (tightening torque <5N∙m). - Fit the self-adhesive D-rubber (accessory P) to both edges of the top panel.
- Make sure the rubber is adhered flush with the outside of the sheet metal plate edges.
INFORMATION
Dry and degrease the sheet metal plate with a neutral cleaning agent to ensure that the D-rubber adheres properly. Cut the rubber to length with scissors.
a Self-adhesive D-rubber (accessory P)
To install the side panels and sealing strips
- Affix the self-adhesive sealing strips to both sides of the outdoor unit.

a Sealing strip, left. Affix this over the full height of the outdoor unit (see dotted line).
b Sealing strip, right. Affix this over the length of the service door ONLY (see dotted line). - Push the remainder of the sealing strip between the base frame profile.
- Lift the left and right side panels into the recess and let them slide over the lower pins (accessory M).

- Press the side panels tight and lock them with the key provided (accessory R).
Result: The low sound enclosure has been fitted.
Configuration
After installing the outdoor unit ALWAYS deactivate the high external static pressure function. This in order to avoid increased fan velocity and associated increase in outdoor unit sound emission.
| Model | Setting | Set to value… |
| RZAG71 | 2-79 | 2 |
| RZAG100 | ||
| RZAG125 | ||
| RZAG140 | ||
| RZA200 | ||
| RZA250 | ||
| RXYSA4 | 2-18 | |
| RXYSA5 | ||
| RXYSA6 |
INFORMATION
For more information on the field settings, see the installer reference guide or the service manual of the outdoor unit.
Maintenance
- The low sound enclosure is free of maintenance under normal conditions.
- Clean the outside with water and a neutral cleaning agent at least twice a year to keep the housing in optimal condition.
- To avoid the short circuit of the airflow, ALWAYS keep the slats openings free from debris and remove dirt such as leaves and snow.
INFORMATION
For information on maintaining the outdoor unit, see the service manual for the respective outdoor unit.
DAIKIN EUROPE N.V.
4P650154-1B 2022.05
Copyright 2021 Daikin




























































