Steamfast SF-520 Fabric Steamer
Product Information
The following features and accessories are included with your Everyday Fabric Steamer. Carefully inspect the packing material for all parts listed below. To obtain possible missing parts, refer to Product Support on Page 14 of this manual for Consumer Service contact information
UNIT FEATURES & ACCESSORIES
- Pole Top
- Clothes Hanger Hook
- Steam Nozzle Cradle
- Steam Nozzle
- Handle
- Telescopic Pole
- Pole Base
- Hose
- Hose Base
- Water Tank
- Valve Cap
- Water Reservoir
- Boiler (internal)
- Lighted On/Off Switch
- Drain Plug
- Rolling Casters
- Fabric Brush
- Press Pad

IMPORTANT INSTRUCTIONS
- Always unplug power cord immediately after using.
- Do not place or store unit where it can fall or be pulled into a sink or tub.
- Do not place in, or drop into water or other liquid.
- If unit falls into water, immediately unplug power cord. Do not reach into the water
- Use Everyday Fabric Steamer only for its intended purpose as indicated in this manual.
- If an extension cord is necessary, use a properly rated cord (15 ampere, 14 gauge). Use care to position extension cord where it is least likely to be damaged or tripped over during use.
- Before plugging power cord into electrical outlet, be sure that all electrical information on rating label agrees with your power supply.
- To reduce likelihood of circuit overload, DO NOT operate another high wattage appliance on the same circuit as this unit.
- To protect against risk of electrical shock, do not immerse unit in water or other liquids. Do not use power cord as handle, let it hang over edges of counters, or be crimped or closed in doors.
- Never yank power cord to disconnect from outlet; instead, grasp plug and pull to disconnect.
- Do not operate unit with a damaged power cord or if the unit has been dropped or damaged.
- To avoid risk of electrical shock, do not disassemble unit; contact Steamfast Consumer Service for examination and repair. Incorrect reassembly can cause a risk of electrical shock when unit is used.
- Close supervision is required for any appliance being used near children, pets and plants. Do not leave unit unattended while plugged in.
- This unit is not intended for use by persons (including children) with reduced physical, sensory or mental capabilities, or lack of experience and knowledge, unless they have been given supervision or instruction concerning use of the unit by a person responsible for their safety.
- Do not use unit where aerosol-based products are being used, or where oxygen is being administered.
- Unit is only meant to be used with recommended Everyday Fabric Steamer (model SF-407) accessories. Using other types of attachments may cause damage to unit or injury.
- If Lighted On/Off Switch does not illuminate when unit is plugged in and Switch is set to “ON” position, unit is not operating normally. Immediately disconnect cord from power supply, then refer to troubleshooting guide on Page 13 of this manual for assistance.
- Do not attempt to use unit without properly filling Water Tank / Water Reservoir.
- When filling unit, only water should be used – other cleaning agents could damage unit or cause injury. Distilled or de-mineralized water is highly recommended, in order to minimize potential build-up of mineral deposits.
- To reduce risk of contact with hot water emitting from Steam Nozzle, check appliance before each use by positioning it away from body and turning it on. Do not operate unit if Steam Nozzle is blocked.
- Use caution when carrying unit up stairs or over obstacles, or when using unit on or near an uneven surface.
- Burns can occur from touching hot plastic parts, hot water, or steam. Do not touch Steam Nozzle or attempt to connect any accessories while unit is in use. Use caution when you turn unit upside-down – there may be hot water inside.
- When steaming any fabric for the first time, it is recommended that you consult the manufacturer’s guidelines for the material being steamed. For items in question, test on an inconspicuous area before proceeding.
- Synthetic materials (such as 100% nylon or polyester) are sensitive to heat, and my be damaged by exposure to hot steam. Steam is recommended for use only on natural fibers such as cotton, linen or wool, as well as nylon or polyester blends.
- Do not allow power cord to touch hot surfaces during use. Loosely bundle cord when storing.
- Always allow Everyday Fabric Steamer to cool (15 minutes for complete cooling) and empty Water Tank and Water Reservoir before storing.
Assembling Your Everyday Fabric Steamer
TELESCOPIC POLE
The Telescopic Pole is made up of four sections 
- TOP (SECTION 1)
- MIDDLE-TOP (SECTION 2)
- MIDDLE-BOTTOM (SECTION 3)
- BOTTOM (SECTION 4)
CONNECTING TELESCOPIC POLE
- Locate COUPLING on SECTION 4 of Telescopic Pole. The Telescopic Pole is packed with COUPLING already on SECTION 4 – if the COUPLING has fallen off, simply slide it back on as shown in
- Look down inside Pole Base, and locate two guide ridges (FIGURE 2-A). Align two guide grooves on Telescopic Pole with guide ridges inside Pole Base.
- With guide grooves aligned with guide ridges, insert
- SECTION 4 of Telescopic Pole into Pole Base
- Slide COUPLING down over Pole Base, then screw clockwise to lock Telescopic Pole in place Telescopic Pole should now be secured to the Pole Base.

CONNECTING POLE TOP
- Look at underside of Pole Top, and locate two guide ridges
- Align Pole Top guide ridges with guide grooves on SECTION 1 of Telescopic Pole. Be sure to orient Pole Top so that Steam Nozzle Cradle faces toward front of unit. This will help to improve unit stability when heavy garments are hung from the Clothes Hanger Hook.
- Slide Pole Top onto SECTION 1 of Telescopic Pole Press down firmly until Pole Top fits securely in place.

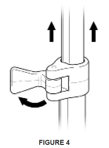
ADJUSTING TELESCOPIC POLE
- In order to adjust the length of SECTIONS 1, 2 & 3 of the Telescopic Pole:
- Release extension lock directly below SECTION 1 by swinging hinge outward as shown. SECTION 1 can then be extended / retracted
- Once SECTION 1 is at desired length, close hinge to once again secure extension lock.
- Repeat STEPS 1 & 2 for SECTIONS 2 & 3 of the Telescopic Pole, using the extension lock directly beloweach of those sections.

Assembling Your Everyday Fabric Steamer
CONNECTING HOSE
- Place end of Hose onto threaded Hose Base
- Rotate coupling in clockwise direction until Hose is tightly secured onto Hose Base Hand tighten only. Do not over-tighten.
- Hang Steam Nozzle on specially designed Steam Nozzle Cradle

CONNECTING FABRIC BRUSH
- Make sure Lighted On/Off Switch is set to “OFF” position, and that unit is not emitting any steam.
- Align the four pegs on back of Fabric Brush (2 circular and 2 elliptical) with corresponding holes on face of Steam Nozzle.
- Press Fabric Brush firmly onto Steam Nozzle, until it fits snugly and firmly in place

Using Your Everyday Fabric Steamer
FILLING WITH WATER
- Remove Water Tank from main unit.
- Holding Water Tank upside-down, unscrew and remove Valve Cap by rotating it in a counterclockwise direction
- Fill Water Tank with water through Valve Cap hole. Refer to guidelines on side of Water Tank to fill it with correct amount of water, depending on desired steam time (15, 30, or 45 minutes).
- Do not exceed 45 MIN (40 oz / 1180 ml) mark.
- Everyday Fabric Steamer, distilled or de-mineralized water is recommended.
- Replace Valve Cap by rotating it in a clockwise direction.
- Place Water Tank back onto main unit The sound of water flowing from Water
- Tank into Water Reservoir should be audible for a short period of time.

OPERATING YOUR EVERYDAY FABRIC STEAMER
- For first-time use, remove protective plastic cover that is shipped on electrical plug. Plug power cord into a convenient 3-prong electrical outlet
- Set Lighted On/Off Switch to “ON” position and verify that switch is illuminated.
- After approximately 40 seconds of heating time, unit will begin producing a flow of steam from Steam Nozzle.
- Once steam flow is steady and excess condensation has been removed from Hose, you may proceed with your steaming tasks. Refer to Fabric Steaming section on Page 11 for more information about steaming garments and other fabrics.
- When you are finished using the Everyday Fabric Steamer, immediately set Lighted On/Off switch to “OFF” position and unplug power cord from electrical outlet. Refer to Storage & Care on Page 12 for proper cleaning and storage procedures.

FABRIC STEAMING STEAMING GARMENTS:
- Place garment on a clean, rust-free clothes hanger.
- Place hanger (with garment) on Clothes Hanger Hook
- Direct Steam Nozzle towards bottom of garment.
- Steam will rise along inside and outside of fabric, removing wrinkles. Slowly slide Steam Nozzle vertically, from bottom to top of garment
- Direct Steam Nozzle away from garment and smooth fabric with your free hand.
- Repeat STEPS 3 & 4 as necessary until fabric is fresh and wrinkle-free.

GENERAL STEAMING TIPS:
- For most effective results, hold Steam Nozzle within 1/2” of fabrics, or press it directly against surfaces.
- Curtains and draperies can be steamed while still hanging.
- To remove wrinkles from towels, handkerchiefs and napkins, drape them over a rod or towel rack and gently steam them.
- Heavier fabrics may require repeated steaming to achieve desired results.
- To remove exceptionally stubborn wrinkles, steam both sides of fabric.
- Be especially careful when steaming any delicate fabrics that may be damaged by heat or water spotting.
- To sanitize a fabric, hold Steam Nozzle within 1/2 inch of a single area for at least 5 seconds. Use caution when doing this on more delicate fabrics.
- To remove particles like lint, hairs and loose threads, connect the Fabric Brush to the Steam Nozzle.
- The Press Pad is ideal for steaming collars, cuffs and edges to create crisp creases in fabric. Slide your hand through the strap on back of Press Pad to secure it to your hand (FIGURE 10) – this will protect your hand from the flow of hot steam. Then press fabric firmly between Steam Nozzle and Press Pad.

- The Press Pad is ideal for steaming collars, cuffs and edges to create crisp creases in fabric. Slide your hand through the strap on back of Press Pad to secure it to your hand (FIGURE 10) – this will protect your hand from the flow of hot steam. Then press fabric firmly between Steam Nozzle and Press Pad.
Storage & Care
PROPER STORAGE
Preparing your Everyday Fabric Steamer for storage is quick and simple. When you have finished your steaming tasks, follow the steps listed below.
- Set Lighted On/Off Switch to “OFF” position, and unplug power cord from electrical outlet.
- Allow unit to cool (15 minutes for complete cooling).
- Bring unit to a convenient sink or tub.
- Remove Water Tank from unit. Unscrew Valve Cap and drain all remaining water from Water Tank. Replace Valve Cap when finished.
- Open Drain Plug and drain all remaining water from Water Reservoir to prevent overfilling during your next use. Securely replace Drain Plug and place empty Water Tank back onto main unit.
- For storage convenience, you may wish to collapse Telescopic Pole to its most compact height (refer to Page 7 for details).
- Loosely bundle power cord and store Everyday Fabric Steamer in a cool dry location, along with all included accessories.
MINERAL BUILD-UP
A common maintenance need for steam appliances is the removal of build-up caused by high mineral content in many municipal water supplies. This mineral build-up may limit the effectiveness and reduce the life of your Everyday Fabric Steamer. The best way to minimize mineral build-up is to use distilled or de-mineralized water when using your Everyday Fabric Steamer. In addition, it is recommended that the unit be cleaned at least once a month in order to remove any deposits that form. This will help to extend the life of your Everyday Fabric Steamer and keep it functioning at its maximum potential.
To remove mineral build-up:
- Set Lighted On/Off Switch to “OFF” position and unplug power cord from electrical outlet.
- Allow unit to cool (15 minutes for complete cooling).
- Bring unit to a convenient sink or tub.
- Remove Water Tank from unit. Unscrew Valve Cap and drain all remaining water from Water Tank.
- Open Drain Plug and drain all remaining water from Water Reservoir. Securely replace Drain Plug.
- Fill a measuring cup (not included) with 12 oz (355 ml) vinegar.
- Pour vinegar into Water Tank, then replace Valve Cap and place Water Tank back onto main unit.
- Allow vinegar to flow into Water Reservoir / Boiler and soak for 30-40 minutes.
- Plug power cord into an electrical outlet and set Lighted On/Off Switch to “ON” position. Allow unit to steam until no vinegar remains.
- Open Drain Plug and drain vinegar from Water Reservoir. Securely replace Drain Plug.
- Remove and refill Water Tank to maximum capacity (40 oz / 1180 ml) with fresh water and place it back onto main unit. Allow all fresh water to flow into Water Reservoir / Boiler and be steamed out. Refill and repeat as necessary until vinegar odor has completely dissipated.
- When finished, set Lighted On/Off Switch to “OFF” position and unplug power cord from electrical outlet. Follow normal storage procedure as outlined in Proper Storage section above.
Product Support
CONSUMER SERVICES
For problems with your Everyday Fabric Steamer, please refer to the troubleshooting guide located above. Additional inquiries should be directed to our consumer support services through our Web site, www.steamfast.com. If you do not have internet access, you may also contact our Consumer Service Department by telephone, at 1-800-711-6617.
- Purchase information (where and when you purchased this product)
- Copy of purchase receipt / proof of purchase
- Product serial number (located near electrical specification label on bottom of unit)
- Date code (4-digit number located on electrical specification label on bottom of unit)
TROUBLESHOOTING
| PROBLEM | POSSIBLE CAUSE | SOLUTION |
| Unit fails to heat up. Lighted On/Off Switch DOES NOT illuminate when set to “ON” position. | Unit is not plugged in. | Plug power cord into electrical outlet. |
| Household circuit breaker / ground fault interrupter has tripped or blown a fuse. | Reset circuit breaker / ground fault interrupter, or replace fuse. For assistance, contact a licensed electrician. | |
| Unit is damaged or otherwise in need of repair. | Immediately cease usage and unplug. Contact Consumer Service for assistance (see below for details). | |
| Unit fails to heat up. Lighted On/Off Switch DOES illuminate when set to “ON” position. NOTE: Always allow sufficient time for unit to heat up and begin producing steam. | No water in unit. | Refer to Filling With Water procedure on Page 9 to fill unit with water. |
| Mineral build-up in unit. | Refer to Mineral Build-up section on Page 12 for cleaning procedure. | |
| Unit is damaged or otherwise in need of repair. | Immediately cease usage and unplug. Contact Consumer Service for assistance (see below for details). | |
| Excessive gurgling in Hose and Steam Nozzle / water drips from Steam Nozzle. | Condensation build-up inside of Hose. | Some gurgling is a natural effect of the steaming process. For excessive gurgling or dripping water, point Steam Nozzle downward and shake thoroughly to remove excess water droplets. |
| Steam output is weak or intermittent. | Water level in Water Reservoir is running low. | Refer to Filling With Water procedure on Page 9 to refill unit with water. |
| Mineral build-up in unit. | Refer to Mineral Build-up section on Page 12 for cleaning procedure. |
REPLACEMENT ACCESSORIES
When ordering replacement accessories for your Everyday Fabric Steamer, you may refer to the part numbers below. Replacement accessories may be ordered through our Web site: www.steamfast.com You may also contact Consumer Service directly: [email protected] or 1-800-711-6617
Warranty Information
1 YEAR LIMITED WARRANTY
Steamfast, a division of Vornado Air LLC, (“Steamfast”) warrants to the original consumer or purchaser this Steamfast Everyday Fabric Steamer SF-407 (“Product”) is free from defects in material or workmanship for a period of one (1) year from the date of purchase. If any such defect is discovered within the warranty period, Vornado, at its discretion, will repair or replace the Product at no cost if the Product is returned to Steamfast postage-paid. Repairs not covered by the warranty or outside the warranty period will require a fee to cover the cost of materials, handling and shipping. This warranty does not apply to defects resulting from abuse of the Product, modification, alteration, repair or service of the Product by anyone other than Steamfast, mishandling, improper maintenance, commercial use of the Product, damages which occur in shipment or are attributed to acts of God. REPAIR OR REPLACEMENT AS PROVIDED UNDER THIS WARRANTY IS THE EXCLUSIVE REMEDY OF THE CONSUMER. STEAMFAST SHALL NOT BE LIABLE FOR ANY INCIDENTAL OR CONSEQUENTIAL DAMAGES FOR BREACH OF ANY EXPRESS OR IMPLIED WARRANTY ON THIS PRODUCT. EXCEPT TO THE EXTENT PROHIBITED BY APPLICABLE LAW, ANY IMPLIED WARRANTY OF MERCHANTABILITY OR FITNESS FOR A PARTICULAR PURPOSE ON THIS PRODUCT IS LIMITED IN DURATION TO THE DURATION OF THIS WARRANTY. Some states do not allow the exclusion or limitation of incidental or consequential damages, or allow limitations on how long an implied warranty lasts, so the above limitations or exclusions may not apply to you. This warranty gives you specific legal rights, and you may have other rights that vary from state to state. For warranty or repair service, call 1-800-711-6617 or email [email protected] to obtain a Return Authorization (“RA”) form. Please have or include your Product’s model number, date code and serial number, as well as your name, address, city, state, zip code and phone number when contacting Steamfast for warranty service. You may be required to provide the original sales receipt. For your records: Staple or attach your original sales receipt to this Owner’s Guide. Please also write your Product’s serial number below (located on product specs decal).
Questions or comments?
- www.steamfast.com
- [email protected]
- 1-800-711-6617
FAQS
“A steamer can still work on an item like cotton,” Valiente explains. “But it takes forever and it will never get wrinkles out of a cotton garment like an iron.
Distilled water is a crucial step in proper facial steamer care
Steamers with higher wattage typically heat up quicker and create a more powerful burst to de-wrinkle faster and handle thicker fabrics like denim
Don’t steam longer than 10 to 15 minutes for each session. However, you can repeat steam inhalation two or three times per day if you’re still having symptoms.
Don’t steam longer than 10 to 15 minutes for each session. However, you can repeat steam inhalation two or three times per day if you’re still having symptoms.
Why is my fabric steamer not working?
Mineral deposits can clog a clothes steamer over time
Who is the number 1 steamer?
We’ve tested dozens of steamers since 2016, and our current favorite is the Conair Turbo ExtremeSteam Garment Steamer
Are fabric steamers worth it?
Steaming is an effective way to get wrinkles out of almost any fabric
Are you supposed to touch clothes with a steamer?
Your clothes steamer should touch your garments
To get started, lightly touch your garment with the steamer’s nozzle – wrinkles should vanish
Balanzat recommends looking for steamers between 1,000 and 2,000 watts.
Pour one part vinegar and two parts water into the reservoir. Turn the iron on, and when it’s hot, hold it soleplate-side down
Silks, cottons, polyesters and wools can be steamed. Wax jackets, suede and things that can melt, like plastic, should be avoided.
A steamer can replace an iron if your intention is to remove wrinkles from fabrics, especially delicate fabrics that cannot be ironed like silk, woolens, and items with pleating.






























