
![]()

DRAW ALIGNER PRO
Pulling bracket
10-17 / 58-60
User manual
Translation of the original instructions
Draw Aligner Pro Pulling Bracket
Thank you for choosing GYS! In order to get the maximum satisfaction from your DRAW ALIGNER PRO and for your own safety, please read these instructions carefully before using the machine for the first time and keep them for future reference..
WARNINGS – SAFETY INSTRUCTIONS
GENERAL INSTRUCTIONS
This user’s manual includes instructions on how to operate your appliance and what precautions to take for your safety. Please read it carefully before using the device for the first time and keep it for future reference. Do not use this machine if any parts are missing or damaged. This product must not be modified in any way. Fasteners that are over- or under-torqued and susceptible to breakage, loosening or separation can lead to serious accidents. Unmounted components can become projectiles. Assemblies that require a specific torque should be checked with a torque gauge. If the markings indicating the rated load, working pressure or warning signs are illegible or missing, they must be replaced. Users and maintenance personnel must be physically capable of supporting the load, weight and power of the equipment when connected and must be able to carry out the work. This device is intended for professional use only.
INDIVIDUAL PROTECTION
To protect yourself and others, please observe the following safety instructions:
Wear protective gloves to limit the risks associated with vibration exposure. Repeated movement and exposure to vibrations can be harmful to both the hands and arms. In the event of numbness, itching, pain or discolouration of the skin, stop using the tool and consult a doctor.
Wear ear protection. Prolonged exposure to the noise of a pneumatic tool can lead to permanent hearing loss.
Wear safety shoes to avoid accidents in the event that parts fall or when assembling the machine.
WORK ENVIRONMENT
Slips, trips or falls are a major cause of serious injury or death. Pay attention to loose hoses on the floor. Always use the tool at a safe distance from people and objects around the work area. The DRAW ALIGNER PRO is intended for indoor use only in a well-lit environment on a flat surface.
DESCRIPTION OF THE DRAW ALIGNER PRO
The DRAW ALIGNER PRO is intended to be used for straightening cladding plates. It allows the operator to straighten the sheet metal not only at the bodywork level but also at the flange level. With its rotating pole, the DRAW ALIGNER PRO can be used to straighten sheet metal at various angles. The under-wheel support plate provides solutions for areas where underbody support is not possible.
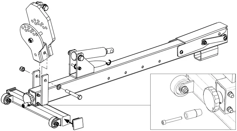
ASSEMBLY

M12x90 screw: 1
M12 lock nut: 1
M12 washer: 2
Assemble the vertical arm joint to the horizontal part of the screw bracket using the M12x90 screw and its corresponding nut.

M12x90 screw: 1
M12 lock nut: 1
Connect the vertical bar to the vertical arm joint using the M12x90 screw and nut. Position the angle adjustment pin to keep the pole vertical.

M14x60 screw: 1
M14 lock nut: 1
M14 washer: 2
Attach the spring and screw the cylinder in position to the vertical arm joint.

M12x85 screw: 1
M12 lock nut: 1
M12 washer: 2
Attach the metal part allowing the chain to pass through on to the horizontal part of the bracket.

Place the metal, pulling part on the vertical pole, using the rod provided.

Connect the pump to the bracket’s cylinder connection.

M20 lock nut: 1
Attach the under-wheel plate using the M20 nut.

M10x55 screw: 1
M10 lock nut: 1
Assemble the slider with the Ø 25mm tube.

M10x55 screw: 1
M10 lock nut: 1
Assemble the square bracket with the Ø 30 mm tube.

Position the stabiliser bar behind the pulling bracket.

APPLICATION
Firstly, rings must be welded or glued to the bodywork to allow the double claw foot chain to be attached. Pass a rod through the rings to allow the chain to be pulled through. The bracket can be positioned in two different ways on the vehicle to allow for easy pulling:

If the vehicle has a lip under the chassis, use the metal piece shown opposite to rest against the lip and lock the bracket in place during pulling. To do this, turn the crank on the back of the drawer aligner.

If the area to be straightened is near a wheel, you can use the plate by positioning the vehicle’s wheel on the plate. The plate swivels to position itself in the desired pull direction. If necessary, you can add a support using the telescopic extensions.

The DRAW ALIGNER PRO has a rotating pole to change the pull angle to suit the pulling situation.

SAFETY WHEN USING AND MOVING
Be aware of the risks when using the DRAW ALIGNER PRO. Before beginning to pull, always check the stability of the DRAW ALIGNER PRO. If you are using the support arms, make sure they are firmly in place against the underbody or wheel. With the plate under the wheel, ensure that the vehicle rests correctly on the plate. Never stand behind the chain when it is under tension. If it comes off, there is a high risk of injury.
This drawing bracket is intended to be used for straightening cladding plates. This bracket must not be used on structural components (sleeper blocks, B pillars, lower-body reinforcements), as these elements are made of high-strength, high-tensile steel and require a very high pulling force. Any damage to the product resulting from use that does not follow these recommendations will not be covered by the warranty.
Do not position the pump vertically as this may cause the pump to be deflated. Always place the pump on the ground when in use.
Do not stand behind the drawbar when it is in operation. Risk of serious injury.
MAINTENANCE
In order for the product to work at its best, it is important to perform regular maintenance according to the instructions below. The frequently that maintenance is carried out is based on normal use and a daily usage of eight hours. For more intensive use, the maintenance should be carried out more frequently.
- Check the condition of the chain and the pulling claw,
- Check the parts for possible cracks or wear,
- Check that the bolts are tight,
- Check the pump hose for damage,
- Check the oil level and top up if necessary,
- Check the tightness of the hydraulic connections.
Dusting can be done with an air gun before cleaning. Wash the DRAW ALIGNER PRO with a product suitable for painted, steel surfaces. Follow the cleaning product’s instructions. After cleaning, wipe the DRAW ALIGNER PRO with a cloth. Never use a highpressure sprayer as this can damage the paint.
TROUBLESHOOTING
Providing that the maintenance instructions have been followed, the DRAW ALIGNER PRO is designed for safe and effective useage. However, if you do encounter any operating problems, here is some advice. If problems persist, contact the repairer or the manufacturer.
If the DRAW ALIGNER PRO’s arm does not move when you operate the hand pump:
- Check that the pump’s control knob is fully tightened,
- Check that there is enough oil in the pump,
- Check that the pump is correctly connected to the jack cylinder.
TECHNICAL FEATURES
| Product weight when empty | 53 kg |
| Pulling capacity | 1.2 T |
| Height of product | 123 cm |
| Width of product | 39 cm / 116 cm |
| Depth of product | 116.5 cm / 165.6 cm |
| Storage temperature | 0°C to 60°C |
| Operating temperature | 5°C to 50°C |
WARRANTY
The DRAW ALIGNER PRO is covered by a two-year warranty from the date of shipment. The warranty covers defects in equipment and/or workmanship. This warranty is only valid if the maintenance has been carried out according to the instructions in this user manual. The warranty does not cover periodic maintenance, calibration or regular adjustments. Labour costs related to this type of operation are not covered. Incidents related to misuse or abuse may void the warranty.
DISMANTLING AND RECYCLING
To dismantle the DRAW ALIGNER PRO, refer to the section (Assembly steps) and reverse the order. The DRAW ALIGNER PRO must be disposed of in accordance with current environmental and disposal guidelines.
SYMBOLS
Warning ! Read the user manual before use.
This product should be recycled appropriately
GYS UK
Filiale / Subsidiary
Unit 3 Great Central Way
CV21 3XH – Rugby – Warwickshire United Kingdom
www.gys-welding.com
+44 1926 338 609
[email protected]


















