Condenser Microphone
Operating Instructions
A
B
Condenser Microphone
Before using the microphone, please read this manual thoroughly. This manual should be retained for future reference.
FOR UNITED STATES CUSTOMERS. NOT APPLICABLE IN CANADA, INCLUDING IN THE PROVINCE OF QUEBEC.
This device complies with Part 15 of the FCC Rules. Operation is subject to the following two conditions: (1) this device may not cause harmful interference, and (2) this device must accept any interference received, including interference that may cause undesired operation.
You are cautioned that any changes or modifications not expressly approved in this manual could void your authority to operate this equipment.
The validity of the CE marking is restricted to only those countries where it is legally enforced, mainly in the countries EEA (European Economic Area) and Switzerland.
Names and Functions of Parts (Fig.A)
(The numbers refer to the corresponding numbers in the figure.)
- Microphone
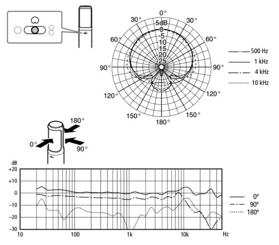
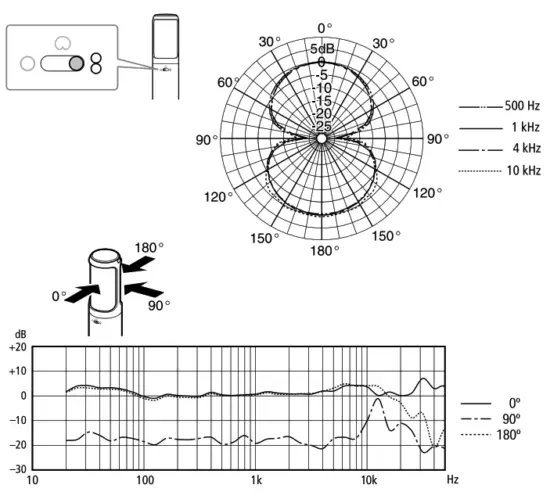
- Directivity (Polar pattern) switch

Uni-directional 
Omni-directional 
Bi-directional - PAD switch

Off 
On - LOW CUT switch
The low-cut filter reduces the wind noise effectively.
: Normal setting
: The low cut filter is applied. - Output connector (XLR-3-12C type)
The sound recorded with the microphone is output. The power is supplied to the microphone from external equipment through this connector when the microphone is operating on the external power supply. - Windscreen
Attach to the microphone (1) to reduce wind or breathing noise. - Cradle suspension
When using a microphone stand (not supplied), for example, attach the cradle suspension to the microphone. A stand adaptor is equipped to the cradle suspension. If you o does not plan on using the stand adaptor, detach it, and then attach it to a microphone stand (sold separately). - Ring
Be sure to rotate and fix the ring after the microphone is equipped to the cradle suspension. Unless done so, there is a risk the microphone will fall. - Stand adaptor
Power Supply
This microphone is powered only by an external power supply. Connect output connector (5) of the microphone to the microphone connector of a Phantom power supply (external power supply) or an audio mixer. For connection, use a microphone cable.
Note
An unbalanced cable cannot be connected to this microphone. Be sure to use a balanced microphone cable.
How to open the carrying case (Fig.B)
- Pull up the bottom hinge.*
- Pull down the upper hinge.*
* Release the other hinge in the same way. - Push up the lid.
• When closing the carrying case, be careful that your hands, etc. are not caught in it.
• Do not place a heavy object or sit on the carrying case.
Notes on Use
- Microphones are delicate. Do not drop or subject it to excessive shock.
- Avoid extended usage or storage in high humidity or temperatures above 60 °C (140 °F). It may cause noise or failure.
- If acoustic feedback occurs during use (a howling sound is heard from the speakers), point the microphone away from the speakers or increase the distance between the microphone and the speakers.
- It takes a few minutes for the output voltage to stabilize after changing the directivity switch. Use it after the output is stabilized.
- The microphone output signal is a balanced output. Unbalanced output is not supported, so be sure to connect it to the balanced input circuit.
- Since the microphone adopts an extremely high impedance circuit, if the switch is changed while the external power is on, it may emit induction noise, but this is not a
- The portion with “AUTO_PRESSURE_RELEASE” on the carrying case cannot be moved. Also, this does not guarantee its performance.
- A cable with the connector housing part connected to the ground wire (pin 1) is recommended for the microphone cable. Cables that are not connected to a ground wire ay emit noise. If a ground terminal is available, noise can be reduced by connecting to that terminal. Also, if used extending several microphone cables and the connector housing part touches the floor, noise may worsen.
Specifications
General
| Type | 2 Way Microphone (Condenser + Electret condenser) |
| Power supply | External power supply operation 44 V to 52 V DC (IEC* 61938 P48) |
| Power consumption | Less than 4.5 mA |
| Output connector | XLR-3-12C Type |
| Dimensions | 40 mm dia. × 175 mm (1.57 in. dia. × 6.89 in.) |
| Mass | Approx. 290 g (10.2 oz) |
| Supplied accessories | Cradle suspension (1) |
Performance
| Frequency response | 20 Hz – 50,000 Hz |
| Directivity | Uni-directional / Omni-directional / Bi-directional (switchable) |
| Output impedance | 90 Ω ±15%, balanced |
| Sensitivity | -31 dB (Uni-directional) -37 dB (Omni-directional) -35 dB (Bi-directional) (deviation±3 dB) (0 dB=1 V/Pa, 1 kHz) Maximum input sound pressure level More than 132 dB SPL (Uni-directional) More than 138 dB SPL (Omni-directional) More than 136 dB SPL (Bi-directional) (output level for 1% waveform distortion at 1 kHz, converted into equivalent input sound pressure level: 0 dB=2 × 10 -5 Pa) |
| Dynamic range | More than 113 dB (Uni-directional) More than 114 dB (Omni-directional) More than 114 dB (Bi-directional) |
| PAD | 0 dB/-10 dB (switchable) |
| LOW CUT filter | Flat/70 Hz (switchable) |
* IEC = International Electrotechnical Commission
Design and specifications are subject to change without notice.
Note
Always verify that the unit is operating properly before use. SONY WILL NOT BE LIABLE FOR DAMAGES OF ANY KIND INCLUDING, BUT NOT LIMITED O, COMPENSATION OR REIMBURSEMENT ON ACCOUNT OF THE LOSS OF PRESENT OR PROSPECTIVE PROFITS DUE TO FAILURE OF HIS NIT, EITHER DURING THE WARRANTY PERIOD OR AFTER THE EXPIRATION OF THE WARRANTY, OR FOR ANY OTHER REASON WHATSOEVER.
Frequency response and polar patterns



Condenser Microphone
Operating Instructions
©2018 Sony Corporation http://www.sony.net/
Printed in Japan


















