ActronAir SCG260E COMMERCIAL Split Ducted Unit

IMPORTANT NOTE:
Please read this manual carefully before installing or operating your air conditioning unit.
Introduction
CONGRATULATIONS on your purchase of an ActronAir air conditioning system! This unit has been designed and engineered to provide optimum air conditioning and to achieve maximum energy efficiency.
Your air conditioning system has been manufactured from the highest quality materials. Numerous “in house” and “external” inspection and test procedures were conducted to your air conditioning to ensure satisfactory operation.
- Information About This Guide
This guide provides installation instructions, specific to your split ducted indoor unit. Read this manual thoroughly and take into consideration all specifications and instructions to ensure correct installation and safe operation of your air conditioning system.
IMPORTANT
Keep this document for future reference. Ensure all technicians that work on the unit can refer to this manual at any time. - Product Inspections
Check your air conditioning unit and all items against the invoice upon receiving your shipment. Inspect the unit, components and accessories for any sign of damage. If there is any damage to the unit, contact ActronAir Customer Care Department immediately on: 1300 522 722 to obtain a Goods Return Number.
Check the unit nameplate to verify the model, serial number, electrical rated specifications are correct. - Codes, Regulations And Standards
The installer and/or contractor assumes responsibility to ensure that unit installation complies with the relevant council, state / federal codes, regulations and building code standards. All electrical wiring must be in accordance with current electrical authority regulations and all wiring connections to be as per electrical diagram provided with the unit. - Important Safety Symbols And Labels
Safety Symbols and labels appear at appropriate sections throughout this manual to indicate immediate or potential hazards. Pay full attention and comply to the safety information and instructions. Failure to follow safety instructions increases the risks of personal injury, death and/or property damage. Damages to the product as a result of such failure may void warranty.
ActronAir has endeavored to provide sufficient safety warnings and recommendations, however current and prevailing WH&S regulations must be observed and will take precedent whenever performing the installation instructions discussed in this manual.
Safety Instructions
- Only licensed HVAC technicians* should install and service this air conditioning equipment. Improper service or alteration by an unqualified technician could result in significant and major damage to the product or property which may render your warranty null and void. Such unqualified service could also lead to severe physical injury or death. Follow all safety instructions in this literature and all warning labels that are attached to the equipment.
- Prevailing WH&S regulations must be observed and will take precedence to the safety instructions contained on this manual. Safe work practices and environment must be the paramount importance in the performance of all the service procedures.
- Ensure that unit installation complies with relevant council regulations and building code standards.
- All electrical wiring must be in accordance with current electrical authority regulations and all wiring connections to be as per electrical diagram provided.
- Secure the fans against accidental contact. Beware of pinch point and sharp edges which can cause cutting injury.
- Always wear appropriate PPE, remove any dangling jewellery and protect long hair by wearing a cap.
- Make sure that safety guards and panel covers are always firmly secured and not damaged.
- This appliance is not intended for use by young children or infirm persons unless they have been adequately supervised by a responsible person to ensure that they can use the appliance safely. Young children should be supervised to ensure that they do not play with the appliance.
- Installer must incorporate a means of electrical disconnection (isolator) in the sub mains fixed wiring in accordance with the latest edition of the AS/NZS 3000 (also known as Australian Wiring Rules).
- Secure the power cords and control cables that goes in/out the unit. Use the cable ties provided in the control box.
- This unit is designed for use with R-410A refrigerant only.
Qualifications required will be appropriate Electrical, Refrigeration and Refrigerant Handling License and Training dependent on local State/Territory regulations.
DANGER
Hazardous Voltage – Risk of Electrocution.
TURN-OFF the power from main isolator before proceeding with any service work of the unit. Observe proper LOCK-OUT/TAG-OUT (LOTO) procedures for electrical appliances in order to prevent accidental switching on of the power supply. Extreme care and caution must be observed should there be a need to work on live circuit.
CAUTION
Beware of Rotating Fans!
Ensure that indoor and outdoor fans are isolated and have come to a complete stand still before servicing the equipment. Beware of pinch point and sharp edges which can cause cutting injury. Secure the fans against accidental contact.
Always wear appropriate PPE and remove any dangling jewellery and protect long hair by wearing a cap. Ensure that no loose clothing can be caught / entangled in moving parts.
VISUAL INSPECTION AND WORK ASSESSMENT
Work areas and conditions must first be assessed and evaluated for any potential hazardous conditions. It is also important to be familiar with the unit parts and components before proceeding with any service task.
WARNING
EC Motors are fitted with high power capacitors and can have dangerous residual voltages at motor terminals after power has been isolated. Wait at least 5 minutes after power isolation and test for any residual voltage before beginning service work.
Components Overview
Indoor Unit Components Overview
(SCG290E shown for illustration purposes only)

Indoor Unit Electrical Panel Overview
(SCG290E shown for illustration purposes only)

Unit Dimensions and Clearances


MINIMUM SERVICE ACCESS AREAS AND AIRFLOW CLEARANCES

SCG290E/SCA300E

| UNIT MODEL NUMBER | UNIT WEIGHT (kg) |
| SCG290E | 110 |
| SCA300E | 115 |
MINIMUM SERVICE ACCESS AREAS AND AIRFLOW CLEARANCES

SCA330E/SCA340E

| UNIT MODEL NUMBER | UNIT WEIGHT (kg) |
| SCA330E | 125 |
| SCA340E | 130 |
MINIMUM SERVICE ACCESS AREAS AND AIRFLOW CLEARANCES
NOTES:
- Do not scale drawing. All PROJECTION dimensions are in mm unless specified. Refer to corresponding unit dimensional drawing for mounting hole details.
- Service Access Areas and Spaces for Airflow Clearances are met. This is based on the condition that the spaces around the units
are free from any obstructions and a walkway passage of 1000mm between the units or between the unit and the outside perimeter is available. - Minimum Service Access Areas and Spaces for Airflow Clearances are responsibilities of the installer, ActronAir will not be held liable for any extra charges incurred due to lack of access and space for airflow.

SCG400E

| UNIT MODEL NUMBER | UNIT WEIGHT (kg) |
| SCG400E | 125 |
MINIMUM SERVICE ACCESS AREAS AND AIRFLOW CLEARANCES

Installation Instructions
The installation instructions provided below are intended as a guide only and does not supersede the relevant council, state and federal codes, regulations and building code standards. Compliance and consultation with the authorities having jurisdiction with the installation of this equipment is the responsibility of the installer. ActronAir will not be held liable for any damages or costs as a result of the installer’s failure to comply. Please refer to the matching outdoor unit Installation and Commissioning Guide for further information and details.
Lifting The Unit
The unit lifting procedure provided, adhere to WH&S regulations for safe and secure lifting practices in order to prevent physical injury.
Suggested lifting procedures are outlined as a reference guide to safely lift and transport the unit, however, this does not over rule the industry WH&S practices.
Location
This unit is intended for indoor installation only. It is highly recommended that this indoor unit and accessories, particularly zone barrels, be mounted in the roof cavity.
Mount the unit in a stable and rigid support wherein the weight is properly distributed, such as roof joist and rafters. Take into consideration the minimum service access clearances provided in the unit drawings.
Locate the indoor unit away from the areas where noise is a critical factor. Use rubber mounting pad (not supplied) in order to minimize the transfer of noise and vibration into building structures.
A hanging bracket assembly and rubber grommet are also available to secure the indoor unit into the roof rafters. This installation configuration is most suitable for installation that require the unit to be rigidly secured up from the roof joist.
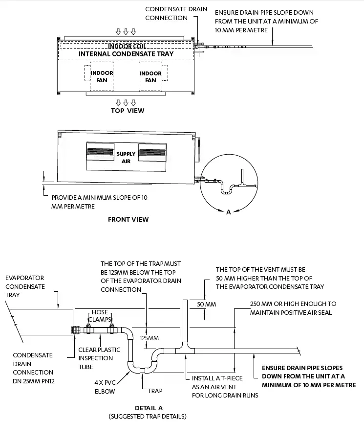
Condensate and Safety Tray Drainage
An integrated safety drain tray is provided as a standard inclusion to your indoor unit in order to reduce the potential of condensate damage to the roof. Drain Kit (not included on some units) is provided for the condensate drain to be externally trapped from the indoor unit. Suggested condensate and safety tray drainage instructions are provided at the proceeding page for your reference.
Supply Air and Return Air Duct
The indoor unit is supplied with duct flange as standard in order to facilitate the system’s duct connection into the unit. Supply and return air duct works must be adequately sized to meet the system’s air flow and static pressure requirements. Refer to the unit drawing for supply air and return air duct dimensions, specific to your requirement.
NOTE
Fit a flexible duct connection in between the unit and the duct system, where noise and vibration is a critical consideration.
Return Air Filter
Air filters must be provided in the return air side of the unit to maintain the efficiency and prolong the operation of the unit. These are also paramount to satisfy requirement for a clean and hygienic room condition. Return Air filters must be placed in an easily accessible location for service and maintenance.
NOTE
- Return Air filters are not supplied with the unit as individual air filtration requirements vary.
- Ensure that filters are cleaned / replaced regularly.
Fan Coil With Vertical Discharge (Optional)
An upright Fan Coil with vertical supply air discharge is also available wherein installation applications require the placement of the unit down in a closet, basement or garage. Please refer to the Technical Catalogue of your indoor unit for dimensions, installation details and specifications.
Field Pipe Connections
Specifications and installation requirements for field pipe connections are contained in the Installation and Commissioning Guide of the outdoor unit that matches your indoor unit. Please refer to this guide and thoroughly understand the procedures for safe and correct indoor and outdoor connection.
Field Electrical Connection
The power supply and control communication data to the indoor unit are supplied via the outdoor unit. Please refer to the wiring diagram supplied with the outdoor unit for specifications.
All electrical work must be performed by a licensed electrician and must conform with the wiring diagram and all relevant electrical authorities.
NOTE
This indoor unit is designed to match only with an ActronAir Series outdoor unit as specified in the Technical Selection Catalogue.
The unit is supplied with factory charged dry air. Be aware of the pressurised air charge when purging. Remove the caps from the connection points and purge the system only when the field pipe connections are ready to be completed.
All images in this document are for illustration purposes only.
Unit Lifting Procedures
Crane Lifting Method
WARNING
WH&S regulations must be observed and will take precedence during lifting process.
DANGER
Make sure rigging equipment, accessories and plant are sufficiently and safely capable to lift the unit in order to prevent potential damage to property, severe personal injury or death. Please check unit weight and weight distribution points on unit drawing dimensions section.
NOTES
- Crane lifting method is recommended for high rise lifting.
- Refer to catalogue for unit weight before selecting shackles and slings.
- Lifting procedure and unit model shown are suggestions and for illustration purposes only.
- It is highly recommended that installer observe current industry safe rigging and lifting procedure.

Equipment Required For Crane Lifting:
- 1 x shackle
- 2 x nylon slings
- 4 x rubber pads
NOTE
Refer to catalogue for unit weight before selecting shackles and slings.
Procedure:
- Slip nylon slings through the pallet as shown in Figure 1.
- Use Bow or Dee shackle to connect the slings.
- Ensure slings are protected by rubber pads or similar if slings are draped across unit edges, corners, or air grilles . This will prevent the unit from being damaged during lifting.
- Test lift the unit to determine exact unit balance and stability before hoisting it to the installation location.
Fork Lift Method

Procedure:
- To move the unit around with a forklift, insert the fork tines through the unit feet assembly, as shown in Figure 2.
- Do not lift the unit through the electrical panel end of the unit (See illustration for location of electrical panel end).
CAUTION
Length of fork lift tines must pass the unit middle section, in order to safely carry the unit.
Safety Drain Tray
NOTES
- Refer to indoor unit dimension page for specification of drain connectors.
- Test condensate drain installation to ensure that water flows freely and does not leak. Also check that the drain tray does not overflow. Parts for the Condensate Trap are not supplied with the unit.

Electrical Installation
All electrical work must be carried out by a qualified technician. Make sure all wiring is in accordance with local wiring rules. Wiring connections should be made in accordance with the wiring diagram provided.
DANGER
Live Electrical Supply !
- During installation of your air conditioning unit, it may be necessary to work in close proximity to live electricity. Only qualified technicians are allowed to perform these tasks.
- Follow all electrical safety precautions when exposed to live electrical components.
- Always make sure that all power supply, including remote controls, are disconnected before performing maintenance. Observe proper LOCK-OUT / TAG-OUT (LOTO) procedures to ensure that power cannot be inadvertently energised. Failure to disconnect power before maintenance procedure can result in serious injury or death.
- All electrical wiring must be in accordance with the relevant electrical authority rules and regulations.
CAUTION
STATIC-SENSITIVE ELECTRONIC DEVICES !
- DO NOT handle electronic devices unless you are wearing an Anti-Static Wrist Strap that is connected to a GOOD EARTH. Failure to protect the electronic devices from static electricity may cause unrepairable damage.
- Static damaged electronic devices are NOT COVERED for replacement under warranty.
Wiring Diagram
The wiring diagrams specific for your air conditioning system are located on the inside panel of the electrical access panel. Always refer all wiring installation, servicing and troubleshooting of this equipment to this diagram to ensure correct electrical connections are satisfied.
Supply Power Requirements and Procedures
It is the installer’s responsibility to provide power supply wiring to the sub-mains isolator. Wiring should conform to the current electrical authority regulations and all wiring connections to be as per electrical diagram provided with the unit.
- Confirm that the power supply available is compatible with the unit nameplate ratings. The supply power must be within +10% to -6% of the rated voltage as per AS60038.
- Protect electrical service from over current and short circuit conditions in accordance with the latest edition of the AS/NZS 3000 “Australian / New Zealand Wiring Rules”. Protection devices are to be sized according to the electrical specifications of the unit.
- Complete the indoor unit power supply and control wiring to the outdoor unit as per unit wiring diagram.
- Secure the power cords and control cables that enters in/exits the unit. Use the cable ties provided in the electrical panel.
- Provide proper unit earthing in accordance with local and national wiring rules.
Split Unit Electrical Connection
NOTE
To minimise noise interference, Data and Power cable clearance should be maintained as much as possible.
DETAILED WIRING DIAGRAM IS PROVIDED WITH THE UNIT.
Outdoor Unit: Located at the back of electrical/compressor access panel. Indoor Unit: Located at the back of electrical box cover.

| Circuit Breaker Size and Cable Size Requirement | |||
|
Model | Circuit Breaker Size | Cable Size * (mm²) | |
| Amps | MAIN | O.D. to I.D. | |
| SCA260C / SCG260E | 32.0 | 6.0 | 1.0 |
| SCA290C / SCG290E | 32.0 | 6.0 | 1.5 |
| SCA300C / SCA300E ** | 32.0 | 6.0 | 1.0 |
| SCA330C / SCA330E ** | 32.0 | 6.0 | 1.0 |
| SCA340C / SCA340E ** | 32.0 | 6.0 | 1.0 |
| SCA400C / SCG400E | 50.0 | 10.0 | 2.5 |
Suggested Minimum Cable Size should be used as a guide only. Larger size cables may be required dependent on installation method,length of cables and ambient temperature. Refer to the latest edition of the AS/NZS 3000 “Australian / New Zealand Wiring Rules” for more details.
Refer to unit wiring diagram for further clarity of required cables for single and dual speed indoor fan operation.
UPDATED WIRING DIAGRAM IS PROVIDED WITH THE UNIT.
Outdoor Unit: Located at the back of electrical/compressor access panel. Indoor Unit: Located at the back of electrical box cover.
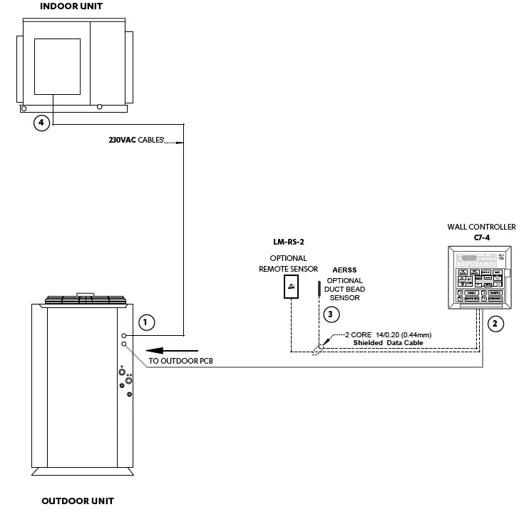
Control Cable Length and Specification

| ITEM | DESCRIPTION | MAXIMUM CABLE LENGTH * ^ |
| 1 to 2 | Outdoor PCB to Master Controller | 50 m (60 m without CZ-1) |
| 1 to 4 | Outdoor PCB to Indoor Fan (230VAC) | 50 m |
| 2 to 3 | Master Controller to Remote Sensor (Max. of 2 Optional Sensors) | 50 m each |
Suggested Maximum Cable Length.
Long runs beside Mains cables or TV antenna cables should be avoided where possible, 2 CORE 14/0.20 (0.44mm) Shielded Data Cable must be used. Total Cumulative length of all the aggregate cable lengths must not exceed 500 meters. Consult ActronAir ® for longer cable length requirement.
NOTE
Diagram shown above is a general presentation only. Refer to individual unit wiring diagram for complete wiring connection details.
Standard Indoor Fan Commissioning
Models: SCA300C/SCA300E SCA330C/SCA330E SCA340C/SCA340E
NOTE
- Commissioning of indoor fan should be carried out by a qualified/licensed installer or service technician.
- Make sure that all instructions are followed accordingly.
- Ensure that connecting duct work and air filters are properly installed.
Fan Adjustment Procedure:
- By default, the factory setting for the standard indoor fan is 2-Speed as shown in the diagram and table below:

As an example, SCA300C / SCA300E condenser CPU Board and Indoor Fan connections are shown. - An option to choose a 1-Speed Setting is available for the End User/Customer. This can be done by setting the DIP switch to SINGLE SPEED INDOOR FAN , as shown below. The factory default setting is shown on the following table:

NOTE
When the Indoor Fan DIP switch setting on the Condenser CPU Board is set to SINGLE SPEED INDOOR FAN , the Indoor Fan output on the Condenser CPU Board is always from the HIGH terminal output. - An option is also available for the End User/Customer to choose any speed by re-wiring the Indoor Fan. For example: SCA300C/SCA300E 2-Speed setting is changed from Medium and Low to High and Medium, is shown below:

- Optional Manual Inputs are another control option available to run the units, which can be done by setting the DIP switch to MANUAL INPUTS , as shown below.
As an example, SCA300C / SCA300E condenser CPU Board and Indoor Fan connections are shown. The factory default settings are as shown in the table below:
NOTE
When the Indoor Fan DIP switch setting on the Condenser CPU Board is set to MANUAL INPUTS , the Indoor Fan speed will only be a SINGLE SPEED INDOOR FAN . And the Indoor Fan output on Condenser CPU Board will always be from the HIGH terminal output. - The End User/Customer has also an option to change the Indoor Fan speed for the Optional Manual Inputs by re-wiring the Indoor Fan. Refer to Step 3.
EC Indoor Fan Commissioning
Models: SCA260C/SCG260E SCA290C/SCG290E SCA400C/SCG400E
NOTES
- Commissioning of EC fan should be carried out by a qualified/licensed installer or service technician. Make sure that all instructions are followed accordingly.
- Ensure that connecting duct work and air filters are properly installed.
Fan Adjustment Procedure:
- Locate CPI Fan Controller :
Split SySplit Syststems – Indoems – Indoor Unit’or Unit’s Eles Elecctrictrical Bal Booxx - Turn ON the unit thrurn ON the unit through the installeough the installed wall contrd wall controller or thermostatoller or thermostat.

- Using the fan table provided, select the corresponding fan %PWM by plotting the external static pressure requirement (duct static pressure) and nominal airflow requirement of the unit. (Data may need to be calculated to get the desired value).
- Using slotted sd screwdriver adjust CPI driver adjust CPI board 0-d 0-99% P99% PWM output by rM output by rotating the potting the potentiometer ter to obtain the deo obtain the desirsired %P%PWM. Rotat. Rotate cloe clockwise te to intro increase the %Pe the %PWM and count and counter-er-cloclock te to loo lowwer the %Per the %PWM..

NOTES
- LED will show PWM without %.Example: 71% PWM = 71 in LED.
- LED adjustments are in 1 digit increment.
Jumper Pin Position and CPI% PWM Range
Table below shows factory default jumper position to corresponding air conditioning models to limit fan operating range. Refer to specific fan performance data and fan curve on next page for factory default fan setting.
| (CPI) INDOOR FAN VARIABLE SPEED BOARD MATRIX ACTRON PART NO. 2020-101 | ||||
| MODELS | JUMPER PIN POSITION | CPI % PWM RANGE | ||
| MINIMUM | NOMINAL | MAXIMUM | ||
| SCA400C/SCG400E | A | 53 | 71 | 95 |
| N/A | B | — | — | — |
| N/A | C | — | — | — |
| N/A | D | — | — | — |
| SCA290C/SCG290E | E | 51 | 61 | 94 |
| SCA260C/SCG260E | F | 55 | 78 | 99 |
Indoor Fan Table and Fan Curve
SCA260C/SCG260E

NOTES
W = Indoor Fan Power (Watts)
PWM = Pulse Width Modulation Setting, % PWM (Adjustable through CPI3-1 Board located in electrical panel).Factory PWM Setting = 78 % PWM for 100 Pa. – Data in the box indicates Factory Default Setting.
Performance Fan Curve shown is at Dry Coil Condition. Airflow should be reduce with respect to the moisture content in the air. All data provided does not include filters. Please review filter manufacturer for application. 2.5 m/s face velocity point will occur at 1400 l/s.

INDOOR UNIT FAN CURVE

SCA290C/SCG290E

NOTES
W = Indoor Fan Power (Watts)
PWM = Pulse Width Modulation Setting, % PWM (Adjustable through CPI3-1 Board located in electrical panel).Factory PWM Setting = 61 % PWM for 100 Pa. – Data
in the box indicates Factory Default Setting.
Performance Fan Curve shown is at Dry Coil Condition. Airflow should be reduce with respect to the moisture content in the air. All data provided does not
include filters. Please review filter manufacturer for application. 2.5 m/s face velocity point will occur at 1625 l/s.

INDOOR UNIT FAN CURVE

SCA400C/SCG400E

NOTES
W = Indoor Fan Power (Watts)
PWM = Pulse Width Modulation Setting, % PWM (Adjustable through CPI3-1 Board located in electrical panel).Factory PWM Setting = 71 % PWM for 100 Pa. – Data
in the box indicates Factory Default Setting.
Performance Fan Curve shown is at Dry Coil Condition. Airflow should be reduce with respect to the moisture content in the air. All data provided does not
include filters. Please review filter manufacturer for application. 2.5 m/s face velocity point will occur at 2578 l/s.

INDOOR UNIT FAN CURVE

Maintenance Frequency Checklist
Regular servicing of equipment by a qualified technician is recommended every 12 months for residential applications and every quarter for commercial applications. Regular servicing of your unit helps in maintaining its optimum performance and reliability. The following checklist and service periods are provided as a guide only, as some sites may require more frequent servicing.

Key Parts List
| DESCRIPTION | PART NUMBER | SCG260E | SCG290E | SCA300E | SCA330E | SCA340E | SCG400E |
|
Indoor Fan | 2520-313 | 1 | — | — | — | — | — |
| 2520-329 | — | 1 | — | — | — | — | |
| 2520-324 | — | — | 1 | 1 | 1 | — | |
| 2520-327 | — | — | — | — | — | 1 | |
| Indoor Control Board – CPI | 2020-101 | 1 | 1 | — | — | — | 1 |
| ECM Filter | 4080-013 | 1 | 2 | — | — | — | 2 |
| Metering Device – (0.100”) Piston | 4080-100 | 1 | — | — | — | — | — |
| Metering Device – (0.0820”) Piston | 4540-082 | — | 2 | — | — | — | — |
| Metering Device – (0.0846”) Piston | 4540-084 | — | — | 2 | — | — | — |
| Metering Device – (0.0880”) Piston | 4540-088 | — | — | — | 2 | — | — |
| Metering Device – (0.0906”) Piston | 4540-090 | — | — | — | — | 2 | — |
| Metering Device – (0.0945”) Piston | 4540-094 | — | — | — | — | — | 2 |
actronair.com.au
1300 522 722
©Copyright 2020 Actron Engineering Pty Limited ABN 34 002767240. ®Registered Trade Marks of Actron Engineering Pty Limited.
ActronAir is constantly seeking ways to improve the design of its products. Therefore, specifications are subject to change without notice.
Document: 0525-057 Ver. 4 Issue Date: 07/2021























