BATAVIA BT-NXS003 NEXXSAW 12 V Compact Cordless Chainsaw

Overview
- Saw chain
- Guide bar
- Riving knife
- Head screw
- Sprocket cover
- Ventilation slots
- Safety switch (power lock-off)
- ON/OFF Switch
- Handgrip
- Hand guard
- Charge indicator button
- Battery release button
- Battery
- Base plate
- Chain adjusting screw
- Guide bar cover
- Red LED
- Green LED
- Charger
- Adjustment key
- Chain adjusting screw pin (see Fig. C)

- Sprocket (see Fig. D)


![]() | The charger is plugged into an electrical outlet. |
![]() | The battery is being charged. |
![]() | The battery is fully charged. |
Dear customer
Please familiarize yourself with the proper usage of the device by reading and following each chapter of this manual, in the order presented. Keep these operating instructions for further reference.
Please read the enclosed “General safety instructions for power tools” and all additional safety instructions in this operating instructions!
This manual contains important information on operating and handling the device. Keep these operating instructions for further reference. Please pass it on along with the unit if it is handed over to a third party.
Explanation of the symbols
The following symbols are used in the user manual or on the product
![]() | Warning! To reduce the risk of injury, the user must read the instruction manual. |
![]() | Denotes risk of personal injury, loss of life or damage to the tool in case of non-observance of the instructions in this manual. |
![]() | Always wear hearing protection. The effects of noise can cause hearing loss. |
![]() | Wear safety glasses. When working with electric power tools, sparks, splinters, chips and dust particles may be generated and these can cause loss of sight. |
![]() | Wear protective headgear. |
![]() | Wear safety gloves. |
![]() | Wear sturdy shoes. |
![]() | Do not expose to rain or water. |
![]() | Beware of kickback. |
![]() | Keep sufficient distance to electrical power lines. |
![]() | CE stands for “Conformity Euro penne”, which means “In accordance with EU Regulations”. With the CE marking, the manufacturer confirms that this Electric tool complies with the applicable European directives. |
![]() | Do not dispose of electric power tools with domestic refuse. |
Additional safety instructions for Nexxsaw
- The Nexxsaw is designed for cutting branches. Only use the Nexxsaw as indicated in this manual for cutting wood. The machine has not been designed for continuous, professional use.
- Keep the Nexxsaw out of reach of children. It is not a toy.
- Persons with limited physical, sensorial or mental abilities are not allowed to use the Nexxsaw, unless they are supervised for their safety by a qualified person or are briefed by the responsible person how to use the machine.
- Children and adolescents are not allowed to use the Nexxsaw. Excluded from this prohibition are young people over 16 years of age under the supervision of an expert for the purpose of training.
- Please note the warning symbols. They mark all those instructions which are important for safety reasons. Observe these instructions as failure to do so could result in serious injury!
- The Nexxsaw must be used only by one person at a time. Make sure bystanders do not stay in the vicinity of the Nexxsaw’s work area.
- Check the safe operating condition of the Nexxsaw, in particular the guide bar and the saw chain, before each operation.
- Always have a safe stand when working with the saw.
- Hold the machine firmly and securely when switching on.
- Make sure the guide bar and the saw chain must be free when switched on and must not come into contact with the workpiece to be cut.
- Keep your hands away from the sawing area. Do not reach under the workpiece. Contact with the saw chain may result in injury.
- Guide the Nexxsaw onto the workpiece only when switched on. Otherwise there is a risk of kickback if the saw chain gets caught in the workpiece.
- When sawing, the base plate must always face against the workpiece. The saw chain can become jammed and lead to loss of control over the machine.
- When the cut is completed, switch off the machine and then pull the saw chain out of the cut only after it has come to a standstill. This way you can avoid kickback.
- Clamp the material to be processed well. Do not support the workpiece with your hand or foot. Do not touch objects or the floor with the saw running. Danger of kickback.
- When sawing converted timber and thin branches always use a strong support, such as a sawing trestle. Do not stack timber pieces.
- Before cutting logs, secure the logs in position.
- When working on sloping ground, make sure to work facing upwards.
- Be particularly careful when cutting splintered wood. Splinters of wood can be torn along by the saw chain and increase the risk of injury!
- Foreign objects such as nails, screws, metal parts, sand, etc. lead to increased wear on the guide bar and saw chain.
- A blunt saw chain can cause overheating and damage to the motor.
- Always pull out the battery when checking the chain tension, to re-tighten it, to mount the saw chain and to eliminate faults! Also remove the battery if you do not use the machine temporarily.
Safety instructions for multi saws
General multi saw safety warnings
- Keep all parts of the body away from the saw chain when the multi saw is operating. Before you start the multi saw, make sure the saw chain is not contacting anything. A moment of inattention while operating multi saws may cause entanglement of your clothing or body with the saw chain.
- Hold the multi saw by insulated gripping surfaces only, because the saw chain may contact hidden wiring. Saw chains contacting a “live” wire may make exposed metal parts of the multi saw “live’” and could give the operator an electric shock.
- Wear eye protection. Further protective equipment for hearing, head, hands, legs and feet is recommended. Adequate protective equipment will reduce personal injury from flying debris or accidental contact with the saw chain.
- Always keep proper footing and operate the multi saw only when standing on fixed, secure and level surface. Slippery or unstable surfaces may cause a loss of balance or control of the multi saw.
- When cutting a limb that is under tension, be alert for spring back. When the tension in the wood fibres is released, the spring loaded limb may strike the operator and/or throw the multi saw out of control.
- Use extreme caution when cutting brush and saplings. The slender material may catch the saw chain and be whipped toward you or pull you off balance.
- Carry the multi saw by the handle with the multi saw switched off and away from your body. When transporting or storing the multi saw, always fit the guide bar cover Proper handling of the multi saw will reduce the likelihood of accidental contact with the moving saw chain.
- Follow instructions for lubricating, chain tensioning and changing the bar and chain. Improperly tensioned or lubricated chain may either break or increase the chance for kickback.
- Cut wood only. Do not use multi saw for purposes not intended. For example: do not use multi saw for cutting metal, plastic, masonry or non-wood building materials. Use of the multi saw for operations different than intended could result in a hazardous situation.
- This multi saw is not intended for tree felling. Use of the multi saw for operations different than intended could result in serious injury to the operator or bystanders.
- Follow all instructions when clearing jammed material, storing or servicing the multi saw. Make sure the switch is off and the battery pack is removed. Unexpected actuation of the multi saw while clearing jammed material or servicing may result in serious personal injury.
Causes and operator prevention of kickback
Kickback may occur when the nose or tip of the guide bar touches an object, or when the wood closes in and pinches the saw chain in the cut. Tip contact in some cases may cause a sudden reverse reaction, kicking the guide bar up and back towards the operator. Pinching the saw chain along the top of the guide bar may push the guide bar rapidly back towards the operator. Either of these reactions may cause you to lose control of the saw which could result in serious personal injury. Do not rely exclusively upon the safety devices built into your saw. As a multi saw user, you should take several steps to keep your cutting jobs free from accident or injury. (See Fig. B). Kickback is the result of multi saw misuse and/or incorrect operating procedures or conditions and can be avoided by taking proper precautions as given below:
- Maintain a firm grip, with thumb and fingers encircling the saw handle and position your body and arm to allow you to resist kickback forces. Kickback forces can be controlled by the operator, if proper precautions are taken. Do not let go of the saw.
- Do not overreach and do not cut above shoulder height. This helps prevent unintended tip contact and enables better control of the multi saw in unexpected situations.
- Only use replacement guide bars and saw chains specified by the manufacturer. Incorrect replacement guide bars and saw chains may cause chain breakage and/or kickback.
- Follow the manufacturer’s sharpening and maintenance instructions for the saw chain. Decreasing the depth gauge height can lead to increased kickback.
Additional safety instructions for batteries and chargers
Please note the included General Safety Notes and the following safety notes to avoid malfunctions, damage or physical injury:
Batteries
WARNING: Improper battery use may result in a fire, explosion, or other hazard.
WARNING: The battery fluid may cause personal injury or damage to property. In case of skin contact, immediately rinse with water. If redness, pain or irritation occurs seek medical attention. In case of eye contact, rinse immediately with clean water and seek medical attention.
- Never attempt to open for any reason.
- Do not expose the battery to water.
- Do not expose the battery to heat.
- Do not store in locations where the temperature may exceed 40 °C.
- Keep batteries away from children.
- Charge only at ambient temperatures between 10 °C and 40 °C.
- Charge only using the charger provided with the appliance/tool.
- Use power tools only with specifically designated battery packs. Use of any other battery packs may create a risk of injury and fire.
- When disposing of batteries, follow the instructions given in the section “Disposal”.
- Do not damage/deform the battery pack either by puncture or impact, as this may create a risk of injury and fire.
- Do not charge damaged batteries.
- Take special care of the battery. Avoid dropping it onto any hard surface and do not subject it to pressure or any other form of mechanical stress. Keep the battery away from extreme heat and cold.
- Important Danger! Never short-circuit the battery or expose it to moisture. Do not store it together with any metal parts which could short-circuit the contacts. The battery could overheat, start burning or explode.
Under extreme conditions, battery leakage may occur. When you notice liquid on the batteries, proceed as follows: Carefully wipe the liquid off using a cloth. Avoid skin contact. In case of skin or eye contact, follow the instructions below.
Chargers
Your charger has been designed for a specific voltage. Always check that the mains voltage corresponds to the voltage on the rating plate.
WARNING
- When not in use and before cleaning and servicing, disconnect the battery charger from the power supply.
- Never attempt to replace the charger unit with a regular mains plug.
- Use your charger only to charge the battery in the appliance/tool with which it was supplied. Other batteries could burst, causing personal injury and damage.
- Never attempt to charge non-rechargeable batteries.
- If the supply cord is damaged, it must be replaced by the manufacturer or an authorized Service Centre in order to avoid a hazard.
- Do not expose the charger to water
- Do not open the charger.
- Do not probe the charger.
- The appliance/tool/battery must be placed in a well ventilated area when charging.
- The charger is intended for indoor use only.
Before the first use
Remove the machine and all accessories from the package. Keep the packaging materials out of the reach of small children. There is a danger of suffocation!
Contents of packing
- 1× Nexxsaw
- 1× Bar protector
- 1× L screwdriver
- 1× Battery
- 1× Charger
- 1× Instruction manual
Intended use
- The Nexxsaw has been exclusively designed for cutting branches. The saw is not intended for continuous commercial use.
- The intended use also includes an operation following the operating instructions.
- Any use beyond these parameters (different media, applying force) or any changes (reconstruction, no original accessory) can lead to serious risks and is regarded as use that is contrary to the intended purpose.
Use
Operation of Lithium-Ion Batteries
Lithium-ion batteries share many characteristics with conventional batteries. The major difference is that Lithium-ion batteries do not have a “memory” and do not require to be completely discharged periodically. It is recommended to charge Lithium-ion batteries after each use so they will be fully charged when needed. Lithium-ion batteries perform best and deliver peak output power at room temperature. When operated in lower temperatures, the battery output will be reduced.
Note: A fully charged battery will loose about 2% of its charge per month during storage.
Before use
The battery must be charged before using it for the first time.
Removing the battery from the machine
(See Fig. A).
- Push the battery release button (12) and pull the battery (13) out of the machine.
WARNING: Do not try to remove the battery without pressing the battery release button. The drill or battery could be damaged.
Inserting the battery into the machine
Ensure that the exterior of the battery is clean and dry before connecting to the charger or machine.
- Insert the battery (13) into the machine, push the battery further forward until it clicks into place.
Note: Make sure the battery and machine are lined up correctly. If the battery does not slide onto the machine easily, don’t force it. Instead, remove the battery; check the top of battery and the machine slot are clean and undamaged and that the contacts are not bent.
Charging the Battery
WARNING: Failure to follow the correct procedure when charging batteries will result in permanent damage.
- Plug the charger plug into an electrical outlet. The green LED indicator (18) on the charger (19) will lighten up.
- Slide a battery (13) onto the battery charger (19).
- Once charging commences, the red LED (17) will illuminate.
- When the battery is fully charged, the green LED (18) will illuminate.
Note: Make sure the battery and battery charger are lined up correctly. If the battery does not slide onto the battery charger easily, don’t force it. Instead, remove the battery; check the top of battery and the battery charger slot are clean and undamaged and that the contacts are not bent.
Battery Charge Level
The battery has a built-in charge indicator. Pressing on the button (11) to the right will indicate the charge level.
IMPORTANT: When a low charge level is indicated be aware the tool may stop operating while using the tool. In some instances this may be dangerous. It is recommended to always ensure the battery pack has a good charge level.
Notes about Battery Charging
- Let a hot battery cool down before charging it.
- The battery should be charged at ambient temperatures between 10 °C and 40 °C (ideally around 20 °C).
- After charging, allow 15 minutes for the battery to cool before use.
- Ensure that the charger is disconnected from the mains supply after use, and is stored correctly.
- Do not leave batteries on charge for extended periods and never store batteries on charge.
- The battery charger monitors battery temperature and voltage while charging. Remove the battery once charging has been completed to maximize charge cycles of the battery and not waste power.
- Do not store Lithium-Ion battery packs in a discharged state long term. This can damage the Lithium-Ion cells. For long term storage, store batteries in a high charge state disconnected from the power tool.
- The capacity of batteries will reduce over time. After 100 charge cycles, the battery’s operation time and the maximum torque performance of the tool will slightly reduce. This decline will continue until the battery has minimal capacity after 500 charge cycles. This is normal and not a fault with the battery pack.
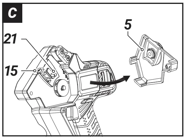
Mounting the saw chain
(See Fig. C, D, E).



Always wear gloves when handling the saw chain.
- Unscrew the head screw (4) counter-clockwise in order to remove the sprocket cover (5).
- Remove the guide bar from the machine and run the saw chain around it. Please note the running direction of the saw chain. The saw chain icon is shown on the cover.
- Run the saw chain over the sprocket (22) and replace the guide bar on the chain adjusting screw pin (21).
- Use an oiler to oil the saw chain and the sprocket
- Slightly tighten the saw chain with the chain adjusting screw (15). Use the included adjustment key (20) to tighten the screw. For tightening, turn the screw clockwise.
- Re-tighten the sprocket cover (5) with the head screw (4) on the housing.
Chain lubricating oil
- Only use commercially available, biodegradable chain oils.
- Do not use engine oil, waste oil or other mineral oils.
- If the saw makes a rattling noise, the chain must be lubricated.
Adjusting saw chain tension
(See Fig. C)
CAUTION: Do not tighten the saw chain too much. Excessively high tension of saw chain may cause breakage of saw chain, wear of the guide bar and breakage of the sprocket.
CAUTION: A chain which is too loose can jump off the guide bar. The saw chain may become loose after use. From time to time check the saw chain tension, certainly before each use.
- Remove the battery.
- Loosen the head screw (4) a bit to loosen the sprocket cover lightly.
- Adjust the chain tension. Turn the chain adjusting screw (15) clockwise to tighten, turn it counter-clockwise to loosen. Tighten the saw chain so that the gap between the center of the lower side of the guide bar and the saw chain becomes approximately 3 – 4 mm.
- Tighten the head screw (4) to secure the sprocket cover
Switching ON and OFF
The use of the Nexxsaw without lubricating the chain with chain oil will damage the saw chain and the guide bar.
- Insert the battery into the battery recess.
- Hold the Nexxsaw firmly and securely by the handgrip.
- To switch on the Nexxsaw, first press the safety switch (7).
- Then press the ON/OFF switch (8).
- To switch off the saw, release the ON/ OFF switch.
Break-in time for new saw chains
- Remove the battery and adjust the chain tension.
- Switch on the Nexxsaw and leave the motor running idle for approx. 5 minutes.
- Remove the battery and check the chain tension again. If necessary, re-tighten the chain.
- Afterwards make only easy cuts for approx. 30 minutes. Always ensure sufficient lubrication of the saw chain! Only use the Nexxsaw for heavier cuts and greater cutting depths after the running-in period has expired.
- Use only a sharp saw chain. A blunt saw chain can jam more easily. Check the chain tension more frequently when working with a new saw chain, as the chain stretches more at first.
- The service life of a saw chain depends on sufficient lubrication and the correct tension.
- During operation, the chain heats up and re-tensioning may be necessary. Relax the chain after work so that it is not too tight the next time the cold machine is used.
- Do not re-tighten saw chains that have become too hot. After it has cooled down, it may contract and lie too tight against the guide bar. Wait until the saw chain has cooled down before re-tensioning.
- The tension of the saw chain is important for your safety and the function of the machine. A correctly tensioned saw chain increases the service life of the machine.
- Check the chain tension before each use.
- The saw chain is correctly tensioned if it can be pulled around the sword by hand (wear protective gloves) without sagging.
- With new saw chains, you must readjust the chain tension again after a short period of operation.
Work instructions
- Never reach over the riving knife (3) or under the base plate (14). There is a risk of injury!
- Do not start the saw if the saw chain is in contact with the workpiece, is in the workpiece or can hit an object. This can lead to serious injuries.
- Clamp loose workpieces before cutting them. Remove foreign objects such as nails, screws, etc.
- When cutting a branch that is under tension be alert for spring back. When the tension in the wood fibers is released, the spring-loaded limb may strike the operator and/or throw the Nexxsaw out of control.
- Use extreme caution when cutting brush and saplings. The slender material may catch the saw chain and be whipped toward you or pull you off balance.
- When the saw chain is running, first place the base plate (14) on the surface of the workpiece and let the saw cut on its own. Apply only light pressure to the saw. The chain speed should not be much slower.
Changing the saw chain
- Only handle the saw chain with gloves and remove the battery first!
- Inspect the saw chain and the guide bar for damage or signs of wear.
- Never put a new saw chain on a worn guide bar.
- Let each new saw chain break-in first!
- When attaching the saw chain, observe the running direction!
Kickback
- The shape of the riving knife (3) largely eliminates the risk of kickback.
- The saw is optimally protected against kickback by the riving knife with tip protection. Never remove the riving knife (3). There is a risk of injury!
- The saw teeth must be sharpened if the sawdust becomes powdery, if additional force is required for the incision, if a straight incision is no longer possible or if the vibrations become stronger.
- Blunt saw chains should be re-sharpened.
- To sharpen the chain use a chain sharpener, make sure you sharpen the chain at a 30° angle.
- Or have the chain re-sharpened professionally (advised).
- Replace the saw chain if there is considerable damage that cannot be repaired by filing.
Cleaning the guide bar
(See Fig. F)
- Thoroughly clean the notch of the guide bar.
- Replace the guide bar if the guide groove is damaged or worn and the saw chain has too much lateral space.
Maintenance, cleaning and storing
For best performance, always keep the saw chain and the Nexxsaw in good order. Remove the battery pack from the tool before carrying out any adjustment, servicing or maintenance.
- Clean the sprocket area with a brush or compressed air. (See Fig. G).

- Use a cloth, a paintbrush or a brush to remove dust and wood splinters. Always keep the ventilation slots clean and free from obstructions.
- We recommend that you clean your electric power tool immediately after each use.
- Clean the electric power tool regularly with a damp cloth and somewhat soft soap. Do not use any cleaning or solvent materials; these can attack the device’s plastic components. Make sure that no water can get inside the electric power tool.
- Do not let liquids of any kind enter the Nexxsaw.
- From time to time check that all screws are firmly secured.
- Store the Nexxsaw and the accessory indoors in a dry place that is protected from dust, dirt and extreme temperatures.
- Store the Nexxsaw out of reach of children and persons in need of supervision.
Technical data
Battery voltage: . . . . . . . . . . . . . . . .12 V Li-Ion
No load speed: . . . . . . . . . . . . . . . . 4200 min-1
No load chain speed: . . . . . . . . . . . .7.45 m/s
Total sword length: . . . . . . . . . . . . . 156 mm
Effective sword length: . . . . . . . . . . 120 mm
Max. cutting depth: . . . . . . . . . . .. . . 120 mm
Product weight without accessories: . . . 1.5 kg
Sound pressure level LpA
Multi-saw: . . . . . . . . . . . . . . . .. . . . . . .78.9 dB(A)
Pruner: . . . . . . . . . . . . . . . . . . . . . . . . .81.0 dB(A)
Uncertainty KpA: . . . . . . . . . . . . . . . . 3 dB(A)
Sound power level LWA
Multi-saw: . . . . . . . . . . . . . .. . . . . . . . .89.9 dB(A)
Pruner: . . . . . . . . . . . . . . . . . . . . . . . . .89.1 dB(A)
Uncertainty KWA: . . . . . . . . . . . . . . . . 3 dB(A)
Hand/arm vibration
Multi-saw: . . . . . . . . . . . . . . . . . . . . . . 0.924 m/s2
Pruner: . . . . . . . . . . . . . . . . . . . . . . . . 0.686 m/s2
Uncertainty K: . . . . . . . . . . . . . . . . . . 1.5 m/s2
Vibration level
The declared vibration total value and the declared noise emission values have been measured in accordance with a standard test method (EN 62841) and may be used for comparing one tool with another. The declared vibration total value may also be used in a preliminary assessment of exposure.
Warning!
The vibration and noise emission during actual use of the power tool can differ from the declared total value depending on the ways in which the tool is used, in particular, what kind of work piece is machined. It is necessary to identify safety measured to protect the operator that are based on an estimation of exposure in the actual conditions of use (taking account of all parts of the operating cycle such as the times when the tool is switched off and when it is running idle in addition to the trigger time). Try to minimize the impact of vibration and noise. Exemplary measures to reduce vibration exposure include wearing gloves while using the tool, limiting working time, and using accessories in good condition.
Accessories – optionally available
Battery . . . . . . . . . . .Item-No. 7064260
Charger . . . . . . . . . . . Item-No. 7064261
Chain . . . . . . . . . . . .Item-No. 7064263
Bar . . . . . . . . . . . . . Item-No. 7064262
Bar protector . . . . . . . .Item-No. 7064268
18 V Chain Sharpener . . Item-No. 7063640
Disposal
![]() | Do not dispose of electric power tools with domestic refuse. |
in packaging to reduce transport damage. This packaging is a raw material and as such can either be reused or can be fed back into the raw material cycle. The electric power tool and its accessories are made from various materials such as metals and plastics. Take defective components to a special refuse collection point. Ask about these at your specialist shop or local council.
Batteries
Think of the environment when disposing of batteries. Contact your local authorities to find out where your nearest disposal area is. Do not dispose of batteries with domestic refuse. Do not dispose of by burning, risk of explosion.
EC-Declaration of conformity
We, the Batavia B.V., Weth. Wassebaliestraat 6d, NL-7951 SN Staphorst, declare by our own responsibility that the product Nexxsaw, Item-No 7064197, Model Nr. BT–NXS003 is according to the basic requirements, which are defined in the European Directives Electromagnetic Compatibility 2014/30/EU (EMC), 2006/42/EC (Machinery), RoHS: 2011/65/EU, 2014/35/ EC (LVD) and their amendments. For the evaluation of conformity, the following harmonized standards were consulted:
EN 62841-1:2015;
EN ISO 11680-1:2011;
EN ISO 12100.2010;
EN IEC 55014-1:2021;
EN IEC 55014-2:2021;
EN IEC 61000-3-2:2019+A1;
EN 61000-3-3:2013+A1+A2;
EN 60335-1:2012+A11+A13+A1+A14+A2;
EN 60335-2-29:2004+A2+A11;
EN 62233:2008;
EK1 527-12 Rev.2;
EN 62133-2:2017;
AfPS GS 2019:01
Staphorst, 19 April 2022

Meino Seinen, QA Representative Batavia B.V., Weth. Wassebaliestraat 6d, 7951 SN Staphorst, Netherlands The product and the user manual may be subject to changes. Technical data may be changed without prior notice.

































