HOOVER City Combi E. User Manual

Thank you for purchasing this product. Before using your refrigerator, please carefully read this instruction manual in order to maximize its performance. Store all documentation for subsequent use or for other owners. This product is intended solely for household use or similar applications such as:
– the kitchen area for personnel in shops, offices and other working environments
– on farms, by clientele of hotels, motels and other environments of a residential type
– at bed and breakfasts (B & B)
– for catering services and similar applications not for retail sale.
This appliance must be used only for purposes of storage of food, any other use is considered dangerous and the manufacturer will not be responsible for any omissions. Also, it is recommended that you take note of the warranty conditions.
SAFETY INFORMATION
Please read the operating and installation instructions carefully! They contain important information on how to install, use and maintain the appliance. The manufacturer is not liable if you fail to comply with the instructions and warnings. Retain all documents for subsequent use or for the next owner.
- Do not connect the appliance to the electricity supply until all packing and transit protectors have been removed. Keep children away from packaging and its parts.
- Danger of suffocation from folding cartons and plastic film!
- Leave to stand for at least 4 hours before switching on the product, to allow compressor oil to settle if transported horizontally.
- Make sure there is no transport damage.
- Do not damage the refrigerant circuit.
- Maintain the ventilation openings in the appliance enclosure or in the built-in structure, free of obstruction.
- Never use water to wash the compressor position, wipe it with a dry cloth thoroughly after cleaning to prevent rust.
- Handle the appliance always with at least two persons because it is heavy.
- Install and level the appliance in an area suitable for its size and use.
- Make sure that the electrical information on the rating plate agrees with the power supply. If it does not, contact an electrician.
- The appliance is operated by a 220-240 VAC/50 Hz power supply. Abnormal voltage fluctuation may cause the appliance to fail to start, or damage to the temperature control or compressor, or there may be an abnormal noise when operating. In such case, an automatic regulator shall be mounted.
- Only for UK: The appliance’s power cable is fitted with 3-cord (grounding) plug that fits a standard 3-cord (grounded) socket. Never cut off or dismount the third pin (grounding). After the appliance is installed, the plug should be accessible.
- Make sure that mains cable is not caught under the appliance during and after carrying/moving the appliance, to avoid the mains cable becoming cut or damaged. If the supply cord is damaged, it must be replaced by the manufacturer, its service agent or similarly qualified person in order to avoid a hazard.
- Do not install the appliance in humid, oily or dusty places, nor expose it to direct sunlight and to water.
- Do not install the appliance near heaters or inflammable materials.
- FOR appliances with a freezer compartment: if there is a power failure do not open the lid. Frozen food should not be affected if the failure lasts for less than the hours indicated on the rating label (Temperature rise time). If the failure is longer, then the food should be checked and eaten immediately or cooked and then refrozen.
- If you find that the lid of the appliance is difficult to open just after you have closed it, don’t worry. This is due to the pressure difference which will equalize and allow the lid to be opened normally after a few minutes.
- Do not store medicines, bacteria or chemical agents in the appliance. This appliance is a household appliance, it is not recommended to store materials that require strict temperatures.
- Do not excessively pull or fold the power cord or touch the plug with wet hands.
- Do not store products which contain flammable propellant (e.g. spray cans) or explosive substances in the appliance. Risk of explosion!
- Do not place unstable articles (heavy objects, containers filled with water) on top of the refrigerator, to ovoid personal injury caused by falling or electric shock caused by contact with water.
- Do not use electrical appliances inside the food storage compartments, unless they are of the type recommended by the manufacturer.
- Do not touch internal cooling elements, especially with wet hands, to avoid cracks or injuries.
- At risk here are children, people who have limited physical, mental or sensory abilities, as well as people who have inadequate knowledge concerning safe operation of the appliance.
- Check that children and vulnerable people have understood the hazards. person responsible for safety must supervise or instruct children and vulnerable people who are using the appliance. Only children aged 8 years and above may use the appliance.
- Children should not play with the appliance.
- Children aged from 3 to 8 years are allowed to load and unload this appliance.
- FOR appliances with a freezer compartment: do not store bottled or canned liquids (especially carbonated drinks) in the freezer compartment. Bottles and cans may burst!
- FOR appliances with a freezer compartment: never put frozen food straight from the freezer compartment in your mouth. Risk of low-temperature burns!
- Keep plastic parts and the door seal free of oil and grease. Otherwise, plastic parts and the door seal will become porous.
- Before performing any operation, unplug the power cord from the power socket.
- Do not use mechanical devices or other means to accelerate the defrosting process, other than those recommended by the manufacturer.
- Do not use pointed or sharp-edged objects such as knives or forks to remove the frost.
- Never use hairdryers, electrical heaters or other such electrical appliances for defrosting.
- It is recommended to keep the plug clean, any excessive dust residues on the plug can be the cause fire.
- Do not try to repair, disassemble or modify the appliance by yourself. In case of repair please contact always our customer service.
- Supervise children while the appliance is being cleaned or maintained.
- Do not clean the cold glass shelves with hot water. Sudden temperature change may cause the glass to break.
- WARNING: The tubes of the refrigeration circuit convey a small quantity of an environmentally friendly but flammable refrigerant (R600a) and insulating gas (cyclopentane). It does not damage the ozone layer and does not increase the greenhouse effect. If refrigerant escapes, it may injure your eyes or ignite.
- If the refrigerant circuit should be damaged:
- – Switch off the appliance and pull out the mains plug,
- – Keep naked flames and/or ignition sources away from the appliance,
- – Thoroughly ventilate the room for several minutes,
- – Inform customer service.
- WARNING: Do not damage the plug and/or the power cord; this could cause electrical shocks or fires.
- WARNING: Do not use multiple portable socket-outlets or portable power supplies. We do not recommend the use of extension leads and multi-way adapters.
- Do not attempt to sit or stand on the top of the appliance. You could injure yourself or damage it. This appliance is not designed for stacking with any other ones.
- The product is designed and built for domestic household use only.
- Only original parts supplied by the manufacturer may be used. The manufacturer guarantees that only these parts satisfy the safety requirements.
- Opening the door for long periods can cause a significant increase of the temperature in the compartments of the appliance.
- Clean regularly surfaces that can come in contact with food and accessible drainage systems.
- Clean water tanks if they have not been used for 48h; flush the water system connected to a water supply if water has not been drawn for 5 days.
- Store raw meat and fish in suitable containers in the refrigerator, so that it is not in contact with or drip onto other food.
- Two-star frozen-food compartments(if they are presented in the appliance) are suitable for storing pre-frozen food, storing or making ice-cream and making ice cubes.
- One-, two- and three -star compartments, if present in the appliance, are not suitable for the freezing of fresh food.
- If the appliance is left empty for long periods, switch off, defrost, clean, dry and leave the door open to prevent mold developing within the appliance.
- FOR Wine Coolers: this appliance is intended to be used exclusively for the storage of wine
- FOR a free standing appliance: this refrigerating appliance is not intended to be used as a built-in appliance
- FOR appliances without a 4-star compartment: this refrigerating appliance is not suitable for freezing foodstuffs
Electrical Connection
WARNING
This appliance should be properly grounded for your safety. The power cord of this appliance is equipped with a three-prong plug which mates with the standard three prong wall outlets to minimize the possibility of electrical shock. Do not, under any circumstances, cut or remove the third ground prong from the power cord supplied. This refrigerator appliance requires a standard 220-240VAC 50/60Hz electrical outlet with three-prong ground. This refrigerator appliance is not designed to be used with an inverter. The cord should be secured behind the appliance and not left exposed or dangling to prevent accidental injury. Never unplug the refrigerator by pulling the power cord. Always grip the plug firmly and pull straight out from the receptacle. Do not use an extension cord with this appliance. If the power cord is too short, have a qualified electrician or service technician install an outlet near the appliance. Use of an extension cord can negatively affect the performance of the unit. Improper use of the grounded plug can result in the risk of electrical shock. If the power cord is damaged, have it replaced by an authorized service center. Climate Range
The information about the climate range of the appliance is provided on the rating plate. It indicates at which ambient temperature (that is, room temperature, in which the appliance is working) the operation of the appliance is optimal (proper).

– extended temperate: `this refrigerating appliance is intended to be used at ambient temperatures ranging from 10 °C to 32 °C’;
– temperate: `this refrigerating appliance is intended to be used at ambient temperatures ranging from 16 °C to 32 °C’;
– subtropical: `this refrigerating appliance is intended to be used at ambient temperatures ranging from 16 °C to 38 °C’;
– tropical: `this refrigerating appliance is intended to be used at ambient temperatures ranging from 16 °C to 43 °C’;
Note: Given the limit values of the ambient temperature range for the climate classes for which the refrigerating appliance is designed and the fact that the internal temperatures could be affected by such factors as location of the refrigerating appliance, ambient temperature and the frequency of door opening, the setting of any temperature control device might have to be varied to allow for these factors, if appropriate. If the power cable is damaged, it must be replaced by the manufacturer, its service agent or similarly qualified persons in order to avoid a hazard.
Locks
If your Refrigerator is fitted with a lock, keep the key out of reach and not in the vicinity of the appliance to prevent children being entrapped. When disposing of an old Refrigerator, break off any old locks or latches as a safeguard.
Freon-free
The Freon-free refrigerant (R600a) and the foaming insulation material (cyclopentane) that is environmentally friendly are used for the refrigerator, causing no damage to the ozone layer and having a very small impact on the global warming. R600a is flammable, and sealed in a refrigeration system, without leakage during normal use. But, in case of refrigerant leakage due to the refrigerant circuit being damaged, be sure to keep the appliance away from open flames and open the windows for ventilation as quickly as possible.
Product Features
- Electronic temperature control
- Reversible door


The most energy-saving configuration requires drawers, food box and shelves to be positioned in t he product, please refer to the above pictures.
Due to technological innovation, the descriptions of the product in this manual may not be completely consistent with your refrigerator. Details are in accordance with the material item.
Preparations for use
Installation location
- Ventilation condition The position you select for the refrigerator installation should be well-ventilated and has less hot air. Do not locate the refrigerator near a heat source such as cooker, boiler, and avoid it from direct sunlight, thus guaranteeing the refrigeration effect while saving energy consumption. Do not locate the refrigerator in the damp place, so as to prevent the refrigerator from rusting and leaking electricity. The result of the total space of the room in which the refrigerator is installed being divided by the refrigerant charge amount of the refrigerator shall not be less than 8 g/M3.
Note: The amount of refrigerant charged for the refrigerator can be found on the nameplate. - Heat dissipation space When working, the refrigerator gives off heat to surroundings. Therefore, at least 300 mm of free space should be spared at the top side, more than 100 mm on both sides, and above 50 mm at the back side of the refrigerator.
- Level ground Place the refrigerator on the solid and flat ground (floor) to keep it stable, or else, it will give rise to vibration and noise. When the refrigerator is placed on such flooring materials as carpet, straw mat, polyvinyl chloride, the solid backing plates should be applied underneath the refrigerator, so as to prevent color change due to heat dissipation.
Unobstructed ventilation shall be maintained around the appliance or in an embedded structure.
- Standing time After the refrigerator is properly installed and well cleaned, do not switch it on immediately. Make sure to energize the refrigerator after more than 1 hour of standing, so as to ensure its normal operation.
- Cleaning Confirm the accessory parts inside the refrigerator and wipe the inside with a soft cloth.
- Power-on Insert the plug into the solid socket to start the compressor. After 1 hour, open the freezer door, if the temperature inside the freezer compartment drops obviously, it indicates the refrigeration system is working normally.
- Storage of food After the refrigerator runs for a period of time, the internal temperature of the refrigerator will be automatically controlled according to the user’s temperature setting. After the refrigerator is fully cooled, put in foods, which usually need 2~3 hours to be fully cooled. In summer, when the temperature is high, it takes more than 4 hours for the foods to be fully cooled (Try to open the refrigerator door as less as possible before the internal temperature cools down).
If the refrigerator is installed in the moisture place, make sure to check whether the ground wire and leakage circuit breaker are normal. If vibration noises are produced due to the refrigerator contacting the wall or if the wall gets blackened by air convection around the compressor, move the refrigerator away from the wall. Setting up the refrigerator may cause jamming noise or image chaos to the mobile phone, fixed-line telephone, radio receiver, television set surrounding it, so try to keep the refrigerator as far away as possible in such case.
Functions
Temperature setting: The temperature of the refrigerator is controlled by the control panel mounted in the fridge compartment. The refrigerator temperature is set to be the lowest when at “2°C” and the highest when at “8°C”. It can be adjusted according to the user’s needs.
- Under the normal operating condition (in spring and autumn), it is recommended to set the temperature at “5°C”.
- In summer when the ambient temperature is high, it is recommended to set temperature at “5 -6°C”, so as to guarantee the fridge and freezer temperatures and reduce the refrigerator continuo us running time; and in winter when the ambient temperature is low, it is recommended to set temperature at “4-5°C” to avoid frequent start/stop of the refrigerator.
- Fast Cool: When this function is enabled, the fridge temperature and the freezer temperature can be reduced rapidly at the same time, so that foods can be kept in fresh condition with their nutrition not lost. The maximum running time of the fast-cool function is 26 hours, after which, the refrigerator will be restored to its previous mode that is set before the fast-cool function is enabled.
Remark The temperatures may vary with respect to setting’s ones due to compressor cycles and outside conditions.

Note: If the indicator light`2′ or `5′ or `8′ gets flickering, it indicates that the refrigerator has broken down. Please contact the after-sales personnel for on-site service as soon as possible.
Instructions for food storage
Position different food in different compartments according to be below table


Precautions for use
- The appliance might not operate consistently (there is possibility of defrosting or temperature becoming too warm in the frozen food compartment) when sited for an extended period of time below the cold limit of the temperature range for which the refrigerating appliance is designed
- The information of climate type of the appliance is provided on the rating plate.
- The internal temperature could be affected by such factors as the location of refrigerating appliance, ambient temperature, and frequency of door open, etc., and if appropriate, a warning that setting of any temperature control device might have to be varied to allow for these factors should be made.
- Effervescent drinks should not be stored in the freezer compartment or the low-temperature compartment, and some products such as water ices should not be consumed too cold.
Food storage location
Due to the cold air circulation in the refrigerator, the temperature of each area in the refrigerator is different, so different kinds of food should be placed in different areas.
The fresh food compartment is suitable for the storage of such foods as need not to be frozen, the cooked food, beer, eggs, some condiments that need cold preservation, milk, fruit juice, etc. The crisper box is suitable for the preservation of vegetables, fruits, etc. The freezer compartment is suitable for the storage of ice cream, frozen food and the foods to be preserved for a long time.
- It’s suggested to set the temperature at 4°C in the fridge compartment and at -18°C in the freezer compartment if it is possible.
- For most food categories, the longest storage time in the fridge compartment is achieved with colder temperatures. Since some particular products (as fresh fruits and vegetables) may be damaged with colder temperatures, it is suggested to keep them in the crisper drawers, whenever present. If not present, maintain an average setting of the thermostat.
- For frozen food, refer to the storage time written on the food packaging. This storage time is achieved whenever the setting respects the reference temperatures of the compartment (one-star -6°C, two stars -12°C, three stars -18°C)
Use of the fresh food compartment
Set the temperature of the fresh food storage compartment between 2 ~ 8 , and store the foods that are intended for short-term storage, or to be eaten at any time in the fresh food compartment. Fridge shelf: When removing the shelf, lift it up first, and then pull it out; and when installing the shelf, place it into position before putting it down. (For the two-section shelf, push the first section to the rear end, and then pull the second section out). Keep the shelf rear flange upward, to prevent foods from contact the liner wall. When taking out or putting in the shelf, hold it firmly, and handle with care to avoid damage. Crisper box: Pull out the crisper box for access to food. After using or cleaning the cover plate of the crisper box, be sure to put it back onto the crisper, so that the internal temperature of the crisper box will not be affected.
Cautions for food storage
You’d better clean the foods and wipe them dry before storing them inside the refrigerator. Before foods are put in the refrigerator, it is advisable to seal them up, so as to prevent water evaporation to keep fresh fruits and vegetables on one hand, and prevent taint of odor on the other hand. Do not put too many or too weight foods inside the refrigerator. Keep enough space between foods; if too close, the cold air flow will be blocked, thus affecting the refrigeration effect. Do not store excessive or overweight foods, to avoid the shelf from being crushed. When storing the foods, keep a distance away from the inner wall; and do not place the water-rich foods too close to the fridge rear wall, lest they get frozen on the inner wall. Categorized storage of foods Foods should be stored by category, with the foods you eat every day placed in front of the shelf, so that the door open duration can be shortened and food spoilage due to expiration can be avoid. Energy-saving tips: Allow the hot food cool down to the room temperature before putting it in the refrigerator. Put the frozen food in the fresh food compartment to thaw, using the low temperature of the frozen food to cool the fresh food, thus saving energy.
Storage of fruits and vegetables
In the case of refrigerating appliances with chill compartment, a statement to the effect that some types of fresh vegetables and fruits are sensitive to cold and therefore are not suitable for storage in this kind of compartment should be made.
Use of the frozen food storage compartment
The freezer temperature is controlled below -18 , and it is advisable to store the food for long-term preservation in the freezer compartment, but the storage duration indicated on the food packaging should be adhered to. The freezer drawers are used to store food that needs to be frozen. Fish and meat of large block size should be cut into small pieces and packed into fresh-keeping bags before they are evenly distributed inside the freezer drawers.
- Allow the hot foods to cool down to the room temperature before putting them in the freezer compartment.
- Do not put a glass container with liquid or the canned liquid that is sealed in the freezer compartment, so as to avoid burst due to volume expansion after the liquid gets frozen up.
- Divide the food into appropriately small portions
- You’d better pack the food up before freezing it, and the packing bag used should be dry, in case the packing bags are frozen together. Foods should be packed or covered by such suitable materials as are firm, tasteless, impervious to air and water, non-toxic and pollution-free, to avoid cross-contamination and transfer of odor.
Tips for shopping the frozen foods
- When you are buying frozen food, look at the Storage Guidelines on the packaging. You will be able to store each item of frozen food for the period shown against the star rating. This is usually the period stated as “Best to use them before×”, found on the front of the packaging.
- Check the temperature of the frozen food cabinet in the shop where you buy the frozen foods.
- Make sure the frozen food package is in perfect condition.
- Always buy frozen products last on your shopping trip or visit to the supermarket.
- Try to keep frozen food together whilst shopping and on the journey home, as this will help to keep the food cooler.
- Don’t buy frozen food unless you can freeze it straight away. Special insulated bags can be bought from most supermarkets and hardware shops. These keep the frozen foods cold longer.
- For some foods, thawing before cooking is unnecessary. Vegetables and pasta can be added directly to boiling water or steam cooked. Frozen sauces and soups can be put into a saucepan and heated gently until thawed.
- Use quality food and handle it as little as possible. When foods are frozen in small quantities, it will take less than for them to freeze up and thaw.
- Estimate the amount of foods to be frozen up. When freezing large amounts of fresh food, adjust the temperature control knob to the low mode, with the freezer temperature lowered. So, foods can be frozen up in fast manner, with the food freshness well kept.
Tips for Water dispenser (if available)
The refrigerator includes a water dispenser which makes it easier to fill your cup of water and have access to cold water almost immediately. The water dispenser includes one tank of 2.0 liters of water which has to be filled out. To use water dispenser follow the instructions below:
- Open the refrigerator door to ensure the water dispenser fixed well.
- Open the filler cover of the water tank, slowly fill the water tank to prevent any spills until the tank is filled. Then close the filler cover of the water tank. See image C.
- Once the water tank is full, set the thermostat at the lowest mode or the Fast Cool mode, and one hour later you can dispense water for drinking. See image D. Please restore to the original temperature setting after use.

- When using the water dispenser, some water may drip and accumulate at the bottom of the water dispenser. Please wipe it with a cloth when necessary.
- The maximum fill must be lower than the tank cover as indicated by the maximum fill line
NOTE : Don’t take away the cup until no waterdrop.
Tips for special needs
Moving the refrigerator/freezer
- Location
Do not place your refrigerator/freezer near a heat source, e.g. cooker, boiler or radiator. Avoid it from direct sunlight in out-buildings or sun lounges. - Leveling
Make sure to level your refrigerator/freezer using the front leveling feet. If not level, the refrigerator/freezer door gasket sealing performance will be affected, or even it may lead to the operating failure of your refrigerator/freezer. After locating the refrigerator/freezer in position, wait for 4 hours before using it, so as to allow the refrigerant to settle. - Installation
Do not cover or block the vents or grilles of your appliance. When you are out for a long time - If the appliance will not be used for several months, turn it off first, and then unplug the plug from the wall outlet.
- Take out all foods.
- Clean and dry the interior thoroughly. To prevent odor and mold growth, leave the door ajar: block it open or have the door removed if necessary.
- Keep the cleaned appliance in a dry, ventilated place and away from the heat source, place the appliance smoothly, and do not place heavy objects on top of it.
- The unit should not be accessible to child’s play.
Maintenance and cleaning
Before cleaning, unplug the power plug first; Do not plug in or plug out the plug with wet hand, because there is a risk of electric shock and injury. Do not spill water directly on the refrigerator, to avoid rust, electricity leakage and accidents. Do not stretch your hands into the bottom of the refrigerator, since you might be scratched by sharp metal corners. Internal cleaning and external cleaning
The food residuals in the refrigerator are liable to produce bad odor, so the refrigerator must be cleaned regularly. The fresh food compartment is usually cleaned once a month. Remove all shelves, crisper box, bottle racks, cover board, and drawers etc., and clean them with a soft towel or sponge dipped in warm water or neutral detergent. Clear off the dusts accumulated on the rear panel and side plates of the refrigerator often. After using detergent, be sure to rinse it with clean water, and then wipe it dry.
Do not use bristle brush, steel wire brush, detergent, soap powder, alkaline detergent, benzene, gasoline, acid, hot water and other corrosive or soluble items to cleanse the cabinet surface, door gasket, plastic decorative parts, etc., so as to avoid damage.
Carefully wipe dry the door gasket, clean the groove using a wooden chopstick wrapped with cotton string. After the cleaning, fix the four corners of the door gasket first, and then embed it segment by segment into the door groove. Interruption of power supply or failure of the refrigerating system
- Take care of the frozen foods in the event of an extended non-running of the refrigerating appliance (such as interruption of power supply or failure of the refrigerating system).
- Try to open the refrigerator door as less as possible, in this way can food safely and freshly kept for hours even in hot summer.
- If you get the power outage notice in advance
- Adjust the thermostat knob to the high mode an hour in advance; so that foods get fully frozen (Do not store new food during this time!). Restore the temperature mode to the original setting when power supply becomes normal in a timely manner.
- You can also make ice with a watertight container, and put it in the upper part of the freezer, so as to extend the time for fresh food to be stored.
Note: Once the refrigerator is used, you’d better use it continuously; and under normal circumstance, do not stop its use, so as not to affect the service life.
Defrosting
After a period of use, a thin layer of frost will be formed on the freezer compartment inner wall (or evaporator) surface, which may affect the refrigeration effect if exceeding 5mm in thickness. In such case, you need to gently scrape the frost off using an ice scraper rather than the metal or sharp hardware. Frosts need to be cleared off every 3 months or so, and if the normal use of drawers and normal access of foods are affected by frosting, make sure to remove the frosts in a timely manner. Follow the following steps to remove frosts:
- Take out the frozen foods, shut off the mains power supply, open the refrigerator door, and gently remove the frosts from the inner wall with an ice scraper. To speed up the thawing process, you are suggested to place a bowl of hot water inside the refrigerator/freezer, and when the solid ice frosts become loose, use an ice scraper to scrape them off and then take them out.
- After defrosting, clean the refrigerator/freezer inside, and switch on the power supply.
Changing the lamp
The LED lamp is used by the refrigerator for lighting, which features low energy consumption and long service life. In case of any abnormality, please contact the after-sales personnel for visiting service. The lamps can only be replaced by the manufacturer, together with a part of the appliance
Safety-check after maintenance
Is the power cord broken or damaged? Is the power plug firmly inserted into the socket? Is the power plug abnormally overheat?
Note: Electric shock and fire accident may be caused in case the power cord and plugs damaged or stained by dust. If any abnormality,
please unplug the power plug and get in contact with the vendor.
Simple fault analysis and elimination
With regard to the following small faults, not every failure needs to be fixed by the technical service personnel; you can try to solve the problem.


Note: If the above descriptions are inapplicable to troubleshooting, do not disassemble and repair it yourself. Repairs carried out by inexperienced persons may cause injury or serious malfunctioning. Contact the local store where your purchase was made. This product should be serviced by an authorized engineer and only genuine spare parts should be used.
When the appliance is not in use for long periods, disconnect from the electricity supply, empty all foods and clean the appliance, leaving the door ajar to prevent unpleasant smells.
To contact the technical assistance, visit our website: https://corporate.haier-europe.com/en/ Under the section “website”, choose the brand of your product and your country. You will be redirected to the specific website where you can find the telephone number and form to contact the technical assistance
Certifications
Electrical information
This electrical appliance must be grounded This product is equipped with a plug, which is suitable for all houses equipped with sockets meeting the current specifications If the fitted plug is not suitable for your socket outlets, it should be cut off and carefully disposed of. To avoid a possible shock hazard, do not insert the discarded plug into a socket. This product complies the EEC directives.
Scrapping old appliances
![]()
This appliance is marked according to the European directive 2012/19/EU on Waste Electrical and Electronic Equipment (WEEE). WEEE contains both polluting substances (which can cause negative consequences for the environment) and basic components (which can be re-used). It is important to have WEEE subjected to specific treatments, in order to remove and dispose properly all pollutants, and recover and recycle all materials. Individuals can play an important role in ensuring that WEEE does not become an environmental issue; it is essential to follow some basic rules:
– WEEE should not be treated as household waste;
– WEEE should be handed over to the relevant
collection points managed by the municipality or by registered companies. In many countries, for large WEEE, home collection could be present. In many countries, when you buy a new appliance, the old one may be returned to the retailer who has to collect it free of charge on a one-to-one basis, as long as the equipment is of equivalent type and has the same functions as the supplied equipment.
Conformity
By placing the
mark on this product, we are confirming compliance to all relevant European safety, health and environmental requirements which are applicable in legislation for this product.
Guarantee
Minimum guarantee is: 2 years for EU Countries, 3 years for Turkey, 1 year for UK, 1 year for Russia, 3 years for Sweden, 2 years for Serbia, 5 years for Norway, 1 year for Morocco, 6 months for Algeria, Tunisia no legal warranty required.
For further information about the product, please consult https://eprel.ec.europa.eu/ or scan the QR on the energy label supplied with the appliance
Energy Saving
For better energy saving we suggest : Installing tee appliance away from heat sources and not exposed to direct sunlight and in a well ventilated rood. Avoid putting hot food into the refrigerator to avoid increasing the internal temperature and therefore causing continues functionalizing of the compressor. Do not excessively stuff foods so as to ensure proper air circulation. Defrost the appliance in case there is ice to facilitate the transfer of cold. In case of absence of electrical energy, it is advisable to keep the refrigerator door closed. Open or keep the doors of the appliance open as little as possible Avoid adjusting the setting to temperatures too cold. Remove dust present on the rear of the appliance
Reversing the Door Swing
1. Make sure that your refrigerator is unplugged.

2. Pry the hinge cover up and off, remove the three screws that secure the upper hinge to the door, then remove the hinge.
3. Remove the refrigerator compartment door from the cabinet.
4. Remove the two screws that secure the center hinge.

5. Remove the freezer compartment door.
6. Remove the screws that secure the lower hinge to the right side of the

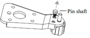
7. Remove the washer and nut that secure the pin shaft to the right hole on the lower hinge, then remove the shaft

8. Insert the pin shaft into the left hole on the lower hinge, then secure the shaft with the washer and nut.

9. Install the lower hinge on the left side of the cabinet.
10. Remove the screw that secures the door stop from the bottom right of the freezer compartment door, then remove the door stop and install to the bottom left side.

11. Install the freezer compartment door.
12. Move the door bushing from the top right side of the freezer door to the top left side of the door. And move the left hole cover to the right side.

13. Remove the center hinge screw hole plug on the left side of the cabinet, then install in the screw holes on the right side of the cabinet.

14. Install the center hinge to the left side with the two screws you removed previously.

15. Get the left door stop from the accessory bag, install it on the bottom left side of the refrigerator door.

16. Install the Refrigerator compartment door.
17. Move the door bushing from the top right side of the Refrigerator door to the top left side of the door. And move the left hole cover to the right side.

18. Remove the screw that secures the hinge screw hole cover from the top left side of the cabinet, remove the cover and secures the cover on the top

19. Secure the upper hinge to the top left side of the cabinet with the three screws you removed previously. Before you tighten the upper hinge screws, make sure that the top of the door is level with the cabinet and that the rubber gasket makes a good seal.
20. Install the hinge cover over the hinge on the top left side of the cabinet.

Availability of spare parts
“Thermostats, temperature sensors, printed circuit boards and light sources are available for a minimum period of seven years after placing the last unit of the model on the market. Door handles, door hinges, trays and baskets for a minimum period of seven years and door gaskets for a minimum period of 10 year, after placing the last unit of the model on the market”.


















