Panasonic HL-C203BE-MK High-Accuracy Laser Displacement Sensor

INSTRUCTION
Ultra High-Speed, High-Accuracy Laser Displacement Sensor Sensor Head
HL-C203B(E), HL-C203B(E)-MK
MJE-HLC203B(07) No.0041-41V
Thank you very much for purchasing Panasonic products. Read this Instruction Manual carefully and thoroughly for the correct and optimum use of this product. Kindly keep this manual in a convenient place for quick reference.
WARNING
- This product is intended to detect the objects and does not have the control function to ensure safety such as accident prevention.
- Do not use the product as a sensing device to protect human body.
- Be careful not to directly watch or touch the direct laser beam or reflected laser beam.
- The product was developed and manufactured for industrial use.
BEFORE USE

- Before using the product, check the sensor head model and contents of packing.
- Sensor head model
Check the model name of product at the top of sensor head. - Packing
Check that all of the following components are included in the package.- 1 sensor head unit
- 1 Instruction manual
- Laser warning labels [JIS/IEC: 1 set, GB: 1 set (E type only)]
- This product satisfies the adaption of CE product by using in combination with controller and programmable display, which are subjected to CE. Please confirm that there is CE mark on connecting controller’s label.
- Contact for CE
Panasonic Marketing Europe GmbH Panasonic Testing Center
Winsbergring 15, 22525 Hamburg,Germany
DESCRIPTION
- HL-C203B(E), HL-C203B(E)-MK displacement sensor head achieves ultra high-speed and high-accurate measurement using linear image sensor as light receiv-ing element to be used on equipment that require high-speed operation with high-accuracy.
- The product is used at diffuse or specular reflection sensor head by installing and setting.
CAUTIONS ON HANDLING LASER LIGHT
- In order to prevent the accident by laser product and protect the users, JIS C 6802-2005 “Safety of laser products” was established based on the regulation of IEC (International electrotechnical Commission). This regulation classifies laser products according to the level of hazard, and provides the safety measures for respective classes.
HL-C203B(E), HL-C203B(E)-MK are classified as “Class 2 laser products” ac-cording to IEC 60825-1-2007 (JIS C 6802-2005) “Safety of laser products”. - Laser hazardous class
Classification according to IEC 60825-1-2007 (JIS C 6802-2005)
| Class | Model | Description of hazardous evaluation |
| Class 1 | – | Safe under reasonably foreseeable conditions of operation |
| Class 1M | – | Safe under reasonably foreseeable conditions of operation, except for diverging or large area beams when collecting optics used. Hazardous when collecting optics used. |
| Class 2 | HL-C203B(E) HL-C203B(E)–MK | Visible beam, low power. Blink response of eye affords protection. |
| Class 2M | – | Visible beam, low power. Blink response of eye affords protection. Hazardous when collecting optics used. |
| Class 3R | – | Direct intrabeam viewing is hazardous, but risk is lower than for 3B. |
| Class 3B | – | Direct intrabeam viewing is always hazardous. |
| Class 4 | – | High power. Capable of producing hazardous diffuse reflections. Capable of producing skin burns and fire hazardous. |
WARNING label
In Japanese / English / Korean

In Chinese (E type only)

<Label position>

- Install the product so the laser beam comes higher or lower than eye level in or-der not to watch the beam directly during operation.
Laser safety distance (Nominal Ocular Hazard Distance: NOHD) is approx. 0.4m. The laser beam must be terminated at the end of its path by a diffuse reflector or an absorber. - Please contact our company if the system breaks down. It is not equipped with a function that stops laser radiation automatically during disassembling the sensor head. The users therefore may be exposed to laser beam in disassembling the sensor head.
- When this product is used in China, affix the Chinese warning label (accessory) on the label in the product.
- Do not use the system in the manner other than specified in this Instruction Manual.
EXPORT REGULATIONS BY JAPANESE GOVERNMENT
- HL-C203B and HL-C203B-MK are subject to export control regulation by the Foreign Exchange and Foreign Trade Law. Export admission by Japanese government is required before the product is to be exported or brought out of the country. These products are also subject to Article 1.B.3.b.1 of Nuclear Suppliers Group in international export control regime and 2.B.6.b.1 of Wassenaar Arrangement.
- Please follow the export control regulations required.
HL-C203BE and HL-C203BE-MK (E type) are not subject to export control regulations under the condition that they are used combined with the non-pertinent controller to export control specified by Foreign Exchange and Foreign Trade Law. When they are combined with the pertinent controller to export control, they are subject to the Law. In this case export admission by Japanese government is required before the product is to be exported or brought out of the country.
SPECIFICATIONS
| Model No. | HL-C203B(E) | HL-C203B(E)–MK | |||
| Diffuse Reflection | Specular Reflection | Diffuse Reflection | Specular Reflection | ||
| Meas. method (Note 2) | Diffuse reflection / Specular reflection | ||||
| Measurement center distance | 30mm | 26.4mm | 30mm | 26.4mm | |
| Measurement range (Note 3) | ±5mm | ±4.6mm | ±5mm | ±4.6mm | |
| Beam source | Red semiconductor laser Class 2 (JIS/IEC/GB) Max output: 1mW, Emission Peak wavelength: 658nm | ||||
| Beam diameter (Note 4) | Approx. ø30μm | Approx. 30 × 1,200μm | |||
| Beam receiving element | Linear image sensor | ||||
| Resolution | 0.1μm / average times: 256, 0.025μm /average times: 4,096 [E type (Note 5) 0.25μm / average times 256] | ||||
| Linearity | ±0.03%F.S. | ||||
| Temperature characteristics | 0.01%F.S./°C | ||||
| Indicator | Laser emission | Green LED: Lights up during laser emission. | |||
| Meas. range | Yellow LED: Near measurement center:ON, within measurement range:Blink, beyond the range:OFF | ||||
| Protective structure | IP67 (except connector) | ||||
| Pollution degree | 2 | ||||
| Insulation resistance | 20M ohms or more by 500V DC megger (between all the terminals and enclosure.) | ||||
| Dielectric withstand | Commercial Frequency | AC 500V for 1min. (between all the terminals and enclosure.) | |||
| Impulse | ±1,000V 1.2/50μs (between all the terminals and enclosure.) | ||||
| Vibration resistance | Endurance: 10 to 55Hz (cycle: 1minute), Resistant amplitude of vibration: 1.5mm, in X, Y, and Z directions for 2 hours | ||||
| Shock resistance | 196m/ s2 in X, Y, and Z directions for 3 times | ||||
| Ambient illuminance (Note 6) | 3,000ℓx or less (illuinance at beam receiving surface using incandescent lamp) | ||||
| Ambient temperature | 0 to +45°C (No dew condensation or icing allowed), At storage: -20 to +70°C | ||||
| Ambient humidity | 35 to 85%RH At storage:35 to 85%RH | ||||
| Ambient Height | 2,000m or less | ||||
| Material | Main unit case / cover faluminum: Die-cast, Front cover: Glass | ||||
| Cable length | 0.5m | ||||
| Cable extension | Extendible to 30m long maximum using the optional extension cable. | ||||
| Weight | Approx. 250g including cable weight | ||||
| Applicable standards | Conformed to EMC Directive, Attained Korea’s S-mark certification | ||||
Notes:
- Measuring conditions are as follows unless otherwise specified; connection with controller, power voltage: 24V DC, ambient temperature: 20°C, sampling cycle: 40μs, average times:256, at measurement center distance, object substance: white ceramic,, and digital measurement value.
- Use the external ND filter (optional) in case the amount of reflected beam is too large on Specular Reflection installation.
- The measurement range is limits between +0.0 and +5.0mm (in case the sampling cycle is 20μs at diffuse reflection), between +0.0 and +4.6mm (in case the sampling cycle is 20μs at specular reflection), between
+ 3.8 and +5.0mm (in case the sampling cycle is 10μs at diffuse reflection), or between +3.6 and +4.6mm (in case the sampling cycle is 10μs at specular reflection). - The figure shows the value at measurement center distance. It is determined by 1/e2 (approximately 13.5%) of center beam intensity. Due to leak light outside the specified area, the reflectance around the detecting point may be higher than at the point and this may affect the measurement value.
- The minimum resolution of 0.25μm can be achieved if the sensor head is connected to the controller that is not subject to “Foreign Exchange and Foreign Trade Law”.
- The variation in ambient illuminance is ±0.03%F.S. or less.
CAUTIONS
Connection
- Turn off the power of controller before connecting or disconnecting the connectors.
- When connecting or disconnecting the connectors, be sure to hold the connector area not to apply extra force to the cable.
- Be careful not to touch terminals or to let foreign matter get in the connector after disconnecting connectors.
- Be careful not to apply force to around the connector of standard cable and ex-tension cable. Do not bend the cables near connectors. Failure to do so causes causes disconnection of the cable.
- When moving the sensor head during operation, install it so the cable not bend bend during movement. Use replaceable extensions cable in case the cable needs bend.
Wiring
- Do not run the sensor cable along (bundled in parallel) with other wirings. Keep it at least 100mm away from other wires. Run the cable so it is separate from high voltage and power circuit lines. If it is necessary to run the cable in parallel with them, shield it by running through a grounded electrical conduit.
- Install the product as far away as possible from noise source such as high-voltage lines, high-voltage device, power lines, power device, machines which generate a large starting and stopping surge, welding machines and inverter motor.
- Do not pull the cable using a force more than 29.4N when routing the cable with the sen-sor head and controller fixed. At least 20 mm is required from the cable connection to the bend. The bending radius must be 30 mm or more.
- Use only 1 extension cable for connection between one sensor head and a controller.

Warming up time
- Allow at least 30 minutes of warming up after turning on the power to ensure the performance of the product.
MEASUREMENT RANGE / INDICATOR
Installation Mode: Diffuse

Installation Mode: Specular

The measurement range indicator at sampling cycle of 20μs or 10μs lights up at the center of limited measurement range.
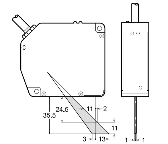
MUTUAL INTERFERENCE AREA (Unit: mm)
When installing 2 or more sensor heads side by side, mutual interference occurs if the laser spots from other sensor heads fall within the shaded areas in the right figure. Install sensor heads so the laser spots from other sensor heads fall outside the shaded areas.
BEAM DIAMETER (Unit: mm)

DIMENSIONS (Unit: mm)
Installation Mode: Diffuse

Installation Mode: Specular

OPTION
- ND filter (product code: HL-C2F01) is optionally available to adjust the excessive received light intensity to an optimum level. This is useful when mounting the sen-sor head for specular reflection.
http://panasonic.net/id/pidsx/global
Overseas Sales Division (Head Office)
2431-1 Ushiyama-cho, Kasugai-shi, Aichi, 486-0901,
Japan Phone: +81-568-33-7861 FAX: +81-568-33-8591
About our sale network, please visit our website.
PRINTED IN JAPAN
© Panasonic Industrial Devices SUNX Co., Ltd. 2013



















