
ML3369T-P
Version: RGBCW-US3369
Up to 8GPIOs Embedded
Features
- Support IEEE802.11 b/g/n standards
- Support WEP, WPA and WPA2 encryption
- Support UART/PWM/ADC/GPIO/I2C interfaces
- Support STA/AP/AP+STA modes
- Support SmartConfig
- Support TLS/SSL protocols
- Support PCB antenna
- 3.3V power supply
- Wi-Fi related features
- Support 802.11 b/g/n with 20M and 40M bandwidth
- Support station and soft AP
- Support SmartConfig and AP configuration
- Integrated balun/PA/LNA
- TCP/IP stack optimized for IoT application
- PCB antenna
- Peripheral
- 1x UART
- 1x ADC
- 5x PWM
- Working temperature: -20 to +85
- 10-Pin golden finger type
Applications
- Smart transportation
- Smart home/appliances
- Instruments
- Health care
- Industrial automation
- Intelligent security
- Smart energy
| Model | Antenna type | Note |
| ML3369T-P | PCB antenna | Default |
Overview
ML3369T-P is a cost-effective embedded Wi-Fi module designed by BroadLink, which supports 802.11 b/g/n standards and UART communication with other devices. The module integrates radio transceiver, MAC, baseband, all Wi-Fi protocols, configurations and network stack. It can be widely used in applications like smart home devices, remote monitoring devices and medical care instruments.
The module integrates an ARM Cortex-M4 processor speed up to 160MHz with 352KB SRAM and 1MB flash.
Basic Specifications
Power Consumption
Please refer to Table 1 for power consumption data.
Table 1 BL3369T-P Power Consumption Data
| Specifications | Min. | Typ. | Max. | Units |
| VDD1 | 3.3 | 4 | V | |
| VIL(input low voltage) | 0 | 0.3VDD | V | |
| VIH(input high voltage) | 0.7VDD | VDD | V | |
| VOL(output low voltage) | 0 | V | ||
| VOH(output high voltage) | VDD | V | ||
| lo | 10 | mA | ||
| Standby (SP mini) | mA | |||
| pulse current @TX 11b @17dBm 11Mbps | mA | |||
| pulse current @TX 11g @15dBm 54Mbps | mA | |||
| pulse current @TX 11n @14dBm 65Mbps | mA |
Note: Make sure VDD is not lower than 3.3V
Working Environment
Please refer to Table 2 for working environment data.
Table 2 ML3369T-P Working Environment Data
| Symbol | Description | Min. | Max. | Units |
| Ts | Storage temperature | -40 | 125 | ℃ |
| TA | Ambient operating temperature | -20 | 85 | ℃ |
| Vdd | Supply voltage | 3.3 | 4 | V |
| Vio | Voltage on IO pin | 0 | VDD | V |
| ESD | HBM | 1000 | 2000 | V |
Radio Specifications
Basic Radio Specification
Please refer to Table 3 for radio specification.
BL3369Table 3 BL3369T-P Radio Specification
| Radio range | 2.412 GHz – 2.472 GHz |
| Wireless standards | IEEE 802.11 b/g/n |
| Radio output | 802.11b :17dBm ± 1.5dBm 802.11g :14dBm ± 1.5dBm 802.11n:12.5dBm ± 1.5dBm |
| Antenna type | Internal : PCB antenna |
| External : Not supported | |
| Receiving sensitivity | 802.11 b<-83dBm@11 Mbps 802.11g<-72dBm@54Mbps 802.11n<-7tdBm@MCS7 |
| Stack | I Pv4, TC P/UDP/FTP/HTTP/HTTPS/TLS/m DNS |
| Data rate (max) | [email protected], [email protected] g, [email protected] |
| Security | Encryption standard: 0 penNV E P-0 pen/W PANV PA2 Encrypt ion algorithm: WEP64NVEP128/TKIP/AES |
| Network types | STA/AP/STA+AP/VV I Fl Direct |
Radio Performance
IEEE 802.11b
Table 4 Basic specifications under IEEE802.11b
| ITEM | Specification |
| Modulation Type | DSSS / CCK |
| Frequency range | 2412MHz~2462MHz |
| Channel | CH1 to CH11 |
| Data rate | 1, 2, 5.5, 11Mbps |
Table 5 Transmitting performance under IEEE802.11b
| TX Characteristics | Min. | Typical | Max. | Unit |
| Power@11Mbps | 17 | dBm | ||
| Frequency Error | -10 | 10 | ppm | |
| EVM@11Mbps | -20 | dB | ||
| Transmit spectrum mask | ||||
| Pass | ||||
Table 6 Receiving performance under IEEE802.11b
| RX Characteristics | Min | Typical | Max. | Unit |
| Minimum Input Level Sensitivity | ||||
| 11Mbps (FER≦8%) | -83 | dBm | ||
| Maximum Input Level (FER≦8%) | -3 | dBm | ||
IEEE 802.11g
Table 7 Basic specifications under IEEE802.11g
| ITEM | Specification |
| Modulation Type | OFDM |
| Frequency range | 2412MHz~2462MHz |
| Channel | CH1 to CH11 |
| Data rate | 6, 9, 12, 18, 24, 36, 48, 54Mbps |
Table 8 Transmitting performance under IEEE802.11g
| TX Characteristics | Min. | Typical | Max. | Unit |
| Power@54Mbps | 14 | dBm | ||
| Frequency Error | -10 | 10 | ppm | |
| EVM@54Mbps | -31 | -29 | dB | |
| Transmit spectrum mask | ||||
| Pass | ||||
Table 9 Receiving performance under IEEE802.11g
| RX Characteristics | Min. | Typical | Max. | Unit |
| Minimum Input Level Sensitivity | ||||
| 54Mbps | -71 | dBm | ||
| Maximum Input Level (FER≦10%) | -8 | dBm | ||
IEEE802.11n
Table 10Basic specifications under IEEE802.11n with 20MHz
| ITEM | Specification |
| Modulation Type | OFDM |
| Frequency range | 2412MHz~2462MHz |
| Channel | CH1 to CH11 |
| Data rate | MCS0/1/2/3/4/5/6/7 |
Table 11 Transmitting performance under IEEE802.11n with 20MHz
| TX Characteristics | Min. | Typical | Max. | Unit |
| Power@HT20, MCS7 | 13.5 | dBm | ||
| Frequency Error | -10 | 10 | ppm | |
| EVM@HT20, MCS7 | -31 | -30 | dB | |
| Transmit spectrum mask | ||||
| Pass | ||||
Table 12 Receiving performance under IEEE802.11n with 20MHz
| RX Characteristics | Min. | Typical | Max. | Unit |
| Minimum Input Level Sensitivity | ||||
| MCS7 | -69 | dBm | ||
| Maximum Input Level (FER≦10%) | -8 | dBm | ||
IEEE802.11n 40MHz bandwidth mode
Table 13Basic specifications under IEEE802.11n with 40MHz
| ITEM | Specification |
| Modulation Type | OFDM |
| Frequency range | 2412MHz~2452MHz |
| Channel | CH3 to CH9 |
| Data rate | MCS0/1/2/3/4/5/6/7 |
Table 14 Transmitting performance under IEEE802.11n with 40MHz
| TX Characteristics | Min. | Typical | Max. | Unit |
| Power@HT40, MCS7 | 13.5 | dBm | ||
| Frequency Error | -10 | +10 | ppm | |
| EVM@HT40, MCS7 | -31 | -30 | dB | |
| Transmit spectrum mask | ||||
| Pass | ||||
Table 15 Receiving performance under IEEE802.11n with 40MHz
| RX Characteristics | Min. | Typical | Max. | Unit |
| Minimum Input Level Sensitivity | ||||
| MCS7 | -67 | dBm | ||
| Maximum Input Level (FER≦10%) | -8 | dBm | ||
ML3369T-P Hardware Information
PIN Sequence
Please refer to Fig 1 for the pin sequence of ML3369T-P.

Fig 1 ML3369T-P pin sequence
PIN Definitions
Please refer to Table 16 for the hardware pin definitions.
Table 16 ML3369T-P pin definitions
| Pin | Function 1 | Function 2 |
| 1 | VDD | |
| 2 | GND | |
| 3 | GPIO8 | PWM0 |
| 4 | GPIO13 | PWM1 |
| 5 | GPIO0 | PWM2 |
| 6 | GPIO25 | PWM3 |
| 7 | GPIO3 | PWT |
| 8 | GPIO6 | ADC |
| 9 | UART_TX | GPIO27 |
| 10 | UART_RX | GPIO26 |
Note:
- In default, UART is used for output of debugging information and burning firmware. Please refer to the description in DC Characteristics for UART output current level.
- The pins for reset button and LED indication should be defined according to actual firmware and circuit design.
- The ADC is 10-bit with input voltage 0-2V
- The power supply VDD should not be lower than 3.3V.
PCB Antenna
The module support PCB antenna in 2.4G~2.5G frequency with S11 port less than -10dB and max gain of 0.6dB at 2.45GHz.
The following precautions should be considered during designing with PCB antenna:
- Do not place any electrical components or grounding in antenna area on main board and it’s better to leave this area blank on PCB.
- It is recommended to not place any electrical components within 30mm range of module antenna and not design any circuit or bond copper on main board under this area.
- Do not use the module inside any metal case or containers with metal painting.
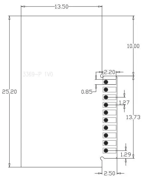
Mechanical Dimensions
Please refer to Fig 2 for the dimensions of ML3369T-P module.
Fig 2 BL3369T-P Dimensions
a Thickness of PCB: 1.2mm±10%
Hole diameter: 0.65mm
The diameter of stamp holes at sides edge for soldering is 0.6mm.
Recommended Pad Size

Unit: mm
Reference Design
Power Supply Requirement
If an LDO is used to supply the module with 3.3V power, C1 capacitor can be considered to be used with 10u-22u; If a DCDC is used to supply 3.3V power, C1 capacitor can be considered to be used with 22uF.
It is recommended to supply the module with power higher than 400mA to ensure enough power supply to the module and avoid power down during data transmission.
Certifications
The QR code contains information including but not limited to:
CMIIT ID: xxxxxxxx,
FCC ID: 2AXPC-ML3369T-P
Manufacturer:
SHENZHEN YUECHUANGKONGJIAN TECHNOLOGY CO.,LTD
Room 1401, Sangtai building, Lishan Road, Taoyuan Street, Nanshan
District, Shenzhen
Information to Users
This device complies with Part 15 of the FCC Rules. Operation is subject to the following two conditions:
- This device may not cause harmful interference, and
- This device must accept any interference received, including interference that may cause undesired operation.
Note: This product has been tested and found to comply with the limits for a Class B digital device, pursuant to Part 15 of the FCC Rules. These limits are designed to provide reasonable protection against harmful interference in a residential installation. This product generates, uses, and can radiate radio frequency energy and, if not installed and used in accordance with the instructions, may cause harmful interference to radio communications. However, there is no guarantee that interference will not occur in a particular installation. If this product does cause harmful interference to radio or television reception, which can be determined by turning the equipment off and on, the user is encouraged to try to correct the interference by one or more of the following measures:
- Reorient or relocate the receiving antenna.
- Increase the separation between the equipment and receiver.
- Connect the equipment into an outlet on a circuit different from that to which the receiver is connected.
- Consult the dealer or an experienced radio/TV technician for help.
Please take attention that changes or modification not expressly approved by the party responsible for compliance could void the user’s authority to operate the equipment.
This equipment complies with FCC &IC RSS-102 radiation exposure limits set forth for an uncontrolled environment. This equipment should be installed and operated with minimum distance 20cm between the radiator & your body.
2.2 List of applicable FCC rules
FCC Part 15.247
2.6 RF exposure considerations
This equipment complies with the FCC RF radiation exposure limits set forth for an uncontrolled environment. This equipment should be installed and operated with a minimum distance of 20cm between the radiator and any part of your body.
2.8 Label and compliance information
FCC ID label on the final system must be labeled with “Contains FCC ID: 2AXPC-ML3369T-P” or “Contains transmitter module FCC ID: 2AXPC-ML3369T-P “.
2.9 Information on test modes and additional testing requirements
Contact SHENZHEN YUECHUANGKONGJIAN TECHNOLOGY CO.,LTD will provide stand-alone modular transmitter test mode. Additional testing and certification may be necessary when multiple modules are used in a host.
2.10 Additional testing, Part 15 Subpart B disclaimer
To ensure compliance with all non-transmitter functions the host manufacturer is responsible for ensuring compliance with the module(s) installed and fully operational. For example, if a host was previously authorized as an unintentional radiator under the Supplier’s Declaration of Conformity procedure without a transmitter certified module and a module is added, the host manufacturer is responsible for ensuring that the after the module is installed and operational the host continues to be compliant with the Part 15B unintentional radiator requirements. Since this may depend on the details of how the module is integrated with the host, SHENZHEN YUECHUANGKONGJIAN TECHNOLOGY CO.,LTD shall provide guidance to the host manufacturer for compliance with the Part 15B requirements.
This device complies with Industry Canada licence-exempt RSS standard(s). Operation is subject to the following two conditions:
(1) this device may not cause interference, and
(2) this device must accept any interference, including interference that may cause undesired operation of the device.
CE Caution:
Use the Product in the environment with the temperature Between -20 and 85; Otherwise, it may damage your product. Products can only be used below 2000m altitude
For the following equipment:
Product Name: WiFi Module
Model: ML3369T-P
Brand Name: ![]()
SHENZHEN YUECHUANGKONGJIAN TECHNOLOGY CO.,LTD
E-mail: [email protected]
hereby declares that this [Name: WiFi Module, Model: ML3369T-P is in compliance with the essential requirements and other relevant provisions of Directive 2014/53/EU.
This product is intended for sale and application in a business environment. RED Article 10 2
- This product can be used across EU member states RED Article 10 10
- The product is class 1 product, No restrictions
Wi-Fi (2.4G)
Frequency Range:
2412-2472MHz for 802.11b/g/n(HT20)
2422-2462MHz for 802.11b/g/n(HT40)
Max.RF Output Power: 16.98dBm (EIRP)
The RF distance between product and body is 20cm



















