
9-13 XL Air-Fed True Color Welding and Grinding System
User Manual
GYSMATIC 9-13 XL Air-Fed True Color Welding and Grinding System
V4 – 12/05/2021 – Ref. 043909
Find more languages of user manuals on our website
www.gys.fr
SAFETY INSTRUCTIONS
This user’s manual includes information on the operation of the equipment and the precautions to be followed for the user’s safety. Please read it carefully before first use it and keep it in a safe place for future reference. These instructions must be read and understood before any operation. Any modification or maintenance not indicated in the manual must not be undertaken. Any damage to persons or property caused by use not in accordance with the instructions in this manual shall not be borne by the manufacturer. In the event of a problem or uncertainty, consult a qualified person to handle the product correctly.
Use the welding helmet only for eye and face protection against harmful ultraviolet and infrared radiation, sparks, and spatter from welding.
Never look directly at welding arcs without eye protection when the arc is initiated. Failure to do so may cause painful inflammation of the cornea and potentially irreversible damage to the lens which may result in cataracts.
Look out! The danger of injury if a person wearing a mask and goggles is hit by particles thrown at high speed. The mask, filter, and shields do not guarantee unlimited protection against major shocks or impacts, explosive mechanisms or corrosive liquids. Avoid welding or cutting in these severe environments.
Do not weld or cut above his head with this mask.
Move his face away from the smoky area. Use forced ventilation or local exhaust to remove smoke.
Oxyacetylene, laser or gas welding, and cutting is not permitted with this mask.
Before each use :
– Carefully inspect the mask and its UV/IR filter.
– Replace worn or damaged parts immediately.
– Replace filter lenses or face shields if they are cracked or scratched to prevent damage to the user’s eyes.
The headband can potentially cause allergies in sensitive individuals.
The operating temperatures of the optoelectronic filter are from -10°C to +55°C.
The optoelectronic filter in the mask is not waterproof and will not function properly if it has been in contact with water.
The welding mask must be moved carefully to avoid damage to the filter, guards, and/or protective shell.
Maintenance :
– Do not place heavy objects or tools on or in the facepiece to avoid damage to the filter or face shields.
Mask storage temperatures range from -20°C to +70°C.
– Clean the Optoelectronic Filter with a clean cotton or special lens cloth.
– Regularly clean and change the guard screens.
– Clean the inside and outside of the mask with a neutral detergent-disinfectant. Do not use solvents.
– Make sure that the sensors and cell are not obstructed by dust or debris.
– We recommend using the mask and visors for 5 years.
The length of use depends on various factors such as type of use, cleaning, storage, and maintenance.
BEFORE WELDING
-Check that the welding helmet is in good condition and headband adjustment.
-Check whether the front cover lens, the front frame, and the filter are inserted and fixed in place. In case of anomalies, please proceed to its reconditioning.
-Make sure that the 4 sensors (9) and the cell (8) are not obstructed by dust or debris.
-Make sure that the protection films on both screens are removed.
-Make sure that the red light (1) is off, otherwise change the batteries (7).
-Check that the protection level matches your welding processes. Please refer to the following chart to help with your choice (cf. welding process board)
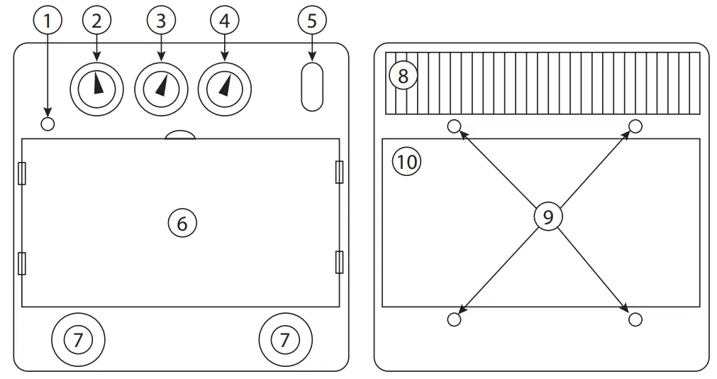
OPERATION
The optoelectronic GYSMATIC LCD 9.13 G welding helmet instantaneously switches from light to dark state when a welding arc is struck and switches back to the light state
when the arc stops.
- Low charge leve
- Shade control knob
- Sensitivity control knob
- Delay time control knob
- Potentiometer «Welding-Grinding»
- LCD protection plate
- Lithium batteries (CR2450)
- Solar cell
- Sensors
- Filter
| 1 | o | • The Low battery indicator blinks when the battery replacement is required. (2 coin type CR 2450, 3V). |
| 2 | • Shade potentiometer: The shade number can be set manually between Din 9 to 13. Select a shade number by the internal knob. | |
| 3 | • Internal sensitivity potentiometer: Sensitivity adjustment according to : – Light ambient: Without welding, turn the sensitivity setting towards «max», then turn the sensitivity setting towards «low» until the filter lightens. – Welding process: «Max» position for low amperage TIG process / Medium range for most applications. | |
| 4 | • Internal delay potentiometer: Time to get the clear state back. Delay is designed for slower switching time to clear state to eliminate remaining bright rays. | |
| 5 | • “WELD/GRIND” knob: For non-welding operation, you can switch off the filter on « Grind » mode. The Grind led will blink to confirm the filter is off. WARNING: To be protected before welding, carefully check the switch to be on WELD mode. |
PRECAUTIONS
- The welding helmet is suitable for use with virtually all welding processes except Oxy-Acetylene welding, laser welding, and gas.
- Standard protective screens must be installed on both the inside and outside surfaces of the module. Failure to use protective screens may constitute a safety hazard or result in irreparable damage to the module.
| Clear shade | 4 |
| Dark shade | 13-Sep |
| Filter dimension | 114x133x9mm |
| Reaction speed | 0.08 ms |
| Power supply | Solar + battery |
| Weight | 580 gr |
| Field of vision | 100x60mm |
| Applications | MMA 5>400A / TIG 5>250A / MIG-MAG 5>500A / Grind |
| Warranty | 2 years |
| Application temperature | -10°C / + 55°C |
| Storage temperature | -20°C / + 70°C |
HEADBAND ADJUSTMENT

The GYSMATIC TRUE COLOR 9/13 G is equipped with a headband that can be adjusted in multiple ways to suit the welder:
- Headband adjustment
- Headband slider(with 3 slots)
- Block washer adjustment
- Longitudinal adjustment
MAINTENANCE
- Expiration date: No expiration date for this product but the state of the Hermès GYSMATIC TRUE COLOR 9/13 G welding helmet must be checked before each use.
- The welding helmet must not fall down.
- The deterioration of the filter or its protective screen can reduce the visual field or the protection level. Replace the damaged parts.
- Do not use any tools or other sharp objects to remove any components of the filter or helmet. Doing so may damage the filter or helmet preventing proper function, and possibly causing injury or cancellation of the warranty.
- Clean the filter with clean cotton or with a special rag for the lens.
- Clean and change protective screens on a regular basis.
REPLACEMENT OF INSIDE AND OUTSIDE PROTECTIVE SCREENS.
- Unscrew the filter retainer (A)
- Replace the internal protection (B) from the LCD filter
- Replace the external protection (C)
- Replace and screw the filter retainer (A)
REPLACING BATTERIE
The optoelectronic filter uses 2 x 3V lithium batteries (CR2450). When the red light «Low battery alarm» (1) is on, the batteries must be changed.
Follow the instructions below to change batteries:
– Position the slider on the cover (7) on «locker open»
– Pull the cover and remove the battery.
– Place a new battery in position. Polarity «+» must stay visible.
– Place the cover (7) back and position the slider on «locker closed»
– Do the same process for the other battery.
– Once the batteries have been replaced, the indicator «Low battery alarm» (1) must stay off.
– We recommend replacing the batteries once a year.
Translation of the original instructions
CAUTION
– Recycle used lithium batteries. In Europe, batteries are considered dangerous waste.
– Do not throw it in the bin. Drop off only at the collection point for used batteries.
SYMPTOMS AND SOLUTIONS
| The optoelectronic filter does not work. | Activate the solar charge by exposing the cell to the light between 20 to 30 minutes – Check and change the battery if necessary. |
| Make sure that the potentiometer is set to the «welding» position (9 to 13) | |
| The filter stays dark after the welding arc is extinguished or when no arc is present. | Check and clean detectors if needed. Adjust the sensitivity knob to the lower position (level 1). If the welding place is extremely bright, it is recommended to reduce the light level. |
| Uncontrolled and sparkling switching: The filter lightens and darkens when welding. | Check arc sensors are not blocked from direct access to the arc light. Set the sensitivity level to 5. |
| The side of the filter is lighter than the center of the viewing area. | It is a natural feature of LCDs, this symptom is not dangerous for the eyes. However, for maximum comfort, try to keep a view angle at around 90°. |
SAFETY LABEL
This label is displayed inside the welding helmet. It is important that the user understands the safety symbols’ signification. The list numbers match image numbers.
Legend :
A. Warning! Beware! There are possible dangers as per the different symbols.
- Read the instructions carefully before using the product or before welding.
- Do not remove the warning label and do not paint on it.
- Follow the settings instructions and maintenance of the filter, the protective screens, the headband, and the hood.
- Inspect the helmet and the UV/IR filter carefully. Replace damaged or worn parts immediately. Cracked, scratched, filter glasses and protective screens decrease protection.
Replace them immediately to avoid damaging your eyes. - Warning, if the UV/IR filter does not tint whilst welding or cutting, stop immediately and consult the user manual.
- Arc radiation can cause eye and skin burns.
6.1. Use a welding helmet with good filtration or opacity. Wear complete protective clothing..
6.2. The helmet, filter, and protective screen do not guarantee unlimited protection against, shocks, impacts, explosions or corrosive liquid. Avoid welding or cutting in a rough environment.
6.3. Do not weld or cut above your head with this helmet. - Keep your head away from the smoke-filled area. Use forced ventilation or a local aspiration system to eliminate smoke.
- The oxyacetylene welding-cutting, laser, or gas is not authorized with this helmet.
FILTER MARKING
EN 379/ Each optoelectronic filter is stamped in accordance with standard
GUARD SCREENS MARKING
Each guard screen is stamped in accordance with EN 166 standard
| External guard screen | CSS | B |
| Internal guard screen | CSS | B |
| Manufacturer identification | ||
| Protection against high-speed particles – F: Low energy impact – B: Medium energy impact | ||
WELDING HELMET MARKING
Each welding helmet is stamped in accordance with EN 175 standard
| Manufacturer identification | CSS |
| Reference to EN 175 Standard | 175 |
| Mechanical resistance – F: Low energy impact – B: Medium energy impact | B |
WELDING PROCESS
Selection of the shade according to the welding process
| current intensity | Coated electrodes | MAG | TIG | heavy metals | light alloys | arc air gouging | plasma cutting | plasma welding |
![]() | ||||||||
PARTS LIST
- Outer protection lens
- Filter
- Inner protection lens
- Headgear
- Antiperspirant headband

WARRANTY
The warranty covers faulty workmanship for 2 years from the date of purchase (parts and labor).
The warranty does not cover:
- Transit damage.
- Presence of scrapers: work without protective glass (guard screen)
- Damages due to misuse (dropping off equipment, disassembling).
- broken glasses
In case of failure, return the unit to your distributor together with: - The proof of purchase (receipt etc …)
- A description of the fault reported
DECLARATION OF CONFORMITY
The welding helmet GYSMATIC TRUE COLOR 9/13 G complies with the 2016/425 regulations. This conformity is established in compliance
with EN 175, EN 166, EN 168, and EN 379.
Filter model: XA-5001
Model of the helmet: AS-4000F
ORGANISATIONS – NOTIFIZIERTE STELLEN
Cell & Welding hood / Protection screen :
DIN CERTCO GESELLSCHAFT FÜR
KONFORMITÄTSBEWERTUNG MBH
Alboinstraße 56
12103 BERLIN
GERMANY
N° identification: 0196
– Device(s) compliant with European directives. The certificate of compliance is available on our website.
– This hardware is subject to the waste collection according to the European directives 2002/96/UE. Do not throw it out in a domestic bin!
– Material complies with British requirements. The British Declaration of Conformity is available on our website (see cover page).
– This product should be recycled appropriately
GYS SAS
1, rue de la Croix des Landes
CS 54159
53941 SAINT-BERTHEVIN Cedex
FRANCE




















