Paul Neuhaus 2533-95 PURE-COSMO LED Pendant Light

SPECIFICATIONS

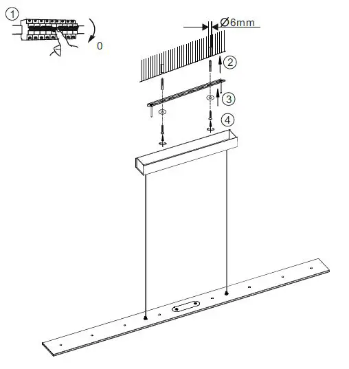
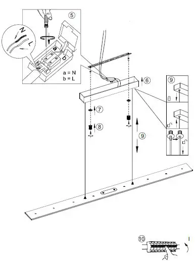
INSTALLATION INSTRUCTIONS

REMOTE CONTROL





REMOTE CONTROL
Download manual
Here you can download full pdf version of manual, it may contain additional safety instructions, warranty information, FCC rules, etc.