RIDGID R01201 18v Grass Trimmer User Manual
WARNING
To reduce the risk of injury, the user must read and understand the operator’s manual before using this product.
SAVE THIS MANUAL FOR FUTURE REFERENCE
- A Switch trigger ( interruptor)
- B – Handle
- C Trigger lock-out
- D – Front handle
- E – Grass deflector
- F – Upper end
- G – Lower end
- H – Speed switch
- I – Knob
- J – Coupler

- A – Screwdriver (tournevis, destornillador)

- A Front handle
- B Wing nut
- C Bolt
- D Bracket
- E Label

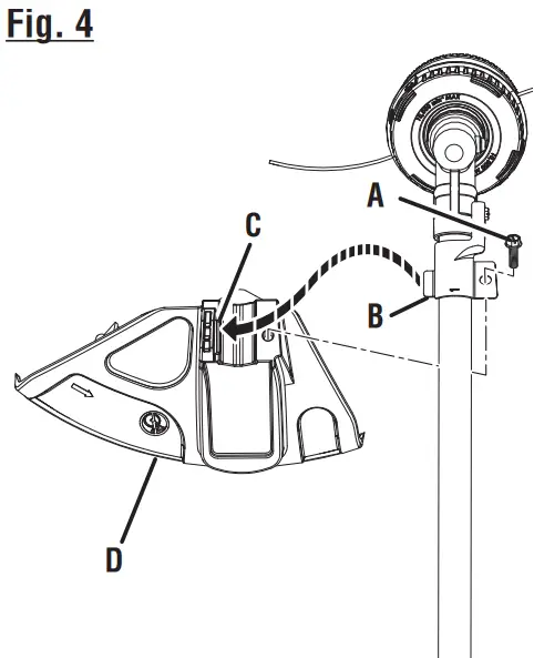
- A – Bolt
- B – Tab
- C – Slot
- D – Grass deflector

- A– Lower end
- B Upper end
- C Knob
- D Button
- E Tighten
- F Loosen
- G Guide recess

- A Battery pack
- B – Depress latches

- A Trigger lock-out
- B Switch trigger
- C Speed switch

- PROPER TRIMMER OPERATING POSITION

- A Direction of rotation
- B – Best cutting area
- C – Dangerous cutting area

- A Line cut-off blade
- B – Line

- A Screw
- B – Line cut-off blade

- A String head
- B Upper housing
- C Arrows aligned

- A Eyelet
- B Arrows
- C Pull lines
- D Rotate the bump knob

- A String winder
- B Bump knob

- A Upper string head housing
- B Tabs
- C Lower string head housing
- D Spool
- E Bump knob
- F Unlocked position
- G Locked position
- H Spool slots
- I Knob ribs

GENERAL POWER TOOL SAFETY WARNINGS
WARNING!
Read all safety warnings, instructions, illustrations and specifications provided with this power tool. Failure to follow all instructions listed below may result in electric shock, fire and/or serious injury.
Save all warnings and instructions for future reference.
The term “power tool” in the warnings refers to your mains operated (corded) power tool or battery operated (cordless) power tool.
WORK AREA SAFETY
- Keep work area clean and well lit. Cluttered or dark areas invite accidents.
- Do not operate power tools in explosive atmospheres, such as in the presence of flammable liquids, gases or dust. Power tools create sparks which may ignite the= dust or fumes.
- Keep children and bystanders away while operating a power tool. Distractions can cause you to lose control.
ELECTRICAL SAFETY
- Power tool plugs must match the outlet. Never modify the plug in any way. Do not use any adapter plugs with earthed (grounded) power tools. Unmodified plugs and matching outlets will reduce risk of electric shock.
- Avoid body contact with earthed or grounded surfaces such as pipes, radiators, ranges and refrigerators. There is an increased risk of electric shock if your body is earthed or grounded.
- Do not expose power tools to rain or wet conditions. Water entering a power tool will increase the risk of electric shock.
- Do not abuse the cord. Never use the cord for carrying, pulling or unplugging the power tool. Keep cord away from heat, oil, sharp edges or moving parts. Damaged or entangled cords increase the risk of electric shock.
- When operating a power tool outdoors, use an extension cord suitable for outdoor use. Use of a cord suitable for outdoor use reduces the risk of electric shock.
- If operating a power tool in a damp location is unavoidable, use a ground fault circuit interrupter (GFCI) protected supply. Use of a GFCI reduces the risk of electric shock.
PERSONAL SAFETY
- Stay alert, watch what you are doing and use common sense when operating a power tool. Do not use a power tool while you are tired or under the influence of drugs, alcohol or medication. A moment of inattention while operating power tools may result in serious personal injury.
- Use personal protective equipment. Always wear eye protection. Protective equipment such as dust mask, nonskid safety shoes, hard hat, or hearing protection used for appropriate conditions will reduce personal injuries.
- Prevent unintentional starting. Ensure the switch is in the off-position before connecting to power source and/or battery pack, picking up or carrying the tool. Carrying power tools with your finger on the switch or energising power tools that have the switch on invites accidents.
- Remove any adjusting key or wrench before turning the power tool on. A wrench or a key left attached to a rotating part of the power tool may result in personal injury.
- Do not overreach. Keep proper footing and balance at all times. This enables better control of the power tool in unexpected situations.
- Dress properly. Do not wear loose clothing or jewellery. Keep your hair, clothing and gloves away from moving parts. Loose clothes, jewellery or long hair can be caught in moving parts.
- If devices are provided for the connection of dust extraction and collection facilities, ensure these are connected and properly used. Use of dust collection can reduce dust-related hazards.
- Do not let familiarity gained from frequent use of tools allow you to become complacent and ignore tool safety principles. A careless action can cause severe injury within a fraction of a second.
POWER TOOL USE AND CARE
- Do not force the power tool. Use the correct power tool for your application. The correct power tool will do the job better and safer at the rate for which it was designed.
- Do not use the power tool if the switch does not turn it on and off. Any power tool that cannot be controlled with the switch is dangerous and must be repaired.
- Disconnect the plug from the power source and/or the battery pack from the power tool before making any adjustments, changing accessories, or storing power tools. Such preventive safety measures reduce the risk of starting the power tool accidentally.
- Store idle power tools out of the reach of children and do not allow persons unfamiliar with the power tool or these instructions to operate the power tool. Power tools are dangerous in the hands of untrained users.
- Maintain power tools and accessories. Check for misalignment or binding of moving parts, breakage of parts and any other condition that may affect the power tool’s operation. If damaged, have the power tool repaired before use. Many accidents are caused by poorly maintained power tools.
- Keep cutting tools sharp and clean. Properly maintained cutting tools with sharp cutting edges are less likely to bind and are easier to control.
- Use the power tool, accessories and tool bits etc. in accordance with these instructions, taking into account the working conditions and the work to be performed. Use of the power tool for operations different from those intended could result in a hazardous situation.
- Keep handles and grasping surfaces dry, clean and free from oil and grease. Slippery handles and grasping surfaces do not allow for safe handling and control of the tool in unexpected situations.
BATTERY TOOL USE AND CARE
- Recharge only with the charger specified by the manufacturer. A charger that is suitable for one type of battery pack may create a risk of fire when used with another battery pack.
- Use power tools only with specifically designated battery packs. Use of any other battery packs may create a risk of injury and fire.
- When battery pack is not in use, keep it away from other metal objects, like paper clips, coins, keys, nails, screws or other small metal objects, that can make a connection from one terminal to another. Shorting the battery terminals together may cause burns or a fire.
- Under abusive conditions, liquid may be ejected from the battery; avoid contact. If contact accidentally occurs, flush with water. If liquid contacts eyes, additionally seek medical help. Liquid ejected from the battery may cause irritation or burns.
- Do not use a battery pack or tool that is damaged or modified. Damaged or modified batteries may exhibit unpredictable behaviour resulting in fire, explosion or risk of injury.
- Do not expose a battery pack or tool to fire or excessive temperature. Exposure to fire or temperature above 265°F may cause explosion.
- Use this product only with batteries and chargers listed in tool/appliance/battery pack/charger correlation supplement 987000-432.
- Follow all charging instructions and do not charge the battery pack or tool outside the temperature range specified in the instructions. Charging improperly or at temperatures outside the specified range may damage the battery and increase the risk of fire.
SERVICE
- Have your power tool serviced by a qualified repair person using only identical replacement parts. This will ensure that the safety of the power tool is maintained.
- When servicing a power tool, use only identical replacement parts. Follow instructions in the Maintenance section of this manual. Use of unauthorized parts or failure to follow Maintenance instructions may create a risk of shock or injury.
- Never service damaged BATTERY packs. Service of BATTERY packs should only be performed by the manufacturer or authorized service providers.
GRASS TRIMMER SAFETY WARNINGS
- Do not use the machine in bad weather conditions, especially when there is a risk of lightning. This decreases the risk of being struck by lightning.
- Thoroughly inspect the area for wildlife where the machine is to be used. Wildlife may be injured by the machine during operation.
- Thoroughly inspect the area where the machine is to be used and remove all stones, sticks, wires, bones, and other foreign objects. Thrown objects can cause personal injury.
- Before using the machine, always visually inspect to see that the cutter or blade and the cutter or blade assembly are not damaged. Damaged parts increase the risk of injury.
- Follow instructions for changing accessories. Improperly tightened blade securing nuts or bolts may either damage the blade or result in it becoming detached.
- Wear eye, ear, head and hand protection. Adequate protective equipment will reduce personal injury by flying debris or accidental contact with the cutting line or blade.
- While operating the machine, always wear non-slip and protective footwear. Do not operate the machine when barefoot or wearing open sandals. This reduces the chance of injury to the feet from contact with the moving cutters or lines.
- While operating the machine, always wear long trousers. Exposed skin increases the likelihood of injury from thrown objects.
- Keep bystanders away while operating the machine. Thrown debris can result in serious personal injury.
- Always use two hands when operating the machine. Holding the machine with both hands will avoid loss of control.
- Hold the machine by the insulated gripping surfaces only, because the cutting line or blade may contact hidden wiring. Cutting line or blades contacting a “live” wire may make exposed metal parts of the machine “live” and could give the operator an electric shock.
- Always keep proper footing and operate the machine only when standing on the ground. Slippery or unstable surfaces may cause a loss of balance or control of the machine.
- Do not operate the machine on excessively steep slopes. This reduces the risk of loss of control, slipping and falling which may result in personal injury.
- When working on slopes, always be sure of your footing, always work across the face of slopes, never up or down and exercise extreme caution when changing direction. This reduces the risk of loss of control, slipping and falling which may result in personal injury.
- Keep all parts of the body away from the cutter, line or blade when the machine is operating. Before you start the machine, make sure the cutter, line or blade is not contacting anything. A moment of inattention while operating the machine may result in injury to yourself or others.
- Do not operate the machine above waist height. This helps prevent unintended cutter or blade contact and enables better control of the machine in unexpected situations.
- Maintain control of the machine and do not touch cutters, lines or blades and other hazardous moving parts while they are still in motion. This reduces the risk of injury from moving parts.
- Carry the machine with the machine switched off and away from your body. Proper handling of the machine will reduce the likelihood of accidental contact with a moving cutter, line or blade.
- Only use replacement cutters, lines, cutting heads and blades specified by the manufacturer. Incorrect replacement parts may increase the risk of breakage and injury.
- When clearing jammed material or servicing the machine, make sure the switch is off and the batterypack is removed. Unexpected starting of the machine while clearing jammed material or servicing may result in serious personal injury.
- Do not use on a ladder or unstable support. Stable footing on a solid surface enables better control of the power tool in unexpected situations.
- Wear heavy, long pants, long sleeves, boots, and gloves. Do not wear loose fitting clothing, short pants, sandals, or go barefoot. Do not wear jewelry of any kind.
- Keep all cooling air inlets clear of debris. Blocked air inlets and debris may result in overheating or risk of fire.
| The following signal words and meanings are intended to explain the levels of risk associated with this product. | ||
| SYMBOL | SIGNAL | MEANING |
| DANGER: | Indicates a hazardous situation, which, if not avoided, will result in death or serious injury. | |
| WARNING: | Indicates a hazardous situation, which, if not avoided, could result in death or serious injury. | |
| CAUTION: | Indicates a hazardous situation, that, if not avoided, may result in minor or moderate injury. | |
| NOTICE: | (Without Safety Alert Symbol) Indicates information considered important, but not related to a potential injury (e.g. messages relating to property damage). | |
| Some of the following symbols may be used on this product. Please study them and learn their meaning. Proper in- terpretation of these symbols will allow you to operate the product better and safer. | ||
| SYMBOL | NAME | DESIGNATION/EXPLANATION |
| Safety Alert | Indicates a potential personal injury hazard. | |
![]() | Read Operator’s Manual | To reduce the risk of injury, user must read and understand operator’s manual before using this product. |
![]() | Eye and Hearing Protection | Always wear eye protection with side shields marked to comply with ANSI Z87.1 along with hearing protection when operating this equipment. |
![]() | Wet Conditions Alert | Risk of fire and burns. Do not expose battery, battery compartment, or electronic components to rain, water, or liquids. |
![]() | Keep Bystanders Away | Keep all bystanders at least 50 ft. away. |
![]() | Ricochet | Thrown objects can ricochet and result in personal injury or property damage. |
![]() | No Blade | Do not install or use any type of blade on a product displaying this symbol. |
![]() | Disconnect battery before maintenance | To reduce the risk of injury, user must remove the battery prior to performing service or maintenance on the product. |
![]() | Recycle Symbol | This product uses lithium-ion (Li-ion) batteries. Local, state, or federal laws may prohibit disposal of batteries in ordinary trash. Consult your local waste authority for information regarding available recycling and/ or disposal options. |
SYMBOLS
| Some of the following symbols may be used on this product. Please study them and learn their meaning. Proper in- terpretation of these symbols will allow you to operate the product better and safer. | ||
| SYMBOL | NAME | DESIGNATION/EXPLANATION |
| Direct Current | Type or a characteristic of current | |
| no | No Load Speed | Rotational speed, at no load |
| …/min | Per Minute | Revolutions, strokes, surface speed, orbits etc., per minute |
| V | Volts | Voltage |
| Hz | Hertz | Frequency (cycles per second) |
| min | Minutes | Time |
FEATURES
PRODUCT SPECIFICATIONS
Motor: 18 V DC
Cutting Swath: 12–14 in.
Line Size: 0.095 in. twisted
KNOW YOUR GRASS TRIMMER
See Figure 1.
The safe use of this product requires an understanding of the information on the tool and in this operator’s manual as well as a knowledge of the project you are attempting. Before use of this product, familiarize yourself with all operating features and safety rules.
ADJUSTABLE CUTTING DIAMETER
The cutting diameter is adjustable from 12 in. and 14 in. by rotating the line cutoff blade.
GRASS DEFLECTOR
The trimmer includes a grass deflector that helps protect from flying debris.
NOTE: Failure to attach the grass deflector prevents the line being cut to the proper length and can cause tool failure.
HANDLE OVERMOLD
Handle over mold provides added user comfort.
TRIGGER LOCK-OUT
The trigger lock-out prevents accidental starting.
SPEED SWITCH
This tool has a speed selector that allows the operator to choose between two speeds. Speed one runs 5,200 RPM. Speed two runs 6,200 RPM. Using speed one during operation can help extend battery run time, while using speed two will improve power and performance.
VARIABLE SPEED SWITCH TRIGGER
This tool has a variable speed switch that delivers higher speed with increased trigger pressure. Speed is controlled by the amount of switch trigger depression.
ASSEMBLY
UNPACKING
This product requires assembly.
- Carefully remove the product and any accessories from the box. Make sure that all items listed in the Packing List are included.
WARNING:
Do not use this product if any parts on the Packing List are already assembled to your product when you unpack it. Parts on this list are not assembled to the product by the manufacturer and require customer installation. Use of a product that may have been improperly assembled could result in serious personal injury.
- Inspect the product carefully to make sure no breakage or damage occurred during shipping.
- Do not discard the packing material until you have carefully inspected and satisfactorily operated the product.
- If any parts are damaged or missing, please call 1-866-539-1710 for assistance.
PACKING LIST
Grass Deflector Assembly
Front Handle Assembly
String Winder
Operator’s Manual
WARNING:
If any parts are damaged or missing do not operate this product until the parts are replaced. Use of this product with damaged or missing parts could result in serious personal injury.
WARNING:
Do not attempt to modify this product or create accessories not recommended for use with this product. Any such alteration or modification is misuse and could result in a hazardous condition leading to possible serious personal injury.
WARNING:
To prevent accidental starting that could cause serious personal injury, always remove the battery pack from the product when assembling parts.
TOOLS NEEDED
See Figure 2.
The following tool (not included or drawn to scale) is needed
for assembly:
- Screwdriver
ATTACHING THE FRONT HANDLE
See Figure 3.
- Loosen and remove the wing nut and the bracket from the handle.
- Install the handle on the upper shaft at the location indicated by the label on the shaft.
- Install the bracket into the recess and over the bolt as shown.
- Reinstall the wing nut. Finger tighten.
- Adjust handle up or down, if necessary, to desired operating position.
- Tighten the wing nut securely by hand.
ATTACHING THE GRASS DEFLECTOR
See Figure 4.
WARNING:
The line cut-off blade on the grass deflector is sharp. Avoid contact with the blade. Failure to avoid contact can result in serious personal injury.
NOTICE:
Failure to attach the grass deflector prevents the line being cut to the proper length and can cause tool failure.
- Remove the battery pack.
- Remove the bolt from the grass deflector.
- Insert the tab on the mounting bracket in the slot on the grass deflector
- Align the hole in the mounting bracket with the hole in the grass deflector.
- Insert the bolt through the mounting bracket and into the grass deflector.
- Tighten the bolt securely with a screwdriver (not included).
ASSEMBLING THE TOOL
See Figure 5.
WARNING:
Never install, remove, or adjust any attachment while the motor is running or with the battery pack installed. Failure to stop the motor or remove the battery pack can result in serious personal injury.
- Remove the battery pack if installed.
- Loosen the knob on the coupler of the upper end.
- Push in the button located on the lower end. Align the button with the guide recess on the coupler and slide the two ends together. Rotate the lower end until button locks into the positioning hole.
NOTE: If the button does not release completely in the positioning hole, the ends are not locked into place. Slightly rotate from side to side until the button is locked into place. - Tighten the knob securely.
WARNING:
Be certain the ends are locked into place before operating grass trimmer; check it periodically for tightness during use to avoid possible disconnection of ends, which could result in serious personal injury.
CAUTION:
Be careful when sliding the two ends together to avoid pinching your hands or fingers.
WARNING:
This grass trimmer is designed to use only the provided trimmer shaft and string head. It is not capable of using other attachments or cutting heads. Attempting to use other attachments or cutting heads could result in serious personal injury.
OPERATION
WARNING:
Do not allow familiarity with products to make you careless. Remember that a careless fraction of a second is sufficient to inflict serious injury.
WARNING:
Always wear eye protection with side shields marked to comply with ANSI Z87.1. Failure to do so could result in objects being thrown into your eyes, resulting in possible serious injury.
WARNING:
Never use blades, flailing devices, wire, or rope on this product. Do not use any attachments or accessories not recommended by the manufacturer of this product. The use of attachments or accessories not recommended can result in serious personal injury.
NOTICE:
Before each use, inspect the entire product for damaged, missing, or loose parts such as screws, nuts, bolts, caps, etc. Tighten securely all fasteners and caps and do not operate this product until all missing or damaged parts are replaced. Inspect the machine for damage upon striking a hard object or if there appears to be excessive vibration. Please contact customer service or a qualified service center for assistance.
INSTALLING/REMOVING BATTERY PACK
See Figure 6.
WARNING:
Always remove battery pack from your tool when you are assembling parts, making adjustments, cleaning, or when not in use. Removing battery pack will prevent accidental starting that could cause serious personal injury.
OPERATION
To install:
- Insert the battery pack into the product as shown.
- Make sure the latches on each side of the battery pack snap into place and that battery pack is secured in the product before beginning operation.
To remove:
- Depress the latches and remove the battery pack. For complete charging instructions, refer to the Operator’s Manuals for your battery pack and charger.
WARNING:
To avoid serious personal injury, always remove the battery pack and keep hands clear of the trigger lock-out when carrying or transporting the tool.
STARTING/STOPPING THE GRASS TRIMMER
See Figure 7.
To start:
- Move the trigger lock-out into the slot in the switch trigger.
- Depress the switch trigger
To stop:
- Release the switch trigger to stop the grass trimmer.
- Upon release of the switch trigger, the trigger lock-out will automatically reset to the locked position.
OPERATING THE TRIMMER
See Figure 8.
Follow these tips when using the grass trimmer:
- Hold the trimmer with your right hand on the rear handle and your left hand on the front handle.
NOTE: Always wait for the motor to stop and remove the battery prior to adjusting the front handle. - Keep a firm grip with both hands while in operation.
- Trimmer should be held at a comfortable position with the rear handle about hip height.
- Cut tall grass from the top down. This will prevent grass from wrapping around the boom housing and string head which may cause damage from overheating.
If grass becomes wrapped around the string head: - Remove the battery pack.
- Remove the grass
WARNING:
Always hold the grass trimmer away from the body keeping clearance between the body and the grass trimmer. Any contact with the grass trimmer cutting head while operating can result in serious personal injury.
CUTTING TIPS
See Figure 9.
- This product is designed to cut small weeds, grass or similar soft vegetation.
- Keep the trimmer tilted toward the area being cut; this is the best cutting area.
- The grass trimmer cuts when passing the unit from right to left. This will avoid throwing debris at the operator. Avoid cutting in the dangerous area shown.
- Use the tip of the line to do the cutting; do not force string head into uncut grass.
- Wire and picket fences cause extra line wear, even breakage. Stone and brick walls, curbs, and wood may wear line rapidly.
- Avoid trees and shrubs. Tree bark, wood moldings, siding, and fence posts can easily be damaged by the line.
ADVANCING THE CUTTING LINE ON THE BUMP FEED TRIMMER HEAD
See Figure 10.
Line advance is controlled by tapping the string head on grass while running motor at full speed.
- press the switch trigger completely.
- Tap the bump knob on ground to advance line. The line advances each time the knob is tapped. Do not hold the knob on the ground.
NOTE: The line trimming cut-off blade on the grass deflector will cut the line to the correct length.
NOTE: If the line is worn too short you may not be able to advance the line by tapping it on the ground. If so, remove the battery pack and manually advance the line.
To advance the cutting line manually: - Remove the battery pack.
- Push the bump knob in while pulling on line(s) to manually advance the line.
OPERATION
NOTICE:
Failure to attach the grass deflector prevents the line being cut to the proper length and can cause tool failure.
- Resume trimming.
ADJUSTING THE LINE CUT-OFF BLADE
See Figure 11.
This trimmer is equipped with a line cut-off blade on the grass deflector. For best cutting, advance line until it is trimmed to length by the line cut-off blade. Advance line whenever you hear the engine running faster than normal, or when trimming efficiency diminishes. This will maintain best performance and keep line long enough to advance properly.
This trimmer is currently set at the 14 in. cutting swath. To adjust to a cutting swath of 12 in.:
- Remove the battery pack.
- Loosen the blade screw with a Phillips head screwdriver (not included) and rotate the line cut-off blade 180°.
- Tighten the blade screw.
WARNING:
The line cut-off blade on the grass deflector issharp. Use gloves while working with the blade. Direct contact with the blade can result in serious personal injury.
MAINTENANCE
WARNING:
To avoid serious personal injury, always remove the battery pack from the tool when cleaning or performing any maintenance.
WARNING:
Always wear eye protection with side shields marked to comply with ANSI Z87.1. Failure to do so could result in objects being thrown into your eyes, resulting in possible serious injury.
WARNING:
When servicing, use only identical replacement parts. Use of any other parts can create a hazard or cause product damage.
NOTICE:
Periodically inspect the entire product for damaged, missing, or loose parts such as screws, nuts, bolts, caps, etc. Tighten securely all fastenersand caps and do not operate this product until all missing or damaged parts are replaced. Please contact customer service or a qualified service center for assistance.
GENERAL MAINTENANCE
Avoid using solvents when cleaning plastic parts. Most plastics are susceptible to damage from various types of commercial solvents and may be damaged by their use. Use clean cloths to remove dirt, dust, oil, grease, etc.
WARNING:
Do not at any time let brake fluids, gasoline, petroleum-based products, penetrating oils, etc., come in contact with plastic parts. Chemicals can damage, weaken or destroy plastic which can result in serious personal injury.
LINE REPLACEMENT
See Figures 12 – 14.
Use original manufacturer’s replacement line for best performance.
- Remove the battery pack.
- Rotate the bump knob clockwise as necessary to align the arrows on the bump knob with the arrows on the string head housing.
- Cut one piece of trimmer line no more than 16 ft long. Insert the line into the eyelet on the string head housing. Push until the end of the line comes out the other side of the housing. Pull the line until equal amounts of line appear on both sides of the housing.
NOTE: Line may jam if more than 16 ft. is loaded. - Either by hand or using the string winder, rotate the bump knob clockwise to wind the line on the spool until approximately 6 in. of line is showing on each side.
NOTE: For best results, after every five to seven revolutions of the string winder pull both line ends taut for best loading results and to help prevent line from tangling. - Push the bump knob down while pulling on line(s) to manually advance the line
CLEARING BUMP FEED TRIMMER HEAD LINE JAM AND/OR REPLACING BUMP KNOB
See Figure 15
- Remove the battery pack.
- Remove the bump feed trimmer head housing by rotating the lower housing counterclockwise so the arrow on the upper housing aligns with the outside arrow on the bump feed housing.
NOTE: The housing is spring loaded and will self eject when unlocked. It is not necessary to remove the upper string head housing from the drive shaft. - Push the spool and bump knob through the string head housing and remove the string from the spool.
- If replacing the bump knob, remove the old knob from the spool. Align the knob ribs with the spool slots and place the new bump knob onto the spool. If you are not replacing the bump knob, skip this step.
- Insert the bump knob and spool assembly through the opening in the string head housing.
- Align the arrows on the lower string head housing with the arrows on the upper string head housing.
- Push the housing together and rotate the lower housing clockwise until the arrows on the lower housing are aligned with the lock on the upper housing.
- Install line as described in Line Replacement.
STORING THE TRIMMER
- Remove the battery pack from the grass trimmer before storing.
- Clean all foreign material from the trimmer.
- Store it in a place that is inaccessible to children.
- Keep away from corrosive agents such as garden chemicals and de-icing salts.
REPLACEMENT PARTS
Only use 0.095 inch non-metallic filament line. Replacement line is available at your local retailer or call customer service at (toll free) 1-866-539-1710 or go to www.RIDGID.com.
Costumer Support
For parts or service, do not return this product to the store; contact our service center. Please call 1-866-539-1710 or visit us online at powertools.ridgid.com. Be sure to provide all relevant information when you call or visit. A replacement parts list is also available online.
The item, manufacturing, and serial numbers of the tool are found on a plate attached to the motor housing. Please record these numbers in the spaces provided below. When ordering repair parts, always give the following information:
TEMNO: ——————-
SERIALNO: —————
MANUFACTURING NO: ———————
*Model/item number on product may have additional letters at the end. These letters designate manufacturing information and should be provided when calling for service
This product has a 90-Day Satisfaction Guarantee Policy,
as well as a Three-year Limited Warranty.
For Warranty and Policy details, please go to
www.RIDGID.com or call (toll free) 1-866-539-1710.





































