
95074 18V Cordless Grass Trimmer
User Manual
Original User’s Instructions
18V 26cm Cordless Grass Trimmer
SKU: 95074
READ BEFORE USE
PLEASE KEEP THESE INSTRUCTIONS FOR FURTHER REFERENCE
WHAT’S IN THE BOX

TOOLS REQUIRED

SPECIFICATION
| Technical Data | |
| Model | ST1904-2 |
| Nominal voltage of product with battery | 18V d.c./2.0Ah Li-ion |
| No-load cutting speed | 8000 /min |
| Cutting width | 26cm |
| Line diameter | 1.6mm |
| Line length | 6m |
| Net weight approx. | 2.2 kg |
| Measured sound pressure level | 81.3 dB(A), K=3.0 dB(A) |
| Guaranteed sound power level | 96 dB(A) |
| Vibrations | <2.5 m/s²; K=1.5 m/s² |
| Battery pack Model | B0P-SP07-18ZM |
| Battery capacity | 2.0Ah |
| Battery charging time Max. | 50mins |
| Battery charger Model | B0Q-SP06-20ZB |
| Battery charger input | 220-240V AC, 50/60Hz 65W |
| Battery charger output | 20V d.c. 2.4A |
| Protection class of charger | class II / |
Note: The above specifications are the MAXIMUM capacities of the tool. Voltage measured without workload. Initial battery voltage reaches 20 Volts. Nominal voltage is 18 Volts.
The sound values have been determined according to noise test code given in EN 786, using the basic standards EN ISO 11201 and EN ISO 3744.
The sound intensity level for the operator may exceed 80 dB(A) and ear protection measures are necessary.
The declared vibration value has been measured in accordance with a standard test method (according to EN 786) and may be used for comparing one product with another. The declared vibration value may also be used in a preliminary assessment of exposure.
WARNING!
Depending on the actual use of the product the vibration values can differ from the declared total!
Adopt proper measures to protect yourself against vibration exposures! Take the whole work process including times the product is running under no load or switched off into consideration!
Proper measures include among others regular maintenance and care of the product and cutting attachments, keeping hands warm, periodical breaks and proper planning of work processes!
EXPLANATIONS AND SYMBOLS, CAUTIONS AND WARNINGS
![]() | This symbol indicates that there is a danger of serious personal injury or death if you do not observe the warning. |
| To reduce the risk of injury, user must read instruction manual carefully. | |
| Wear eye protection. | |
| Wear ear protection. | |
| Do not expose to rain. | |
![]() | Guaranteed sound power level. |
![]() | Remove the battery pack before adjusting, cleaning or maintenance, and before leaving the machine unattended for any period. |
| Objects thrown by the line trimmer could hit the user or other bystanders. Keep bystanders away. | |
| Keep other people out of working area during operation. A distance of at least 15 m must be observed. | |
| Do not dispose of batteries in rivers or immerse in water. | |
| Do not subject the battery to strong sunlight over long periods and do not leave it on a heater (max.45ºC). | |
| Do not dispose of batteries in a fire. They will explode and cause injury. | |
| Li-Ion battery This product has been marked with a symbol relating to ‘separate collection’ for all battery packs and battery pack. It will then be recycled or dismantled in order to reduce the impact on the environment. Battery packs can be hazardous for the environment and for human health since they contain hazardous substances. | |
| WEEE symbol. Waste electrical products should not be disposed of with household waste. Please recycle where facilities exist. Check with your local authority or local store for recycling guidelines | |
| Double insulation (Only for charger) | |
| The charger is for indoor use only. | |
![]() | Fuse |
| The product complies with the applicable European directives and an evaluation method of conformity for these directives was done. | |
| UK Conformity Assessed |
IMPORTANT SAFETY WARNINGS
General Safety Instructions
Warning: Please read the following instructions carefully, failure to do so could lead to serious personal injury. When using the electric grass trimmer, basic safety precautions, including the following, should always be followed to reduce the risk of fire,electric shock and personal injury. Read all these instructions before operating this product and save these instructions. Become familiar with the owner’s manual before attempting to operate this machine.
- This appliance is not intended for use by persons (including children) with reduced physical, sensory or mental capabilities, or lack of experience and knowledge, unless they have been given supervision or instruction concerning use of the appliance by a person responsible for their safety.
- Children should be supervised to ensure that they do not play with the appliance.
- The appliance is only to be used with the power supply unit provided with the appliance.
Important! Read carefully before use, keep for further reference.
Training
- Read the instructions carefully. Be familiar with the controls and the proper use of the equipment.
- Never allow children, persons with reduced physical, sensory or mental capabilities or lack of experience and knowledge or people unfamiliar with these instructions to use the machine, local regulations may restrict the age of the operator.
- Never operate the machine while people, especially children, or pets are nearby.
- Keep in mind that the operator or user is responsible for accidents or hazards occurring to other people or their property.
Preparation
- While trimming, always wear substantial footwear and long trousers. Do not operate the equipment when barefoot or wearing open sandals.
- Thoroughly inspect the area where the equipment is to be used and remove all objects which can be thrown by the machine.
- Before use, always visually inspect the machine for damaged, missing or misplaced guards or shields.
- Ensure the switch is in the off position before inserting the battery pack. Inserting the battery pack into a machine that is switched on can result in injury.
- Never operate the machine while people, especially children, or pets are nearby.
Product Safety Warnings
General Operation
- Use the tool only with specifically designated battery packs. Use of any other battery packs will increase the risk of injury and fire.
- Only operate the product in daylight or in good artificial light.
- Do not expose tool and charger to rain or wet conditions. If a tool or charger is exposed to moisture it will increase the risk of electric shock, battery damage, fire or explosion.
- Wear eye protection, long trousers and stout shoes at all times while operating the machine.
- Avoid using the machine in bad weather conditions especially when there is a risk of lightning.
- Never operate the machine with damaged guards or shields or without guards or shields in place.
- Switch on the motor only when the hands and feet are away from the cutting means.
- Take care against injury to feet and hands from the cutting means.
- Always ensure that the ventilation openings are kept clear of debris.
- Never fit metal cutting elements.
- Always be sure of your footing on slopes.
- Walk, never run.
- Do not overreach and keep the balance at all times.
- Do not touch moving hazardous parts before removing the battery pack from the machine and the moving hazardous parts have come to a complete stop.
- Do not transport the product while the rotating parts are running.
- Stop the product and remove the battery pack from the machine and make sure that all moving parts have come to a complete stop:
► Whenever you leave the product unattended.
► Before clearing blockages or unclogging chute.
► Before checking, cleaning or working on the product.
► After striking a foreign object. Make sure to inspect the product for damage and make repairs before restarting and operating the product.
► Whenever the machine starts vibrating abnormally. - If the product starts to vibrate abnormally:
►Inspect for any damages.
► Replace or repair any damaged parts.
► Check for and tighten any loose parts.
Safety Warning For Battery Pack
- Fully charge battery pack before the first use.
- Recharge battery pack when the power output starts to slow.
Do not continue to use product when battery capacity level is low. - To prevent serious damage to the battery pack, charge in temperatures above 5°C or below 45°C. Longest life and best performance can be achieved when battery is charged at room temperature (20 °C ± 5 °C).
- If the battery temperature is hot after use, it must be allowed to cool before putting it into the charging station.
- If the battery pack becomes too hot during charging, disconnect and switch off immediately. Contact the service center directly.
- Do not dismantle, open or shred cells or battery pack.
- Do not short-circuit a battery pack. Do not store battery packs haphazardly in a box or drawer where they may short-circuit each other or be short-circuited by conductive materials. When battery pack is not in use, keep it away from other metal objects, like paper clips, coins, keys, nails, screws or other small metal objects, that can make a connection from one terminal to another. Shorting the battery terminals together may cause burns or a fire.
- Do not carry individual battery packs in your pockets or bag as they could short-circuit against other metal items.
- Do not expose battery pack to heat or fire. Avoid use or storage in direct sunlight for extended periods of time.
- Do not subject battery pack to mechanical shock.
- In the event of battery leaking, do not allow the liquid to come into contact with the skin or eyes. If contact has been made, wash the affected area with copious amounts of water and seek medical advice.
- Should a Li-ion battery catch fire, ensure to use the correct fire extinguisher to combat the fire. Do not throw or spray water on a burning Li-ion battery.
- Keep battery pack clean and dry. Wipe the battery pack terminals with a clean dry cloth if they become dirty.
- Battery pack needs to be charged before use. Always refer to this instruction and use the correct charging procedure.
- Do not maintain battery pack on charge when not in use.
- After extended periods of storage, it may be necessary to charge and discharge the battery pack several times to obtain maximum performance.
- Battery pack gives its best performance when it is operated at normal room temperature (20 °C ± 5 °C).
- When disposing of battery packs, keep battery packs of different electrochemical systems separate from each other.
- Recharge only with the charger specified by manufacturer. Do not use any charger other than that specifically provided for use with the equipment. A charger that is suitable for one type of battery pack may create a risk of fire when used with another battery pack.
- Do not use any battery pack which is not designed for use with the equipment.
- Keep battery pack out of the reach of children.
- Retain the original product literature for future reference.
- Remove the battery from the equipment when not in use.
- Dispose of properly.
- Do not mix cells of different manufacture, capacity, size or type within a device.
- Do not remove battery pack from its original packaging until required for use.
Safety Warning For Battery Charger
- Charge only battery pack of the same model provided by manufacturer and of models recommended by manufacturer.
- Do not use the original charger on other Li-ion batteries or on any other type of battery as this can increase the risk of fi e or explosion.
- Check the battery charger, cable and plug before each use. Do not use the battery charger if damaged. Do not open the battery charger yourself, charger must be repaired by qualified personnel using original spare parts.
- The charger is designed to use a standard household 220-240 V~ 50Hz power source, ensure that the plug matches the outlet.
- Never modify the plug in any way, this will reduce the risk of electric shock.
- Do not abuse the cord of charger. Never use the cord for carrying, pulling or unplugging the charger. Keep cord away from heat, oil, sharp edges or moving parts. Damaged or entangled cords increase the risk of electric shock.
- Make sure the charger cord is situated so that it will not be stepped on, tripped over or get damaged.
- If the supply cord is damaged, it must be replaced by the manufacturer, its service agent or similarly qualified persons in order to avoid a hazard.
- Keep the battery charger clean. Contamination can increase the risk of electric shock.
- Protect the battery charger from rain and moisture. If water accesses the battery charger there is an increased risk of electric shock.
- Battery will heat up whilst charging. When charging batteries, ensure that the battery charger is in a well-ventilated area and to reduce the risk of fire, do not operate battery charger on or close to inflammable materials such as paper or textiles.
- Do not overcharge any batteries. Ensure that batteries and chargers are not left unsupervised during charging.
- The temperature range over which the battery pack can be charged is typically between 5°C-45°C. Attempts to charge out with the prescribed temperature range may automatically be blocked by the protection circuitry of the battery pack. Longest life and best performance can be obtained if the battery pack is charged at room temperature.
- Disconnect charger from the power supply when not in use. This will reduce the risk of electric shock or damage to the charger.
- This charger can be used by children aged from 8 years and above and persons with reduced physical, sensory or mental capabilities or lack of experience and knowledge if they have been given supervision or instruction concerning use of the appliance in a safe way and understand the hazards involved.
- Children shall not play with the appliance. Cleaning and user maintenance shall not be made by children without supervision.
Maintenance and Storage
- Always allow the product to cool down before storing.
Disconnect the machine from the power supply (e.g., remove the battery pack from the machine) before carrying out maintenance or cleaning work. - Use only the manufacturer’s recommended replacement parts and accessories.
- Inspect and maintain the machine regularly. Have the machine repaired only by an authorized repairer.
- When not in use, store the machine out of the reach of children.
- Replace worn or damaged parts for safety. Use only genuine replacement parts and accessories.
- Do not attempt to open the charger and battery pack. There are no customer serviceable parts inside. Return to any authorised service centre.
- Store the appliance with battery pack fully charged at room temperature. When not in use, store the machine out of the reach of children.
- Every deep discharge cycle decreases the capacity of battery pack. To prolong battery life, it is recommended that you charge the battery every six months within extended periods of time when the product is not in use.
- Have your tool repaired by an authorized service agent. This tool is manufactured in accordance with the relevant safety regulations. To avoid danger, equipment must only be repaired by qualified technicians.
- Only use parts and accessories made for this machine by the manufacturer. Failure to do so can result in personal injury.
Vibration and Noise Reduction
To reduce the impact of noise and vibration emission, limit the time of operation, use low-vibration and low-noise operating modes as well as wear personal protective equipment.
Take the following points into account to minimize the vibration and noise exposure risks:
- Only use the product as intended by its design and these instructions.
- Ensure that the product is in good condition and well maintained.
- Use correct cutting device for the product and ensure they in good condition.
- Keep tight grip on the handles/gripping surface.
- Maintain this product in accordance with these instructions and keep it well lubricated (where appropriate).
- Plan your work schedule to spread any high vibration tool use across a longer period of time.
Emergency
Familiarise yourself with the use of this product by means of this instruction manual. Memorise the safety directions and follow them to the letter. This will help to prevent risks and hazards.
- Always be alert when using this product, so that you can recognise and handle risks early. Fast intervention can prevent serious injury and damage to property.
- Switch off and disconnect from the power supply if there is any malfunction. Have the product checked by a qualified specialist and repaired, if necessary, before you put it into operation again.
Residual Risks
Even if you are operating this product in accordance with all the safety requirements, potential risks of injury and damage remain.
The following dangers can arise in connection with the structure and design of this product:
- Health defects resulting from vibration emission if the product is being used over long periods of time or not adequately managed and properly maintained.
- Injuries and damage to property due to broken application tools or the sudden impact of hidden objects during use.
- Danger of injury and property damage caused by flying objects.
Warning: This product produces an electromagnetic field during operation! This field may under some circumstances interfere with active or passive medical implants! To reduce the risk of serious or fatal injury, we recommend persons with medical implants to consult their doctor and the medical implant manufacturer before operating this product!
PRODUCT DESCRIPTION AND IDENTIFICATIONS

| 1. Lock off button 2. Upper handle 3. On/Off Switch 4. Battery 5. Locking knob for the auxiliary handle 6. Auxiliary Handle 7. Clamp for the auxiliary handle 8. Collar for rotating the auxiliary handle 90˚ for edge cutting 9. Locking knob for adjusting the length of the telescopic pole 10. Telescopic pole | 11. Motor casing 12. Edging wheel 13. Cutting head connector 14. Protection guard 15. Locking button for the cutting head 16. Flower guard 17. Cutting head 18. Line blade 19. Line spool 20. Spool button 21. Cutting line |
Not all the accessories illustrated or described are included in standard delivery.
ASSEMBLY AND OPERATING INSTRUCTIONS
NOTE: To reduce the risk of injury, user must read instruction manual.
WARNING: Before assembly and adjustment to the grass trimmer, ensure the grass trimmer is turned off and the battery pack is removed.
Intended Use
The machine is intended for the cutting of grass and weeds under bushes, as well as on slopes and edges that cannot be reached with the lawn mower.
Assembly
Install the protection guard
WARNING! Read the yellow warning label carefully and remove after installing the guard (14).
Be careful of the sharp line blade (18) on the guard.

1) Remove two screws from the motor housing.
2) Slide the protection guard (14) over the motor housing.
3) Re-insert the two screws into the protection guard (14) and tighten the screws. 
Mounting the auxiliary handle
1: align the auxiliary handle (6) with the mounting clamp (7) ensuring the holes are aligned.
2: fully push the bolt through the holes until the thread can be seen.
3: Screw the locking knob (5) onto the bolt ensuring the handle is securely fastened
Install or remove battery
WARNING! Always release the ON/OFF switch before inserting or removing the battery.
1) Installing the battery:
Align the ribs on both side of the battery with the slots in the housing. Slide the battery into place until an audible click is heard. The battery should now be locked into position.

2) Removing the battery:
Depress the release button (A) on the battery, and then slide the battery pack (4) from the line trimmer.
Operation
Setting the cutting head angle
The angle of trimmer head can be set to 4 different working positions. Push the locking button for the cutting head (15) and tilt the cutting head to the required position. Release the locking button and it will lock the cutting head automatically.
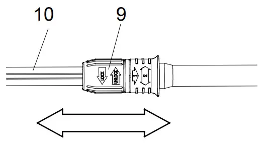
Setting the length of the telescopic shaft
- Turn the locking collar (9) in the “UNLOCK” direction.
- Pull the telescopic pole (10) to the desired length.
- Turn the locking collar (9) in the “LOCK” direction to lock the shaft in position (10).

Converting the line trimmer for edging
- Pull back the locking (8).
- Rotate the upper handle (2) 90°.
- Release the locking collar (8), it will return automatically and lock the upper handle (2).
- The cutting head is now turned 90° for edging.

Setting the position and angle of the auxiliary handle
- Loosen the locking knob (5).
- Disengage the handle from the clamp and move the handle (6) up and down until the required position is reached.
- Re-tighten the locking knob (5).

Extending the cutting line
- Before starting the line trimmer for the first time, check the length of the nylon cutting line. Make sure that it touches or passes over the line blade (18). Extend the cutting line if it is not long enough as follows:
a. Remove the battery pack from line trimmer.
b. Press the spool button (20).
c. Pull nylon cutting line out, so that it touches or passes over the line blade (18).
d. Replace the battery back. - The nylon cutting line will be cut automatically to the suitable length by the line blade once the line trimmer is turned on.
- The nylon line will become worn and shortened during operation. Tap the spool button (20) lightly on ground (while the line trimmer is running) to extend the cutting line.
Switching the line trimmer On / Off
- Press the lock-off button (1), then press and hold the on/off switch (3) on the operating handle to switch on the line trimmer.
- Releasing the on/off switch (3) will switch off the line trimmer.
Cutting grass
WARNING! Always wear eye protection. Rocks or debris can ricochet into eyes and face causing serious injury.
- Hold operating handle and the auxiliary handle with both hands.
- Keep the line trimmer below waist level.
- Do not switch the line trimmer on until the cutting head is on or near the grass to be cut.
- Let the trimmer run for a few seconds so that the line cutter can cut the extra length of the nylon cutting line.
- Ensure the cutting line is at full speed before moving the line trimmer to the grass and start trimming.
- Keep the line trimmer at an angle of approximately 15 degrees to the working area.
- Swing the line trimmer from side to side.

- If the grass is very long, take small cuts each time and this will keep the line trimmer running at high speed and improve cutting efficiency.

Edging
- Convert the line trimmer for edging. Make sure that the cutting head and shaft are locked.
- Rotate the edge guide (16) forward and down into position before edging. Position the edge guide (16) along the edge of the lawn to help provide a clean and consistent cut.
- Place the support rollers (12) on the edge so the cutting line is over the grass or area to be edged.
- To make a closer cut, slightly tilt the line trimmer.


Replacing the spool
WARNING! Before replacing the spool, always switch off the line trimmer and remove
the battery.
WARNING! RISK OF INJURY
The spool will continue to rotate after the line trimmer is switched off. Do not try to stop the spool with your hands. Always wait till it stops by itself.
- Push down and turn the spool head anticlockwise, then take the spool carrier out.
Note: Take care not to lose the spring found inside the spool head.
- Replace the spool either with a new replacement spool or a rewind spool. To rewind the spool:
a. Use 1.6mm diameter cutting line only.
b. Insert about 3mm of the line into the hole in the spool.
c. Ensure the replacement line is evenly wound onto the spool and the line is not loose. Line must be wound in the direction of the arrow shown on the spool and the length should not exceed 6.5m.
- Secure the spool back to the spool carrier by inserting the line through the eyelet in the spool carrier and slide the spool into it.

- Insert the spring, put the spool with the spool carrier back by pushing the carrier down and turn it clockwise until it locks.
Note: Take care not to lose the spring found inside the spool head. - Test if the line can release properly by pushing the spool button with your thumbs while pulling the line with your fingers. The line should come out freely.
BEFORE OPERATION
WARNING: The charger and battery pack are specially designed to work together so do not attempt to use any other devices. Never insert or allow metallic objects into your charger or battery pack connections otherwise an electrical failure and hazard will occur.
NOTE: The battery pack comes partly charged. Charge the battery pack prior to first use, ideally for at least 60 minutes.
- Always pull the plug of the charger from the mains before removing or connecting the battery pack to the charger.
- Never charge the battery pack when the ambient temperature is below 5°C or above 45°C.
- Never recharge a battery pack again immediately after rapid charging. This could overcharge the battery pack, thus reducing the lifespan of the battery pack and charger.
- Rest the charger for at least 15 minutes between continuously charging sessions.
Checking battery capacity
Press the battery capacity level button to check the charging level of the battery pack. The status/remaining capacity will be shown on the battery charging level indication light.
| 3 Green LED on | Battery pack fully charged |
| 2 Green LED on | Battery pack 65% charged |
| 1 Green LED on | Battery pack 35% charged |
| No LED lit | Battery is dead and needs to be charged |
Charge the battery pack before operating when it is at medium or low battery charging level.
Charging procedure
- Slide the battery pack into the charger base ensuring the terminals are fully connected.
- Connect the battery charger to the power supply. The indicator light will be red to show that the charging has started.
- When charging is completed, the light will turn to green. The pack is now fully charged, unplug the charger and remove the battery pack.
Charging light indicator
| Red LED on; Green LED off | Charger ready |
| Red LED on; Green LED flashes | Battery pack charging |
| Red LED off; Green LED on | Battery pack fully charged |
| Red LED flashes; Green LED off | Battery pack too cold or hot |
| Red LED flashes faster; Green LED off | Battery pack defected |

WARNING: When battery pack runs out after continuous use or exposure to direct sunlight or heat, allow time for the pack to cool down before re-charging to achieve
CARE AND CLEANING
- After use, remove the battery pack from the line trimmer.
- Remove all the grass and dirt around the cutting head.
- Use only mild soap and a damp cloth to clean the line trimmer’s housing. Do not allow any liquid to get inside it.
- The line trimmer has been designed to operate over a long period of time with a minimum of maintenance. Continuous satisfactory operation depends upon care and regular cleaning. The line trimmer should only be repaired by an authorized service centre.
- Store the line trimmer out of the reach of children.
TROUBLE SHOOTING
Use this section to help you to try and solve any problems you may have:
| PROBLEMS | POSSIBLE CAUSES | REMEDIES |
| Trimmer fails to operate. | Battery discharged | Recharge battery. |
| Battery too hot/cold. | Allow it to cool/warm. | |
| Motor is broken. | Contact Service Agent. | |
| Internal wiring of machine damaged. | Contact Service Agent. | |
| Trimmer runs intermittently. | Motor is broken. | Contact Service Agent. |
| Battery not fully charged. | Recharge battery. | |
| On/Off switch defective. | Contact Service Agent. | |
| Excessive vibrations/ noise. | Machine defective. | Contact Service Agent. |
| Line spool is not wound well. | Rewind the line. | |
| Cutting time per battery charge too low. | Battery has not been used for long period or only charged for short term. | Fully charge battery. |
| Grass too high. | Cut in stages. | |
| Battery defective. | Replace the battery. | |
| Machine does not cut. | Line broken. | Replace the line. |
| Battery not fully charged. | Recharge battery. | |
| Motor is s broken (speed is too low). | Contact Service Agent. | |
| Grass entangled around cutting head. | Remove the grass. | |
| Continuous lighting of the battery charge indicator | Battery not (properly) inserted. | Properly insert battery into battery charger. |
| contacts contaminated. Battery | Clean the battery contacts (e.g. by inserting and removing the battery several times) or replace the battery. | |
| Battery defective. | Replace the battery. |
| Battery charge indicator does not light up. | Plug of battery charger not plugged in (properly). | Insert mains plug (fully) into the socket outlet. |
| Socket outlet, mains cable or battery charger defective. | Check the mains voltage; have the battery charger checked by an authorized after-sales service agent. | |
| Auto feed does not work | Cutting line is not wound well. | Manually feed the line, if still cannot feed out, remove the spool out and rewind the line. |
| The line is tangled. | ||
| Line is used up. | Replace with a new line spool. |
NOTE: IF YOU EXPERIENCE A PROBLEM WITH YOUR TOOL, PLEASE DO NOT ATTEMPT TO OPEN OR REPAIR THE TOOL YOURSELF. DOING SO MAY VOID THE WARRANTY AND COULD CAUSE DAMAGE OR PERSONAL INJURY. IF THE PROBLEM STILL PERSISTS, PLEASE CONTACT US BY REFERRING TO THE SERVICE & SUPPORT INFORMATION ON THE FOLLOWING PAGE.
DECLARATION OF CONFORMITY / PERFORMANCE
![]()
Product Code: 95074 (ST1904-2)
Product Description: Hawksmoor 18V 26cm Cordless Grass Trimmer
- Tool station Limited, Express Park, Bristol Road, Bridgewater, Somerset TA6 4RN
This declaration of conformity is issued under the sole responsibility of Tool station - Object of the declaration
The object of the declaration described above is in conformity with the relevant Community harmonization legislation:
Supply of Machinery (Safety) Regulations 2008 2006/42/EC
Electromagnetic Compatibility Regulations 2016 2014/30/EU
Electrical Equipment (Safety) Regulations 2016 2014/35/EU
The Restriction of the Use of Certain Hazardous Substances in Electrical and Electronic Equipment Regulations 2012
2011/65/EU&(EU)2015/863
Noise Emission in the Environment by Equipment for use Outdoors Regulations 2001 2000/14/EC amended by 2005/88/EC
2000/14/EC amended by 2005/88/EC:
– Conformity Assessment Procedure as per Annex VI
– Measured Sound Power Level 92 dB(A)
– Declared Guaranteed Sound Power Level 96 dB(A) - References to the relevant standards used (or references to the specifications in relation to which conformity is declared:
BS EN 60335-1, BS EN 50636-2-91, BS EN 62233, BS EN ISO 3744, BS EN 55014-1,
BS EN 55014-2, BS EN 60335-2-29, BS EN 61000-3-2, BS EN 61000-3-3 - Additional information:
Signed for and on behalf of Tool station Limited
ENVIRONMENTAL INFORMATION
The symbol on the product or its packaging indicates that this product must not be disposed of with your other household waste. Instead, it is your responsibility to dispose of your waste equipment by handing it over to a designated collection point for the recycling of waste electrical and electronic equipment. The separate collection and recycling of your waste equipment at the time of disposal will help conserve natural resources and ensure that it is recycled in a manner that protects human health and the environment. For more information about where you can drop off your waste for recycling, please contact your local authority, or where you purchased your product.
GUARANTEE
Tool station products deliver reliable service for normal, household use in domestic settings. All
Tool station products are individually tested before leaving the factory.
If you are a consumer and you experience a problem with your Tool station product, which is found to be defective due to faulty materials or workmanship within the Guarantee Period, this Tool station Guarantee will cover repair or – at the discretion of Tool station – replacement with a functionally equivalent Tool station product.
Your product is under guarantee for 2 years from the date of purchase or the date of delivery of the product, if later.
The guarantee is subject to the following provisions:
– The guarantee does not cover accidental damage, misuse, cabinet parts, knobs, or consumable items.
– The product must be correctly installed and operated in accordance with the instructions contained in this manual.
– It must be used solely for domestic purpose.
– The guarantee will be retendered invalid if the product is re-sold or has been damaged by inexpert repair.
– Specifications are subject to change without notice.
– The manufacturer disclaims any liability for the incidental or consequential damages.
– The guarantee is in addition to, and does not diminish your statutory or legal rights
If you do not have all these items, please contact:
www.coreservice.co.uk
Hotline: +44 01904 947568
Email [email protected]
CUSTOMER SUPPORT
www.coreservice.co.uk
Call us +44 01904 947568
Email: [email protected]
Made in China








Note: Take care not to lose the spring found inside the spool head.













