IKEA FÖRKYLD Fridge with Freezer

Safety Information
Before the installation and use of the appliance, carefully read the supplied instructions. The manufacturer is not responsible for any injuries or damage that are the result of incorrect installation or usage. Always keep the instructions in a safe and accessible location for future reference.
SAFETY WARNINGS
This appliance can be used by children aged from 8 years and above and persons with reduced physical, sensory or mental capabilities or lack of experience and knowledge if they have been given supervision or instruction concerning the use of the appliance in a safe way and understand the hazards involved. Children aged from 3 to 8 years are allowed to load and unload the appliance provided that they have been properly instructed. This appliance may be used by persons with very extensive and complex disabilities provided that they have been properly instructed. Children of less than 3 years of age should be kept away from the appliance unless continuously supervised. Children must not play with the appliance. Children shall not carry out cleaning and user maintenance of the appliance without supervision.
- WARNING: Keep ventilation openings, in the appliance enclosure or in the built-in structure, clear of obstruction.
- WARNING: Do not use mechanical devices or other means to accelerate the defrosting process, other than those recommended by the manufacturer.
- WARNING: Do not damage the refrigerant circuit.
- WARNING: Do not use electrical appliances inside the food storage compartments of the appliance, unless they are of the type recommended by the manufacturer.
- WARNING: When positioning the appliance, ensure the supply cord is not trapped or damaged. To download the full version visit www.ikea.com.
- This appliance is intended to be used in household and similar applications such as: staff kitchen areas in shops, offices and other working environments; farm houses; by clients in hotels, motels, bed & breakfast and other residential environments.
- If the supply cord is damaged, it must be replaced by the manufacturer, the Authorised Service Centre or similarly qualified persons in order to avoid a hazard.
- To avoid contamination of food respect the following instructions: do not open the door for long periods, clean regularly surfaces that can come in contact with food and accessible drainage systems, store raw meat and fish in suitable containers in the refrigerator, so that it is not in contact with or drip onto other food.
- Do not use water spray and steam to clean the appliance. Clean the appliance with a moist soft cloth. Only use neutral detergents. Do not use abrasive products, abrasive cleaning pads, solvents or metal objects.
- When the appliance is empty for long period, switch it off, defrost, clean, dry and leave the door open to prevent mould from developing within the appliance.
- Do not store explosive substances such as aerosol cans with a flammable propellant in this appliance.

Permitted use
- Do not use the appliance outdoors.
- Do not put electrical appliances (e.g. ice cream makers) in the appliance unless they are stated applicable by the manufacturer. Do not put soft drinks in the freezer compartment. This will create pressure on the drink container.
- If damage occurs to the refrigerant circuit, make sure that there are no flames and sources of ignition in the room. Ventilate the room.
- Do not let hot items to touch the plastic parts of the appliance. Do not put flammable products or items that are wet with flammable products in, near or on the appliance.
- Do not touch the compressor or the condenser – risk of burns.
- Do not remove or touch items from the freezer compartment if your hands are wet or damp.
- Do not freeze again food that has been thawed. Wrap the food in any food contact material before putting it in the freezer compartment.
Installation
- The appliance must be handled and installed by two or more persons – risk of injury. Use protective gloves to unpack and install – risk of cuts.
- Installation, including water supply (if any) and electrical connections, and repairs must be carried out by a qualified technician. Follow the installation instructions supplied with the appliance. Remove all the packaging and make sure that it has not been damaged during transport. In the event of problems, contact the dealer or your nearest
- Authorised Service Centre. Do not install or use a damaged appliance.
- Do not use the appliance before installing it in the built-in structure.
- Install the appliance in a safe and suitable place that meets installation requirements. Ensure that the appliance is switched off and disconnected from the power supply before performing any maintenance operation – risk of electric shock. Only activate the appliance when the installation has been completed.
- Carry out all cabinet cutting works before fitting the appliance in the furniture and remove all wood chips and sawdust. Make sure the air ventilation around the appliance.
- Do not install the appliance close to radiators or cookers, ovens or hobs. Do not expose the appliance to the rain. Do not install the appliance where there is direct sunlight.
- Do not install this appliance in areas that are too humid or too cold.
- At first installation or after reversing the door wait at least 4 hours before connecting the appliance to the power supply. This is to allow the oil to flow back in the compressor.
- When you move the appliance, lift it by the front edge to avoid scratching the floor.
Electrical warnings
- Make sure that the parameters on the rating plate are compatible with the electrical ratings of the mains power supply.
- Do not use extension leads, multiple sockets or adapters. The appliance must be earthed. Always use a correctly installed shockproof socket. The electrical components must not be accessible to the user after installation. The mains cable must stay below the level of the mains plug. Do not operate this appliance if it has a damaged power cable or plug, if it is not working properly, or if it has been damaged or dropped.
- Make sure not to cause damage to the electrical components (e.g. mains plug, mains cable, compressor). Contact the Authorised Service Centre or an electrician to change the electrical components.
- Connect the mains plug to the mains socket only at the end of the installation. Make sure that there is access to the mains plug after the installation. Do not pull the mains cable to disconnect the appliance. Always pull the mains plug.
- To replace the power cable or the internal lighting, contact the Authorized Service Centre.
- This product contains a light source of energy efficiency class G.
- Concerning the lamp(s) inside this product and spare part lamps sold separately: These lamps are intended to withstand extreme physical conditions in household appliances, such as temperature, vibration, humidity, or are intended to signal information about the operational status of the appliance. They are not intended to be used in other applications and are not suitable for household room illumination.
Environmental concerns
SAFETY WARNINGS
WARNING! The appliance contains flammable gas, isobutane (R600a), a natural gas with a high level of environmental compatibility. Be careful not to cause damage to the refrigerant circuit containing isobutane. Only a qualified person must do the maintenance and the recharging of the unit. Regularly examine the drain of the appliance and if necessary, clean it. If the drain is blocked, defrosted water collects in the bottom of the appliance. The appliance contains a bag of desiccant. Please dispose of it immediately.
DISPOSAL OF PACKAGING MATERIALS
Recycle materials with the symbol . Put the packaging in relevant containers to recycle it.
SCRAPPING OF HOUSEHOLD APPLIANCES
Help protect the environment and human health by recycling waste of electrical and electronic appliances. Do not dispose of
appliances marked with the symbol with the household waste. Return the product to your local recycling facility or contact your municipal office.
SERVICE AND SPARE PARTS
To repair the appliance contact the Authorised Service Centre. Use original spare parts only. Please note that self-repair or non-professional repair can have safety consequences and might void the guarantee. The following spare parts will be available for 7 years after the model has been discontinued: thermostats, temperature sensors, printed circuit boards, light sources, door handles, door hinges, trays and baskets. Please note that some of these spare parts are only available to professional repairers, and that not all spare parts are relevant for all models. Door gaskets will be available for 10 years after the model has been discontinued.
ENERGY SAVING TIPS
Make sure that food products inside the appliance allow air circulation through dedicated holes in the rear interior of the appliance. If the ambient temperature is high and the temperature control is set to low temperature and the appliance is fully loaded, the compressor may run continuously, causing frost or ice formation on the evaporator. In this case, set the temperature control toward higher temperature to allow automatic defrosting and to save energy this way. To save energy, do not open the door frequently or leave it open longer than necessary.
Freezer: The internal configuration of the appliance is the one that ensures the most efficient use of energy. Do not remove the freezer blocks from the freezer basket. The colder the temperature setting, the higher the energy consumption. Refrigerator: Most efficient use of energy is ensured in the configuration with the drawers in the bottom part of the appliance and shelves evenly distributed. Position of the door bins does not affect energy consumption. Do not set too high temperature to save energy unless it is required by the characteristics of the food.
DIMENSION

Care and cleaning
Warning! Refer to Safety chapters.
Periodic cleaning
The equipment has to be cleaned regularly:
- Clean the inside and accessories with lukewarm water and some neutral soap.
- Regularly check the door seals and wipe them clean to ensure they are clean and free from debris.
- Rinse and dry thoroughly.
Defrosting of the refrigerator
Frost is automatically eliminated from the evaporator of the refrigerator compartment every time the motor compressor stops, during normal use. The defrost water drains out through a trough into a special container at the back of the appliance, over the motor compressor, where it evaporates.
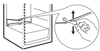
It is important to periodically clean the defrost water drain hole in the middle of the refrigerator compartment channel to prevent the water overflowing and dripping onto the food inside. For this purpose use the tube cleaner provided in the accessory bag.
Defrosting of the freezer
Caution! Never use sharp metal tools to scrape off frost from the evaporator as you could damage it. Do not use a mechanical device or any artificial means to speed up the thawing process other than those recommended by the manufacturer. Do not use the supplied ice scraper to prepare food. About 12 hours prior to defrosting set a lower temperature in order to build up sufficient chill reserve in case of any interruption in operation.
A certain amount of frost will always form on the freezer shelves and around the top compartment.
Defrost the freezer when the frost layer reaches a thickness of about 3-5 mm.
- Switch off the appliance or pull out electrical plug from the wall socket.
- Remove any stored food and put it in a cool place.
Caution! A temperature rise of the frozen food packs during defrosting may shorten their safe storage life. Do not touch frozen goods with wet hands. Hands can freeze to the goods. - Leave the door open. Protect the floor from the defrosting water e.g. with a cloth or a flat vessel.
- In order to speed up the defrosting process, place a pot of warm water in the freezer compartment. In addition, remove pieces of ice that break away before defrosting is complete. Use the supplied ice scraper for this purpose.
- When defrosting is complete, dry the interior thoroughly. Keep the ice scraper for the future use.
- Switch on the appliance and close the door.
- Set the temperature regulator to obtain the maximum coldness and run the appliance for at least 3 hours using this setting.
Only after this time put the food back into the freezer compartment.
Period of non-operation
When the appliance is not in use for long period, take the following precautions:
- Disconnect the appliance from electricity supply.
- Remove all food.
- Defrost the appliance.
- Clean the appliance and all accessories.
- Leave the doors open to prevent unpleasant smells.
IKEA guarantee
- How long is the IKEA guarantee valid?
This guarantee is valid for 5 years from the original date of purchase of your appliance at IKEA. The original sales receipt is required as proof of purchase. If service work is carried out under guarantee, this will not extend the guarantee period for the appliance. - Who will execute the service?
IKEA service provider will provide the service through its own service operations or authorized service partner network. - What does this guarantee cover?
The guarantee covers faults of the appliance, which have been caused by faulty construction or material faults from the date of purchase from IKEA. This guarantee applies to domestic use only. The exceptions are specified under the headline “What is not covered under this guarantee?” Within the guarantee period, the costs to remedy the fault e.g. repairs, parts, labour and travel will be covered, provided that the appliance is accessible for repair without special expenditure. On these conditions the EU guidelines (Nr. 99/44/EG) and the respective local regulations are applicable. Replaced parts become the property of IKEA. - What will IKEA do to correct the problem?
IKEA appointed service provider will examine the product and decide, at its sole discretion, if it is covered under this guarantee. If considered covered, IKEA service provider or its authorized service partner through its own service operations, will then, at its sole discretion, either repair the defective product or replace it with the same or a comparable product. - What is not covered under this guarantee?
- Normal wear and tear.
- Deliberate or negligent damage, damage caused by failure to observe operating instructions, incorrect installation or by connection to the wrong voltage, damage caused by chemical or electro-chemical reaction, rust, corrosion or water damage including but not limited to damage caused by excessive lime in the water supply, damage caused by abnormal environmental conditions.
- Consumable parts including batteries and lamps.
- Non-functional and decorative parts which do not affect normal use of the appliance, including any scratches and possible color differences.
- Accidental damage caused by foreign objects or substances and cleaning or unblocking of filters, drainage systems or soap drawers.
- Damage to the following parts: ceramic glass, accessories, crockery and cutlery baskets, feed and drainage pipes, seals, lamps and lamp covers, screens, knobs, casings and parts of casings. Unless such damages can be proved to have been caused by production faults.
- Cases where no fault could be found during a technician’s visit.
- Repairs not carried out by our appointed service providers and/or an authorized service contractual partner or where non-original parts have been used.
- Repairs caused by installation which is faulty or not according to specification.
- The use of the appliance in a non-domestic environment i.e. professional use.
- Transportation damages. If a customer transports the product to their home or other address, IKEA is not liable for any damage that may occur during transport. However, if IKEA delivers the product to the customer’s delivery address, then damage to the product that occurs during this delivery will be covered by this guarantee.
- Cost for carrying out the initial installation of the IKEA appliance. However, if an IKEA service provider or its authorized service partner repairs or replaces the appliance under the terms of this guarantee, the service provider or its authorized service partner will re-install the repaired appliance or install the replacement, if necessary.
This restriction do not apply to fault-free work carried out by a qualified specialist using our original parts in order to adapt the appliance to the technical safety specifications of another EU country.
How country law applies
The IKEA guarantee gives you specific legal rights, which covers or exceed local demands. However these conditions do not limit in any way consumer rights described in the local legislation.
Area of validity
For appliances which are purchased in one EU country and taken to another EU country, the services will be provided in the framework of the guarantee conditions normal in the new country. An obligation to carry out services in the framework of the guarantee exists only if the appliance complies and is installed in accordance with:
- the technical specifications of the country in which the guarantee claim is made;
- the Assembly Instructions and User Manual Safety Information;
The dedicated After Sales Service for IKEA appliances:
Please do not hesitate to contact IKEA After Sales Service to:
- make a service request under this guarantee;
- ask for clarification on installation of the IKEA appliance in the dedicated IKEA kitchen furniture. The service won’t provide clarifications related to:
- the overall IKEA kitchen installation;
- connections to electricity (if machine comes without plug and cable), to water and to gas since they have to be executed by an authorized service engineer.
- ask for clarification on user manual contents and specifications of the IKEA appliance.
To ensure that we provide you with the best assistance, please read carefully the Assembly Instructions and/or the User Manual section of this booklet before contacting us.
How to reach us if you need our service
Please refer to the last page of this manual for the full list of IKEA appointed contacts and relative national phone numbers.
In order to provide you with a quicker service, we recommend that you use the specific phone numbers listed at the end of this manual. Always refer to the numbers listed in the booklet of the specific appliance you need an assistance for. Before calling us, assure that you have to hand the IKEA article number (8 digit code) and the Serial Number (8 digit code that can be found on the rating plate) for the appliance of which you need our assistance.
SAVE THE SALES RECEIPT! It is your proof of purchase and required for the guarantee to apply. Note that the receipt reports also the IKEA article name and number (8 digit code) for each of the appliances you have purchased.
Do you need extra help?
For any additional questions not related to After Sales of your appliances, please contact our nearest IKEA store call centre. We recommend you read the appliance documentation carefully before contacting us.
CONTACT
| Country | Phone number | Call Fee | Opening time |
| België | 070 246016 | Binnenlandse gesprekskosten | 8 tot 20 Weekdagen |
| Belgique | Tarif des appels nationaux | 8 à 20. En semaine | |
| България | +359 2 492 9397 | Според тарифата на оператора за обаждания към стационарен номер | От 8:30 до 17:30 ч в работни дни |
| Česká Republika | 246 019721 | Cena za místní hovor | 8 až 20 v pracovních dnech |
| Danmark | 70 15 09 09 | Landtsakts | man. – fre. 09.00 – 20.00 lør. – søn. 09.00 – 18.00 |
| Deutschland | +49 1806 33 45 32* | * 0,20 €/Verbindung aus dem Fest- netz max. 0,60 €/Verbindung aus dem Mobilfunknetz | Werktags von 8.00 bis 20.00 |
| Ελλάδα | 211 176 8276 | Υπεραστική κλήση | 8 έως 20 κατά τις εργάσιμες ημέρες |
| España | 91 1875537 | Tarifa de llamadas nacionales | De 8 a 20 en días laborables |
| France | 0170 36 02 05 | Tarif des appels nationaux | 9 à 21. En semaine |
| Hrvatska | 00385 1 6323 339 | Cijena ovisi o pružatelju telefonske usluge korisnika | radnim danom od ponedjeljka do petka od 08:00 do 16:00 |
| Ireland | 0 14845915 | National call rate | 8 till 20 Weekdays |
| Ísland | +354 5852409 | Innanlandsgjald fyrir síma | 9 til 18. Virka daga |
| Italia | 02 00620818 | a applicata alle chiamate nazionali | dalle 8 alle 20 nei giorni feriali |
| Κυπρος | 22 030 529 | Υπεραστική κλήση | 8.30 έως 16.30 κατά τις εργάσιμες ημέρες |
| Lietuva | 5 230 06 99 | Nacionalinių pokalbių tarifai | Pr. – Ketv.: 8:00 – 12:00, 12:45 – 17:00 Pnkt.: 8:00 – 12:00, 12:45 – 15:45 |
| Magyarország | 06-1-252-1773 | Belföldi díjszabás | Hétköznap 8.00 és 17.00 óra között |
| Nederland Luxembourg | 050-7111267 (0900-BEL IKEA) +31 507111267 (internationaal) | Geen extra kosten. Alleen lokaal tarief. | ma-vr: 8.00 – 21.00 zat: 9.00 – 21.00 zon / pub. vakantie: 10.00 – 18.00 |
| Norge | 22 72 35 00 | Takst innla | 8 til 18 ukedager |
| Österreich | +43-1-2056356 | max. 10 Cent/min. | Mo – Fr 8.00 – 20.00 Uhr |
| Polska | 801 400 711 and +48 22 749 60 99 | Koszt zgodny z taryfą operatora | Od 8 do 20 w dni robocze |
| Portugal | 211557985 | Chamada Nacional | 9 às 21. Dias de Semana *excepto feriados |
| România | 021 211 08 88 | Tarif apel naţional | 8 – 20 în zilele lucrătoare |
| Россия | 8 495 6662929 | Действующие телефонные тарифы | с 8 до 20 по рабочим дням Время московское |
| Schweiz | 031 5500 324 | Tarif für Anrufe im Bundesgebiet | 8 bis 20 Werktage |
| Suisse | Tarif des appels nationaux | 8 à 20. En semaine | |
| Svizzera | a applicata alle chiamate nazionali | dalle 8 alle 20 nei giorni feriali | |
| Slovenija | +38618108621 | lokalni strošek je običajna tržna vred- nost, odvisna od ponudnika telefonije | 8.00 – 16.00 ob delavnikih |
| Slovensko | (02) 3300 2554 | Cena vnútroštátneho hovoru | 8 až 20 v pracovných dňoch |
| Suomi | 0 0605203 | pvm/m | Ma – To 8:00 -18:00 Pe 9:00 -16:00 |
| Sverige | 0775 700 500 | lokalsamtal (lokal taxa) | mån-fre 8.30 – 20.00 lör-sön 9.30 – 18.00 |
| United Kingdom | 020 3347 0044 | National call rate | 9 till 21. Weekdays |
| Србија | +381 11 7 555 444 (ако позивате изван Србије) 011 7 555 444 (ако позивате из Србије) | Цена позива у националном саобраћају | Понедељак – субота: 09 – 20 Недеља: 09 – 18 |
| Eesti, Latvija, Україна | www.ikea.com | ||
To download the full version visit www.ikea.com.


















