Shenzhen Innosystem Technology MZ360 Bluetooth Speakers Installation Guide
Thank you for buying this product. Please read all safety information and operation instruction before using the bluetooth speaker.
SAFETY INSTRUCTIONS
- Read all instructions and save them for personal reference in the future.
- Follow all directions for operating the product.
- Do not set up near heat sources. Avoid radiators, stoves. and other devices that produce heat. Avoid long-term exposure to sunlight and high temperatures.
- There are 3 modes for this speaker: Bluetooth Mode. Audio Mode and TF Card Mode.
- Please note: When the music is paused for 30 minutes, the speaker will enter into Sleep Mode. To restart the speaker. please press Power ON/OFF/Mode.
PACKAGE CONTENTS
- MZ-360 X 1
- Speaker Holder for Bicycles X 1
- 0.6m USB Charging Cable X 1
- Speaker Clips X 1
- 1m Audio Cable X 1
DIMENSION

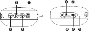
SPEAKER CONTROL PANEL AND PORTS

- Power ON/OFF/Mode: Long press the button to turn on/off the speaker. When the speaker is on, short press the button to swift mode of the speaker.
- Volume UP/Next: Long press the button to increase the volume. Short press the button to move to the next song(only function in Bluetooth Mode & TF Card Mode).
- Play/Pause/Pairing: In Bluetooth Mode / TF Card Mode, short press the button to play or pause music. In Bluetooth Mode, long press the button to cut the current Bluetooth connection and enter Pairing status.
- Volume Down/Prey: Long press the button to lower the volume. Short press the button to move to the previous song(only function in Bluetooth Mode & TF Card Mode).
- AUX Input Port
- SD Card Slot
- Power Port: DC 5V 1 A
- Indicator Light
- Microphone
PARAMETER
- Working Time: 10h battery life at 60% volume
- Stand-by Time: ≥ 300 hours
- Bluetooth Range: ≤ 10M
- Frequency: 20HZ-20KHZ
- Bluetooth Version: V5.0
- Charging Lead Time: 2,5-3 hours
- Work Voltage: 5V / 1A
- Wattage: 5W
- IP Rating: IPX7
- Battery Capacity: 750 mAh
OPERATION INSTRUCTION
Step 1
Long press the power button, the speaker will be turned on after hearing the prompt tone. The power indicator light will turn blue and on for 3 seconds. Afterwards, the blue light flashes quickly. IrED)1,J0 indicating the speaker is entering Pairing mode.
Please Note: The set volume is 80%. Each time you turn on the speaker, it will be at 80% volume automatically.
Notice
- When the speaker is off. with only TF card inserted or with both TF card inserted and Audio cable connected, the speaker will enter TF Card Mode first after turning it on. To swift to BT Mode, you can short press the Power Button, and the speaker can enter Pairing status,
- When the speaker is off. with Audio cable connected, the speaker will enter AUX Mode first after turning it on, To swift to BT Mode, you can short press the Power Button, and the speaker can enter Pairing status.
- When the speaker is off, with no TF card inserted and no Audio cable connected. the speaker will enter Bluetooth Mode directly after turning it on.
- When the speaker is on, the speaker will enter the corresponding mode to the last connected input(either TF card or Audio cable). To swift to BT Mode. you can short press the Power Button, and the speaker can enter Pairing status.
Step 2
Turn on the Bluetooth function on your phone or other Bluetooth devices and search for our speaker which is named as MZ-360 . Connect with the speaker.
- Search for MZ-360 Speaker on your phone;
- Connect with MZ-360 Speaker;
- Select playing music via MZ-360 Speaker.

Step 3
After pairing successfully, there will be a prompt tone and the blue indicator light will be on constantly.
Step 4
Play music on your phone. The blue indicator light will flash slowly when playing music.
Step 5
How to Connect the Speaker with a New Device.
When the speaker is connected with a device, you can long press the button PLAY/PAUSE/PAIRING to cut the current connection and enter Pairing status. Then the blue power indicator light will flash quickly, and the speaker can connect with a new device.
INSTALLATION GUIDE OF HOLDER
- Step 1
As picture 1 shows, pressing the bulge of the holder, take out the speaker before installing the holder.
- Step 2
As picture 2 shows, screw out the screws from the holder.
- Step 3
Put the non-slip mat 1 into the ring of the holder, fix the holder onto the bike through the ring, and tighten the holder with screw which has been taken out in step 2.
Note: If the steering axle is too thin and can not be fixed with only 1 non-slip mat, you can put mat 1 & 2 into the ring, pass the steering axle through the ring, then tighten the holder with screw. If the holder is still loose, you can fold the non-slip mat 2, and put the mat 1 & folded mat 2 into the ring, pass the steering axle through the ring, then tighten the holder with screw. - Step 4
After installing the holder, you can push the speaker into the holder. Upon hearing a click, the speaker is installed well.
CONNECTION MEMORY FUNCTION OF THE SPEAKER
The speaker will automatically connect to the last paired device, in case that BT function of the device is on, after turning the speaker on,
TEL FUNCTION OF THE SPEAKER

Pick up Phone Call: When the speaker is connected with phone, in case of a coming call, you can pick up the call by short pressing the PLAY/PAUSE button.
Hang UP: When the speaker is connected with the phone, you can hang up by short pressing the PLAY/PAUSE button.
Reject a Call: When the speaker is connected with the phone, you can reject a call by long pressing the PLAY/PAUSE button.
Redialing the Last Call: When the speaker is connected with the phone, you can dial the last person you have talked on the phone by short pressing the PLAY/PAUSE button twice.
AUX MODE
Insert 3.5MM LINE IN cable via the AUX port to swift to the AUX Mode. You can press the Power Button to swift modes.
In AUX Modes, when the music is playing, the blue indicator light will flash slowly, and in the mute mode, the blue indicator light will be on constantly.
TF CARD MODE
The speaker will enter TF Card Mode after inserting SD card, and you can short press the Power Button to swift modes.
In TF Card Mode, when the music is playing, the blue indicator light will flash slowly, and when the music is paused, the blue indicator light will be on constantly.
Notice: Charging Indicator Light When charging the speaker, the red indicator light will be on constantly, and it will turn off after the speaker is fully charged.
FCC Warning Statement
Changes or modifications not expressly approved by the party responsible for compliance could void the user’s authority to operate the equipment.
This equipment has been tested and found to comply with the limits for a Class B digital device, pursuant to Part 15 of the FCC Rules. These limits are designed to provide reasonable protection against harmful interference in a residential installation. This equipment generates uses and can radiate radio frequency energy and, if not installed and used in accordance with the instructions, may cause harmful interference to radio communications. However, there is no guarantee that interference will not occur in a particular installation. If this equipment does cause harmful interference to radio or television reception, which can be determined by turning the equipment off and on, the user is encouraged to try to correct the interference by one or more of the following measures:
- Reorient or relocate the receiving antenna.
- Increase the separation between the equipment and receiver.
- Connect the equipment into an outlet on a circuit different from that to which the receiver is connected.
- Consult the dealer or an experienced radio/TV technician for help.
This device complies with part 15 of the FCC Rules. Operation is subject to the following two conditions:
- This device may not cause harmful interference, and
- this device must accept any interference received, including interference that may cause undesired operation.
FCC Radiation Exposure Statement
The device has been evaluated to meet general RF exposure requirement. The device can be used in portable exposure condition without restriction.

























