
Owner’s Manual
Storage Trike

| This manual contains important safety, assembly, operation and maintenance information. Please read and fully understand this manual before operation. Save this manual for future reference. | |
| Always wear an approved helmet and safety equipment when using this product. |
See back page for Customer Service Information
Helmet Warning Information
| ALWAYS WEAR YOUR HELMET WHEN RIDING THIS PRODUCT! |
Always read the user manual that comes with your helmet to make sure it is fitted and attached properly to the wearer’s head according to the fitting instructions described in the user manual.
WARNING: CHOKING HAZARD:
- Small parts, adult assembly required.
- To reduce the risk of injury, adult supervision is required.
- The user must be 3+ years and weigh no more than 60 lbs (27kgs).
- The maximum weight for the rear plastic bin is 2.3kg. (5 lbs).
- Do not allow a child to ride in the rear plastic bin.
- Avoid sharp bumps, drainage grates, and sudden surface changes. The scooter may suddenly stop.
- Avoid excessive speed associated with downhill rides.
- Watch out for pedestrians.
- Check and secure all fasteners before every ride.
Safety and Warning Information
This product, like all wheeled vehicles, will provide safe, enjoyable transportation and recreation when used and maintained properly. Like bicycling, skateboarding, and in-line skating, riding this product can be dangerous even under the best of circumstances. We do not want you to get hurt. Please follow these safety rules. Keep children away during assembly.
This symbol is important. It is the WARNING symbol. The warning symbol precedes safety instructions. Make sure the child understands these instructions. Failure to follow these instructions may result in injury to the rider or to others, or damage to the product.
WARNING TO AVOID SERIOUS INJURY:
- Adult assembly required. An adult must unfold and fold this product (as equipped). Continuous adult supervision is required. Do Not modify the product.
- CHOKING HAZARD: Not suitable for children under 3 years. Contains small parts.
- Keep small loose parts and plastic bags out of the reach of children.
- Not suitable for children under 3 years as foam pieces may break off and pose a choking hazard. Keep small children away when assembling.
- Never use near motor vehicles.
- Never ride with more than one person. Excessive weight may cause a hazardous or unstable condition.
- Protective Equipment must be worn: Always wear safety equipment such as a helmet that meets CPSC (or equivalent standard for your country) with chin strap securely fastened, knee pads, elbow pads, wrist guards, gloves, and shoes.
- Do not use in traffic.
- Do not allow a child to ride the product at dusk, at night or at times of limited visibility.
- Do not allow a child to ride on roadways or alleys.
- Do not allow a child to ride off-road, on grass, or on wet surfaces.
- Never use near streets, swimming pools (or other bodies of water), hills, steps, or sloped driveways.
- For use on smooth paved surfaces only.
- Understand all operating procedures before use.
- Do not tow or pull any objects with the product.
- Do not push or pull a child riding on the product.
- Use with caution, since skill is required to avoid falls or collisions causing injury to the user or third parties.
- Always comply with local laws and regulations.
- If anything does not operate properly, discontinue use.
- Replace worn or broken parts immediately with genuine replacement parts.
- Handlebar hand grip or tube end plugs should be replaced if damaged as bare tubes has been known to cause injury. All products with capped handlebar ends should be checked regularly to ensure that adequate protection for the ends of the handlebars is in place.
- Self-locking nuts and other self-locking fixings may lose their effectiveness when re-used
- The toy shall be used with caution since it requires great skill, so as to avoid falls or collisions causing injury to the user and third parties.
- Ensure all locking devices are engaged before each ride.
Safety and Warning Information – Australia
This product, like all wheeled vehicles, will provide safe, enjoyable transportation and recreation when used and maintained properly. Like bicycling, skateboarding, and in-line skating, riding this product can be dangerous even under the best of circumstances. We do not want you to get hurt. Please follow these safety rules.
This symbol is important. It is the WARNING symbol. The warning symbol precedes safety instructions. Make sure the child understands these instructions. Failure to follow these instructions may result in injury to the rider or to others, or damage to the product.
WARNING TO AVOID SERIOUS INJURY:
- Adult assembly required.
- CHOKING HAZARD: Small parts. Not for children under 3 years.
- Keep small loose parts and plastic bags out of the reach of children.
- Not suitable for children under 3 years as foam pieces may break off and pose a choking hazard.
- As required, adults must assist children in the initial adjustment procedures to unfold the scooter, adjust handlebar and steering to height, and finally to fold the scooter.
- Never ride with more than 1 person.
- Do not modify the product.
- Protective Equipment must be worn: Always wear safety equipment such as a helmet that meets AS/NZS (or equivalent standard for your country) with chinstrap securely fastened, knee pads, elbow pads, wrist guards, gloves and shoes.
- While using the product, keep hands and fingers away from wheels and other moving parts to avoid danger of pinching or entrapment.
- Ride on smooth paved surfaces away from motor vehicles. Not for use on roads.
- Avoid sharp bumps, drainage grates, and sudden surface changes. Scooter may suddenly stop.
- Avoid streets and surfaces with water, sand, gravel, dirt, leaves, and other debris. Wet weather impairs traction, braking and visibility.
- Do not ride at night, dusk, or at times of limited visibility.
- If equipped, brake will get hot from continuous use. Do not touch after braking.
- Avoid excessive speed associated with downhill rides. It may be difficult to stop or maneuver quickly. Maximum recommended speed is 6 MPH (10 KPH).
- Obey all local traffic and scooter riding laws and regulations.
- Watch out for pedestrians.
- Do not wear headphones or anything else that would impair your ability to hear or see.
- Practice riding in large, flat areas.
- Avoid steeply sloped areas. Get off and walk.
- Know your limits. Be familiar with your scooter and your abilities. Use common sense.
- Handlebar hand grip or tube end-plugs should be replaced if damaged as bare tubes have been known to cause injury.
- All products with capped handlebar ends should be checked regularly to ensure that adequate protection for the ends of the handlebars are in place.
- Ensure all locking devices are engaged before each ride.
- Check and secure all fasteners before every ride.
- Replace worn or broken parts immediately with the original equipment.
- Before each ride, check that the steering system is correctly adjusted and that all connection components are firmly secured and not broken. If you have any questions regarding the operation of this product, please refer to this owner’s manual or contact customer service.
Parts Assembly

| # | Description | # | Description |
| 1 | Handlebar | 14 | Pedal (x2) |
| 2 | Grips (x2) | 15 | Front Wheel |
| 3 | Collar | 16 | Fender |
| 4 | Rear Frame and Attaching Hardware | 17 | Seat |
| 5 | Attaching Hardware | 18 | Seat Mounting Hardware (varies) |
| 6 | Washer/Spacer | 19 | Self Tapping Screw and Washer |
| 7 | Screw (x2) | 20 | Self Tapping Screw (m4 x 2) |
| 8 | Plastic Bin | 21 | Handlebar Pad (various models) |
| 9 | Axle Cup (x2) | 22 | Plaque (various models) |
| 10 | Rear Wheel (x2) | 23 | Bag (various models) |
| 11 | Axle Cap (x2) | 24 | Handlebar Accessory (various models) |
| 12 | Frame Assembly | 25 | Basket (various models) |
| 13 | Fork Assembly |
Tools Needed: Metric Allen Wrenches (supplied), Phillips Screwdriver, Adjustable Wrench (some models)
Assembly

REAR FRAME INSTALLATION 1:
- Insert Rear Frame A onto Front Frame Tube B as shown. – Make sure Bin Screw Hole ! is facing UP and Axle is straight on Frame.
- Install Shoulder Screw Set C through Frame Tubes. Tighten securely.
REAR WHEELS 2:
- Install Rear Wheels D over Axle Cups E.
- Install Axle Cap F with screw G. Ensure Axle Cap is seated all the way in.
- Repeat for the opposite side.
- Tighten Screws G securely but Do Not overtighten.
WARNING: Ensure Wheels turn smoothly. The Wheels can come off if the Screws are not tight or if the screw threads are stripped.
PLASTIC BIN 3:
- Snap the two Bin clips L over Frame Legs M.
- Install Storage Bin N using Screw and Washer O into Frame Tube as shown. Do Not overtighten.
NOTES:
- Weight Limit 5 lbs (2.3 kgs)
- On models with Storage Bin Lid that snaps closed: DO NOT STAND ON LID. See Torque Table for Recommended Torque

SEAT 4 OR 5:
4:
- Install Seat H using 2 Screws I and Washers J through Seat and into Mounting Plate.
Tighten Securely.
5:
- Install Seat H using 2 Screws I and Washers J through Seat and Mounting Plate.
- Install 2 Washers J and 2 Locknuts K. Tighten Securely.
Assemble the Fork

STEPS:
- Insert legs of Fork A fully into Fork/Axle Ends B so that screw holes line up.
- Attach with Screw and Nut C. Tighten securely.
- Repeat for the opposite side.
- Place Fender D fully onto Fork assembly as shown.
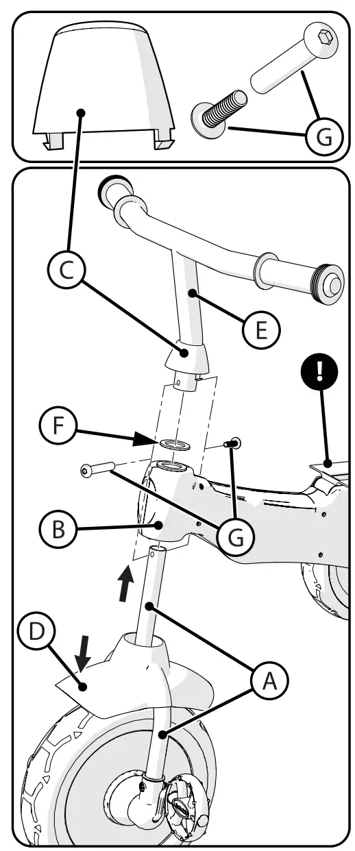
Assembly – Snap-Down Collar

STEPS:
- Ensure Fender D is over the fork A as shown.
- Slide the Fork assembly into the Frame B.
NOTE: Ensure frame is right-side up (Seat Bracket ! is facing UP). - Place Cap C onto Handlebar E.
- Make sure Washer F is in place over Fork Tube A.
- Install Handlebar E into Fork A so that screw holes are aligned.
- Install Hardware G through Handlebar and Fork holes. Tighten securely.
- Slide Cap C down until the tabs snap in place.
CAUTION:
- Ensure Handlebars and Fork turn smoothly in both directions and are not loose.
- Ensure the front Wheel and Pedals rotate smoothly.
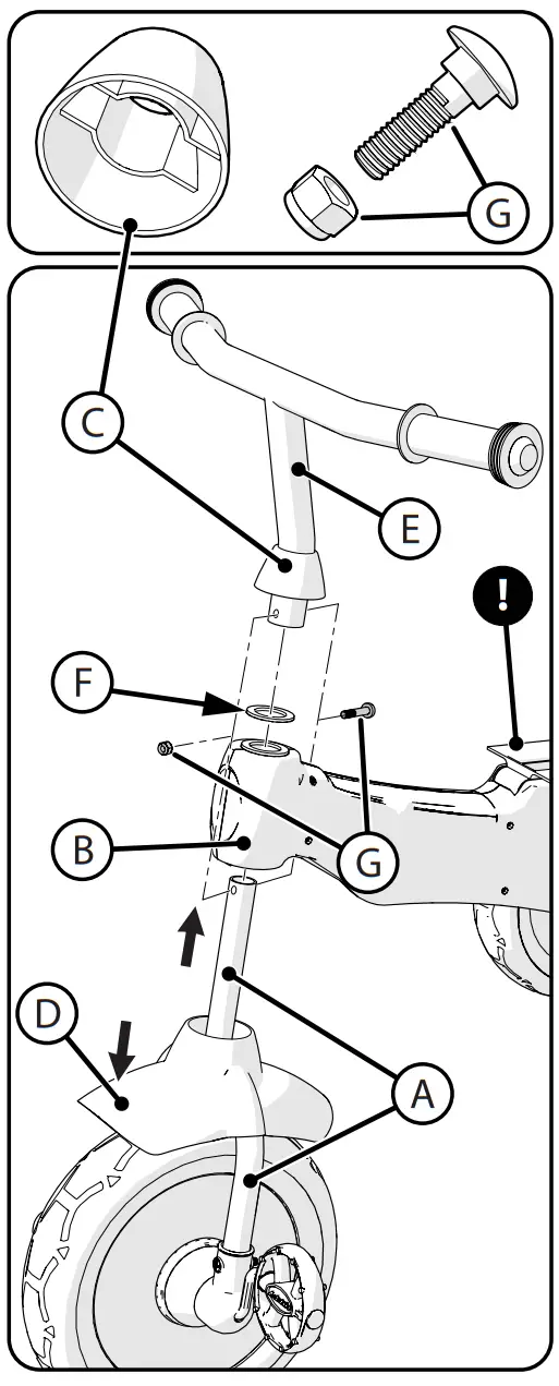
Assembly – Press-Down Collar

STEPS:
- Ensure Fender D is over the fork A as shown.
- Slide the Fork assembly into Frame B.
NOTE: Ensure the frame is right-side up (Seat Bracket ! is facing UP). - Place Cap C onto Handlebar E.
- Make sure Washer F is in place over Fork Tube A.
- Install Handlebar E into Fork A so that screw holes are aligned.
- Install Hardware G through Handlebar and Fork holes. Tighten securely.
- Slide Cap C down fully so that Screw and Locknut fit into Cap Slot.
CAUTION:
- Ensure Handlebars and Fork turn smoothly in both directions and are not loose.
- Ensure the front Wheel and Pedals rotate smoothly.
Handlebar Storage Unit – various models
NOTE: Storage Units may have different caps, but all mount to Handlebars the same.

WITH UNIT UPSIDE DOWN:
- Place Side Pipes A against the lip of Bucket B – both sides.
- Place Retainer Ring C over Side Pipes so that all mounting holes line up.
- Install Two Short Screws E hand tight.
- Install Center Cover D over Retainer Ring C so that mounting holes line up.
- Install Long Screw F securely.
- Tighten side Screws E securely.
- Attach Storage unit to handlebars using Hook and Loop Straps G.
NOTE: Max weight 5 lb (2.3 kgs)
MOUNT VARIOUS ACCESSORIES AS FOLLOWS (AS EQUIPPED)

- Open Pad A and place it firmly over the handlebar.
- Attach Bag B with Velcro straps or buckles.
- Position Bell C on the handlebar and tighten screws securely. Do not over-tighten. Bells may have one or two screws.
- Attach Streamers D by placing attach pins into open ends of handlebar grips.
- Attach Storage unit to handlebars using Hook and Loop Straps E.
NOTE: Weight Limit 5 lbs (2.3 kgs)
Repair and Service
WARNING:
- Inspect the product frequently. Failure to inspect the product and to make repairs or adjustments, as necessary, can result in injury to the rider or to others. Make sure all parts are correctly assembled and adjusted as written in this manual and any “Special Instructions”.
- Immediately replace any damaged, missing, or badly worn parts with the original equipment.
- Make sure all fasteners are correctly tightened as written in this manual and any “Special Instructions”. Parts that are not tight enough can be lost or operate poorly. Over tightened parts can be damaged. Make sure any replacement fasteners are the correct size and type.
- Self-locking nuts and other self-locking fasteners may lose their effectiveness when reused.
NOTE: Have a bicycle service shop make any repairs or adjustments for which you do not have the correct tools or if the instructions in this manual or any “Special Instructions” are not suffi cient for you.
Torque Table – Recommended Torque:
Use of a torque wrench is recommended. Recommended torque for each fastener is listed below. In addition to tightening to the recommended torque, please ensure the parts of the product are sufficiently tightened by performing the functional tests (in the component assembly sections of the owner’s manual) on each component as it is tightened.
NOTE: Please check that all fasteners on the product are torqued according to the table below:
| Recommended Torque for clean, dry threads: | How to Measure: | |
| Fastener Size | Torque (ft-lb / N•m) | Screw or bolt size is determined by the width at the THREADS as shown. |
| .157 in (4 mm) | 3.1 ft-lbs (4.2 N•m) | |
| .196 in (5 mm) | 5 ft-lbs (6.8 N•m) | |
| .236 in (6 mm) | 7 ft-lb (9.5 N•m) | |
| .275 in (7 mm) | 12 ft-lbs (16.3 N•m) | |
| .314 in (8 mm) | 17 ft-lbs (23 N•m) | |
| .393 in (10 mm) | 33 ft-lbs (44.7 N•m) | |
Limited Warranty
General:
Part or model specifications are subject to change without notice.
This Limited Warranty is the only warranty for the product. ALL WARRANTIES OTHER THAN STATED HEREIN ARE DISCLAIMED INCLUDING IMPLIED WARRANTIES OF MERCHANTABILITY AND FITNESS FOR A PARTICULAR PURPOSE, TO THE EXTENT ALLOWABLE BY APPLICABLE LAW. ALL LIABILITY FOR INCIDENTAL, PUNITIVE, SPECIAL, OR CONSEQUENTIAL DAMAGES ARE EXPRESSLY DISCLAIMED, TO THE EXTENT ALLOWABLE BY APPLICABLE LAW.
The only uses for this product are described in this manual. Warranty registration is not required. The Limited Warranty extends only to the original consumer and is not transferable to anyone else.
What does this Limited Warranty cover?
This Limited Warranty covers defects in workmanship and materials for all parts of the product except those indicated below as not warranted.
What must you do to keep the Limited Warranty in effect?
This Limited Warranty is effective only if:
- The product is completely and correctly assembled.
- Product is used under normal conditions for its intended purpose (see the following section for
excluded activities). - The product receives all necessary maintenance and adjustments.
- The product is used for general transportation and recreational use only.
What is not covered by this Limited Warranty?
This product is designed for recreational use only. This Limited Warranty does not cover normal wear and tear, normal maintenance items, or any damage, failure, or loss that is caused by improper assembly, maintenance, adjustment, storage, or use of the product. This Limited Warranty does not extend to future performance.
This Limited Warranty will be void if the product is ever:
- Used in any competitive sport
- Used for stunt riding, jumping, aerobatics or similar activity
- Modify ed in any way
- Modifi ed with the addition of a motor
- Ridden by more than one person at a time
- Rented, sold, or given away
- Used in a manner contrary to the instructions and warnings in this Owner’s Manual
What will The Manufacturer do?
The manufacturer’s sole and exclusive obligation under this Limited Warranty is to repair and/or replace, at its sole option, any covered defect in workmanship or materials.
How do you get service?
Contact the Customer Service Department.
- See included list for Customer Contact information.
What rights do you have?
This Limited Warranty gives you specific legal rights. You may also have other rights which vary from state to state, region to region.
For how long does this Limited Warranty last?
- When used in this Limited Warranty, the phrase “for life” means for as long as the original consumer owns the product.
All components are warranted for 6 months from the date of purchase.
Limited Warranty (Australia)
General:
Part or model specifications are subject to change without notice.
This Limited Warranty is the only warranty for the product. ALL WARRANTIES OTHER THAN STATED HEREIN ARE DISCLAIMED INCLUDING IMPLIED WARRANTIES OF MERCHANTABILITY AND FITNESS FOR A PARTICULAR PURPOSE, TO THE EXTENT ALLOWABLE BY APPLICABLE LAW. ALL LIABILITY FOR INCIDENTAL, PUNITIVE, SPECIAL, OR CONSEQUENTIAL DAMAGES ARE EXPRESSLY DISCLAIMED, TO THE EXTENT ALLOWABLE BY APPLICABLE LAW.
The only uses for this product are described in this manual.
Warranty registration is not required.
The Limited Warranty extends only to the original consumer and is not transferable to anyone else.
What does this Limited Warranty cover?
This Limited Warranty covers defects in workmanship and materials for all parts of the product except those indicated below as not warranted.
What must you do to keep the Limited Warranty in effect?
This Limited Warranty is effactive only if:
- The product is completely and correctly assembled.
- The product is used under normal conditions for its intended purpose (see the following section for excluded activities).
- The product receives all necessary maintenance and adjustments.
- Product is used for general transportation and recreational use only.
What is not covered by this Limited Warranty?
This product is designed for recreational use only. This Limited Warranty does not cover normal wear and tear, normal maintenance items, or any damage, failure, or loss that is caused by improper assembly, maintenance, adjustment, storage, or use of the product. This Limited Warranty does not extend to future performance.
This Limited Warranty will be void if the product is ever:
- Used in any competitive sport
- Used for stunt riding, jumping, aerobatics or similar activity
- Modify ed in any way
- Modified with the addition of a motor
- Ridden by more than one person at a time
- Rented, sold, or given away
- Used in a manner contrary to the instructions and warnings in this Owner’s Manual
What will The Manufacturer do?
The manufacturer’s sole and exclusive obligation under this Limited Warranty is to repair and/or replace, at its sole option, any covered defect in workmanship or materials.
How do you report a problem with this product or submit a warranty claim?
- Contact Customer Service in Australia or New Zealand (See included list for Customer Contact information).
- Warranty claims can be submitted to; Hunter Products Pty Ltd – PH: 1800 224 094 Email: [email protected] – 233 Bay Street, Brighton Victoria, 3186, Australia. The following text is incorporated into this Limited Warranty if this product was purchased in Australia (but it is not incorporated if such product was purchased in New Zealand):
- Our goods come with guarantees that cannot be excluded under the Australian Consumer Law. You are entitled to a replacement or refund for a major failure and for compensation for any other reasonably foreseeable loss or damage. You are also entitled to have the goods repaired or replaced if the goods fail to be of acceptable quality and the failure does not amount to a major failure.
What rights do you have?
This Limited Warranty gives you specific legal rights. You may also have other rights which vary from State to State.
For how long does this Limited Warranty last?
- When used in this Limited Warranty, the phrase “for life” means for as long as the original consumer owns the product.
All components are warranted for 6 months from the date of purchase.
[ USA ] | |
| PLEASE – BEFORE RETURNING TO STORE: Contact Huff y Customer Service. We are glad to assist you with any parts or assembly problems you might have! | |
| For Fast Customer Service and email: www.huffybikes.com/contact OR TEL: 1 800 872 2453 (US) | To Order Parts: www.huffybikes.com/parts |
[ AUSTRALIA ] | |
| For Any Issues with this Product, Contact Customer Service. Hunter Products Pty Ltd Phone: 1800 224 094 233 Bay Street, Brighton Victoria, 3186, Australia Email: [email protected] | Please REGISTER your Product: Veuillez ENREGISTRER l’article! Por favor, REGISTRE su producto: ![]() https://l.ead.me/bb958b |




















